大数跨境
0
0

乾照、瑞丰等公司最新LED专利一览,最后这个爱了

乾照、瑞丰等公司最新LED专利一览,最后这个爱了 MicroLEDDisplay
2023-12-13
0
导读:乾照光电、瑞丰光电、芯瑞达、名家汇也取得了多个LED专利授权,涉及LED外延技术、Mini COB封装、LED车载显示、LED理疗应用等;
临近年末,多家企业的LED相关专利进入到公布/授权的最新状态。此前,利亚德、艾比森、洲明科技、华体科技、卡莱特、士兰微、奥拓电子等企业已纷纷发布了最新LED专利信息。

而在近日,乾照光电、瑞丰光电、芯瑞达、名家汇也取得了多个LED专利授权,涉及LED外延技术、Mini COB封装、LED车载显示、LED理疗应用等。


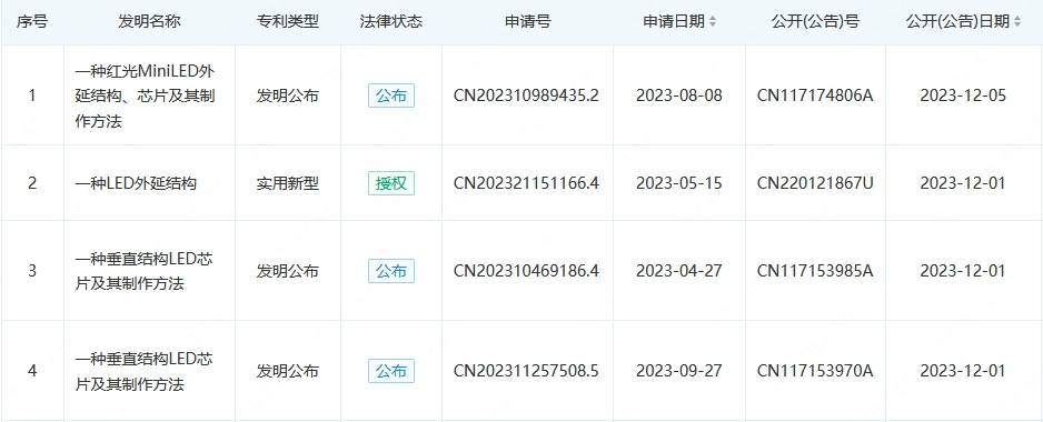
乾照光电:4项LED芯片与外延专利进入公布/授权状态

近日,乾照光电的4项LED专利有最新动态。


其中,“一种LED外延结构”专利获得授权,授权公告号:CN220121867U,公告日12月1日。

该实用新型专利提供了一种LED外延结构,所述N型半导体层至少包括三个N型半导体子层,且至少两个所述N型半导体子层的N型掺杂浓度不一致。进一步地,在所述N型半导体层中,靠近所述衬底一侧的N型半导体子层为N型半导体底层,靠近所述有源层一侧的N型半导体子层为N型半导体顶层,其余的N型半导体子层为N型半导体中间层;

图片来源:企查查官网

至少一N型半导体中间层的N型掺杂浓度低于所述N型半导体底层和/或N型半导体顶层的N型掺杂浓度。使得所述N型半导体层的N型N型掺杂浓度呈高低高的阶梯式分布结构,该结构能够对高压静电起到缓冲的作用,降低了高压静电的破坏力,提升ESD性能,同时避免因有源层的N型掺杂降低而影响ESD性能。

乾照光电还公布了“一种红光Mini LED外延结构、芯片及其制作方法”的专利。专利摘要显示,该发明提供一种红光Mini LED外延结构、芯片及其制作方法,其中Mini LED外延结构包括:堆叠结构,堆叠结构包括依次层叠的第一型半导体层、第一界面层、第一波导层、有源区、第二波导层、第二界面层及第二型半导体层,其中,第一界面层可避免第一型半导体层的掺杂剂扩散导致第一型限制层及第一波导层界面粗化;

第二界面层可避免第二型半导体层的掺杂剂扩散导致第二型限制层及第二波导层界面粗化;同时还可避免第一型半导体层和第二型半导体层的掺杂剂扩散至有源区形成非辐射复合中心,导致可靠性降低的问题;且第一界面、第一波导层、第二波导层及第二界面层皆包括无掺杂的半导体材料层,可有效提升有源区的晶体质量,进而提高内量子效率及光输出功率。

另外,乾照光电还公布了两个关于垂直结构LED芯片及其制作方法


瑞丰光电:三项LED相关专利获授权

近日,瑞丰光电有三项LED相关专利获得授权。


其中“一种透明屏和车辆”专利授权公告号:CN220172153U,授权日期12月12日。

图片来源:企查查官网

该实用新型专利涉及车辆配件技术领域,特别涉及一种透明屏和车辆,该透明屏包括玻璃层和膜层,玻璃层包括至少两层,两层玻璃层之间形成空腔,膜层设置在空腔内,并在空腔内填充有封装胶;膜层包括基板和设置在基板上的LED芯片,基板内布设有导电网格线并与LED芯片电气连接;

即在夹层玻璃层之间设置膜层,并灌设封装胶以完成透明屏的封装,结构简单,通过玻璃层降低对膜层显示效果的影响,而结合封装胶增强了透明屏的结构强度,提高了耐用性;而基板内的布线采用导电网格线能够隐藏式地实现电气线路连接,降低按照一般情况布设内部线路对透明度的影响,提高透明屏的显示效果,且膜层的整体设置配合封装胶使透明屏更加坚硬耐用,减少透明屏碎裂风险。

一种闪光灯光源结构及灯板”:该专利授权公告号:CN220172155U,授权日期12月12日。

该实用新型专利涉及LED显示技术领域,特别涉及一种闪光灯光源结构及灯板,该闪光灯光源结构包括基板和设置在基板上均匀分布的多个LED芯片,LED芯片远离基板的一侧覆盖有封装层,封装层远离基板的一面盖设有透镜;
该实用新型专利涉及LED显示技术领域,特别涉及一种闪光灯光源结构及灯板,该闪光灯光源结构包括基板和设置在基板上均匀分布的多个LED芯片,LED芯片远离基板的一侧覆盖有封装层,封装层远离基板的一面盖设有透镜;

图片来源:企查查官网

界定透镜远离基板的一端为顶部,顶部朝远离LED芯片方向隆起;即基板、LED芯片、封装层和透镜依次设置为一个多层结构,而透镜的顶部隆起类似半圆状设计,当LED芯片发光时,通过封装层作一次透射,透镜作二次透射,以提高闪光灯光源结构的显示效果,从而提高视觉效果;且封装层既能将LED芯片粘接于基板上,也能增加透镜盖设的稳定性,还能保护LED芯片,避免水汽进入而影响LED芯片发光。

一种封装结构和灯板”:专利授权公告号:CN220155560U,授权日期12月8日。该实用新型专利涉及LED照明技术领域,特别涉及一种封装结构和灯板,该封装结构包括基板、设置在基板上的LED芯片和透镜,透镜盖设于基板上并将LED芯片封装;

图片来源:企查查官网

透镜朝向LED芯片的一侧开设有让位槽,让位槽内填充有胶水,LED芯片包裹于胶水内,即透镜设计为带有让位槽的透镜用于均匀并扩大发光面积,而LED芯片发出的光线在胶水与透镜界面、透镜与空气界面发生两次折射,扩大出光角度,使整个封装结构在原有OD的情况下增大LED间距,从而减少LED芯片和胶水用量,降低成本,保障产品的显示效果;胶水既能增加透镜贴装的稳定性,还能保护LED芯片,避免水汽进入影响LED芯片发光。


芯瑞达:5项LED专利获授权

近日,芯瑞达有5个与LED相关的实用新型专利获得授权,分别是“一种光效均一的LED背光源”、“一种PCB板焊盘锡膏涂抹装置”、“一种基于miniCOB封装的复合透镜”、“一种LED灯板贴反射纸装置”、“一种镀膜治具”。


其中,“一种光效均一的LED背光源”的专利授权公告号:CN220138314U,授权日期12月5日。

该专利公开了一种光效均一的LED背光源,包括导线架,所述导线架上端通过固晶胶固定安装有蓝光晶片和绿光晶片,所述蓝光晶片和绿光晶片均通过金线与导线架相连,且所述蓝光晶片和绿光晶片之间通过金线相连;

图片来源:企查查官网

所述蓝光晶片和绿光晶片外周封装有封装胶,所述封装胶外侧设置有封装透镜,所述封装透镜上设置有红色荧光粉;本实用新型蓝光和绿光晶片的封装可提高色域,无需搭配混有荧光粉的封装胶水,搭配带有荧光粉的透镜可以解决了灯珠散热导致光效一致性变差问题,提高了画面均一性,白光光效均一性更好,且不会随着时间的改变而变化。

一种基于miniCOB封装的复合透镜”的专利授权公告号:CN220138342U,授权日期12月5日。

图片来源:企查查官网

该专利公开了一种基于miniCOB封装的复合透镜,涉及LED晶片封装技术领域,包括基板,所述基板上设置有用于安装晶片的安装点位,所述晶片通过锡膏固定安装在基板的安装点位上;所述基板上设置有硅胶,所述硅胶完全覆盖在所述晶片的外侧;

所述基板上设置有微透镜,所述微透镜上设置有晶片孔,所述晶片孔底部设置有胶孔;本实用新型通过UV胶与mini透镜结合形成复合透镜,对晶片进行密封保护和调节光形,使出光更均匀。改变微透镜单一的现状,可以是折射式也可以是反射式,对一致性也能很好的调节。


名家汇:一种红光LED理疗袜专利

近日,名家汇的“一种理疗袜”发明专利获得授权,授权公告号:CN108835720B,授权日期12月12日。

本发明公开了一种理疗袜,包括:袜子本体,所述袜子本体设置成夹层式;若干红光LED芯片,设置在所述袜子本体的中间夹层上,且分别对应人体足部的若干穴位;微型电源,设置在所述袜子本体的中间夹层上,且与所述若干红光LED芯片连接,用于控制红光LED芯片发出红光,并作用于红光LED芯片对应的穴位。


本发明通过在袜子内对应人体足部的各个穴位设置红光LED芯片,通过红光LED芯片发出红光来对穴位进行刺激,对穴位进行按摩,促进血液循环,起到理疗与保健的作用。

来源:LEDinside

总投资30亿!全球首条TFT基Micro LED产线明年量产

有反转?万福达、新益昌固晶机专利案最新进展跟踪

华为与长安汽车达成合作,涉及AR-HUD与智能车灯等

扫码关注我们

查看更多精彩内容

 

加入MicroLED交流群

与上万+业内朋友在一起


【声明】内容源于网络
0
0
MicroLEDDisplay
横跨LCD、LED和半导体三大领域,覆盖Mini/Micro LED显示终端应用、面板、封装、芯片/驱动IC、材料、装备等上中下游。提供显示行业新闻与技术趋势、分析报告、企业数据等,快速呈现显示行业动态与趋势!
内容 3790
粉丝 0
MicroLEDDisplay 横跨LCD、LED和半导体三大领域,覆盖Mini/Micro LED显示终端应用、面板、封装、芯片/驱动IC、材料、装备等上中下游。提供显示行业新闻与技术趋势、分析报告、企业数据等,快速呈现显示行业动态与趋势!
总阅读949
粉丝0
内容3.8k