近日,三星电子、隆利科技、兆驰股份、奥拓电子、诺瓦星云相继公布最新LED相关专利,涉及Micro LED、LED指纹应用、LED显示屏、LED背光、xR虚拟现实应用、LED控制系统等技术内容。

三星电子
据国家知识产权局公告,三星电子株式会社取得一项名为“显示模块、包括显示模块的显示装置和制造显示模块的方法“,授权公告号CN113167458B,申请日期为2019年12月。
专利摘要显示,专利公开了一种显示模块。显示模块包括:基板;多个微型发光二极管(微型LED),设置在基板上并且被配置为辐射光;反射层,围绕多个微型LED中的每一个微型LED的侧表面;以及阻光层,设置在反射层上。

图片来源:国家知识产权局
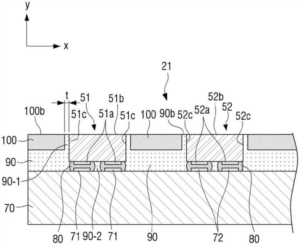
隆利科技
隆利科技取得一项名为“Micro-LED显示装置及电子设备”,授权公告号CN111146232B,申请日期为2019年12月。专利提供一种超薄、广色域且高动态对比度的显示装置,同时改善面光源均匀出光,提高光的利用效率。

图片来源:国家知识产权局
信息显示,该发明公开了一种Micro LED显示装置,其包括蓝光LED光源矩阵、PCB驱动板、量子点扩散膜。PCB驱动板,在该PCB驱动板上电性安装蓝光LED光源矩阵。量子点扩散膜,其设置在蓝光LED光源矩阵的上方。蓝光LED光源矩阵形成i个相邻行和j个相邻列的第一像素排列,其中i和j是等于或大于2的整数;量子点扩散膜包括高扩散率结构,其设置于量子点扩散膜的入光面。
另外,隆利科技还公开了一项名为“指纹识别背光模组及电子设备”专利,授权公告号CN110515238B,是一种用于LCD指纹识别的背光模组及电子设备。背光模组包括LED光源、光学膜片组和红外光指纹识别传感器。

图片来源:国家知识产权局
兆驰股份
兆驰股份取得一项名为“前框、直下式背光模组以及液晶显示装置“,授权公告号CN110456569B,申请日期为2019年8月。专利可减小显示装置实现壁挂时与墙体的距离。
专利摘要显示,本发明公开一种前框、直下式背光模组以及液晶显示装置,其中,该前框应用于直下式背光模组,所述直下式背光模组包括背板,所述前框包括:前框本体;和固定部,所述固定部凸设于所述前框本体的内侧壁,所述固定部设有用于固定所述前框的贯穿孔。本发明技术方案的前框应用于显示装置时,能减小显示装置实现壁挂时与墙体的距离。
奥拓电子
奥拓电子近期公布多个LED专利,包括:“ 一种XR扩展现实的相机标定方法、装置和系统 ”、“一种柔性LED显示模组及显示屏”、“一种LED显示屏色差快速校正方法、系统和电子设备”、“一种LED显示模组及显示屏”、“ 一种虚拟投屏方法、装置和电子设备 ”。
其中,“一种柔性LED显示模组及显示屏”,授权公告号CN117975814A 。该专利可实现三维弯曲显示屏,且曲面效果佳,显示效果高,能够满足虚拟显示或元宇宙领域的显示需求。
具体来看,该专利是一种柔性LED显示模组,包括:LED灯珠,柔性PCB板,柔性基体;所述柔性PCB板设置在所述柔性基体的一面上,所述LED灯珠设置在所述柔性PCB板上,所述柔性基体的结构呈三角状。其中柔性基体的三角状包括三角格子单元。LED显示模组沿着三角格子单元间的凹槽翻折弯曲,实现了三维弯曲。

图片来源:国家知识产权局
诺瓦星云
诺瓦星云公布多个LED显示相关专利,包括:“一种箱体均匀性校正的校正参数确定方法、装置和设备”、“一种显示屏的显示控制方法、装置以及系统”、“显示单元的校正方法、装置、设备、系统和可读存储介质”。
其中,“一种箱体均匀性校正的校正参数确定方法、装置和设备”,授权公告号CN117975908A,该专利提供一种箱体均匀性校正的校正参数确定方法、装置和设备,具体方法如下图。

“一种显示屏的显示控制方法、装置以及系统”,授权公告号CN117971146A。专利提供了一种显示屏的显示控制方法、装置和系统,可提高用户与显示屏之间信息交互的灵活性,并且提高操作效率,提高用户的使用体验。具体专利如下图所示。

“显示单元的校正方法、装置、设备、系统和可读存储介质”,授权公告号CN117975875A。该专利提供了一种显示单元的校正方法、装置、设备和可读存储介质,提升显示校正效果。具体方式如下图。

来源:LEDinside


扫码关注我们
查看更多精彩内容
加入MicroLED交流群
与上万+业内朋友在一起

