大数跨境
0
0

AR眼镜商雷鸟创新获最新融资

AR眼镜商雷鸟创新获最新融资 MicroLEDDisplay
2025-08-12
0

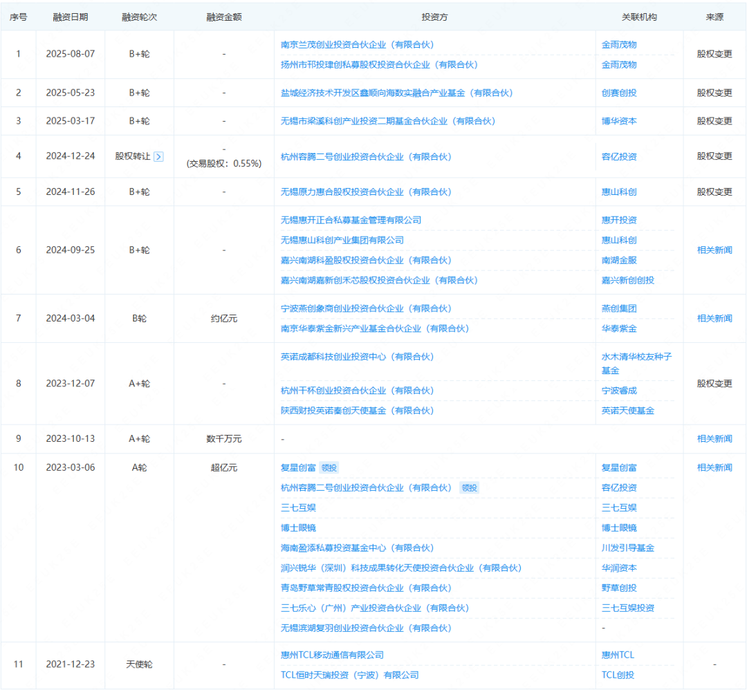
相关媒体报道,AR眼镜企业雷鸟创新在近日完成C++轮融资,由金雨茂物投资。据LEDinside不完全统计,从2021年至今,雷鸟创新已完成约10轮融资,投资方包括博士眼镜、三七互娱、TCL等知名企业。


图片
雷鸟创新融资动态(信息来源:企查查)

资料显示,雷鸟创新创立于2021年TCL电子内部孵化,公司在近眼显示光学设计、自研AI算法模型以及多模态人机交互等领域拥有丰富经验。目前,雷鸟创新已成为AR眼镜市场的主要玩家之一,相关行业数据显示,在今年一季度,雷鸟创新在AR眼镜市场的份额达到了50%。

在产品方面,雷鸟创新面向消费级AR眼镜市场已形成了XAirV系列三大产品线采用Micro LED、Micro OLED微显示技术,覆盖日常使用、沉浸式影音、AI拍摄三大场景

今年5月,雷鸟创新发布了最新旗舰AR眼镜雷鸟X3 Pro搭载了双目全彩MicroLED光波导显示技术,产品在AI体验、场景应用、人机交互、空间感知、轻量化设计等方面都具有明显提升。

另外,雷鸟创新还发布了雷鸟Air 3s系列采用苹果iPad Pro同源双层OLED技术具有1200nits入眼亮度,20档亮度调节,能够实现等效4米远135英寸屏幕的显示效果。

产能布局方面,雷鸟创新位于嘉兴南湖的雷鸟光学智造工厂正式投产。该工厂未来将承担光学仿真、光机模组设计及自动化设备等研发任务,预计年产光机模组可达105万套。

另外,雷鸟创新XR整机研发制造总部也在去年签约无锡,其中一期项目预计今年可陆续完工投产。一期项目达产后,XR整机产品预估实现年产能约35万台。预计5年内全面达产,达产后将实现年产100万台XR整机的生产能力,年产值将超20亿元。

来源: LEDinside




新相微终止收购爱协生100%股权

2025-08-11

总投资25亿元,青岛融合MiniLED项目规划调整

2025-08-11

友达、群创公布2025年7月营收

2025-08-11

重磅!牵手Haylo与Plessey,歌尔股份1亿美金布局AR显示Micro LED技术

2025-08-11

扫码关注我们

查看更多精彩内容


加入MicroLED交流群

与上万+业内朋友在一起

喜欢本文请点赞分享一下吧!

【声明】内容源于网络
0
0
MicroLEDDisplay
横跨LCD、LED和半导体三大领域,覆盖Mini/Micro LED显示终端应用、面板、封装、芯片/驱动IC、材料、装备等上中下游。提供显示行业新闻与技术趋势、分析报告、企业数据等,快速呈现显示行业动态与趋势!
内容 3790
粉丝 0
MicroLEDDisplay 横跨LCD、LED和半导体三大领域,覆盖Mini/Micro LED显示终端应用、面板、封装、芯片/驱动IC、材料、装备等上中下游。提供显示行业新闻与技术趋势、分析报告、企业数据等,快速呈现显示行业动态与趋势!
总阅读80
粉丝0
内容3.8k