
据Apple Insider北京时间7月17日报道,苹果正在考虑安装传感器、指示灯、开关和其他元器件的新方法,以开发柔性显示屏等设备和部件,其中包括把元器件安装到弹性基板上——能够在元器件之间传输数据。
美国专利和商标局当地时间星期二向苹果授予的这项专利——带有柔性输入/输出元器件的电子设备,描述了把可伸缩和可变形的基板用作设备电路板的方法。不同于传统刚性电路板的是,新型基板将具有弹性,因此不会受到形状限制,能在多个方向上伸展。
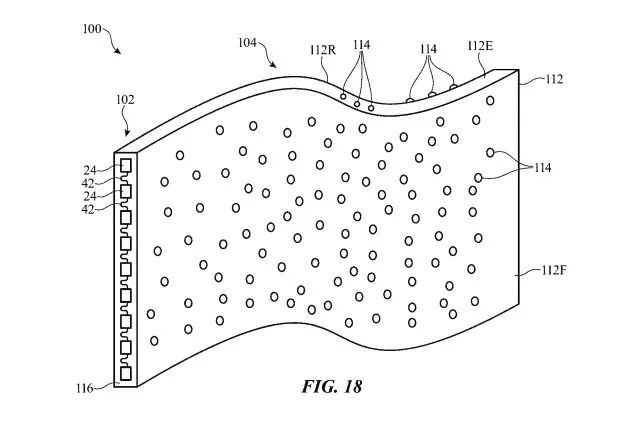
新型基板在安装元器件的地方之间有信号通路,在不同通路间添加孔,以打造某种形式的网格,使之适应预期的设计美学。信号通路的间隙可以非常小,以提高材料利用率,降低重量,获得更高的可伸缩性。
元器件可以通过预留的插入器安装到基板上,插入器使信号可以传输给与之相连的元器件。


来源:Apple Inside
至于元器件本身,苹果称可以包含各种传感器,以及LED和荧光材料。专利申请材料还指出,利用这种基板能开发柔性,甚至可伸缩的显示屏。
苹果最初在2016年10月17日申请了这项专利。
过去,苹果曾多次探索柔性显示屏的可行性,最近数年申请了大量相关专利。苹果本月早些时候获得的一项专利,阐述了把柔性显示屏完好无损地安装到可弯曲手机中的方法。
苹果还大力投资Micro LED显示技术。Micro LED显示技术可以用于柔性显示屏,而且节能、能降低显示屏厚度。
2017年10月,有传言称苹果在与LG合作,2020年推出配置可折叠OLED显示屏的iPhone。当时,美林分析师瓦姆西·莫汉(Wamsi Mohan)发布投资报告,预测了相似的折叠屏iPhone发布时间,并揣测称这样的硬件“还可以用作平板电脑”,使得用户无需拥有两款移动设备。
苹果向美国专利和商标局申请大量专利,被授予专利并不意味着苹果在积极地开发使用其专利技术的产品。即使如此,申请的专利数量,以及泄露的苹果竞争对手的概念设计,意味着配置柔性显示屏的智能手机将在未来数年问世。
来源:Apple Inside
点击“阅读原文”,查看更多LED行业资讯
↓↓↓


