
苹果两项Micro LED技术相关专利公布
Patently Apple消息显示,美国专利商标局(the US Patent and Trademark Office)最近公布苹果获得几项新专利,其中,有两项分别关于Micro LED芯片转移和结构,还有一项关于搭配全息元件的头戴式系统。
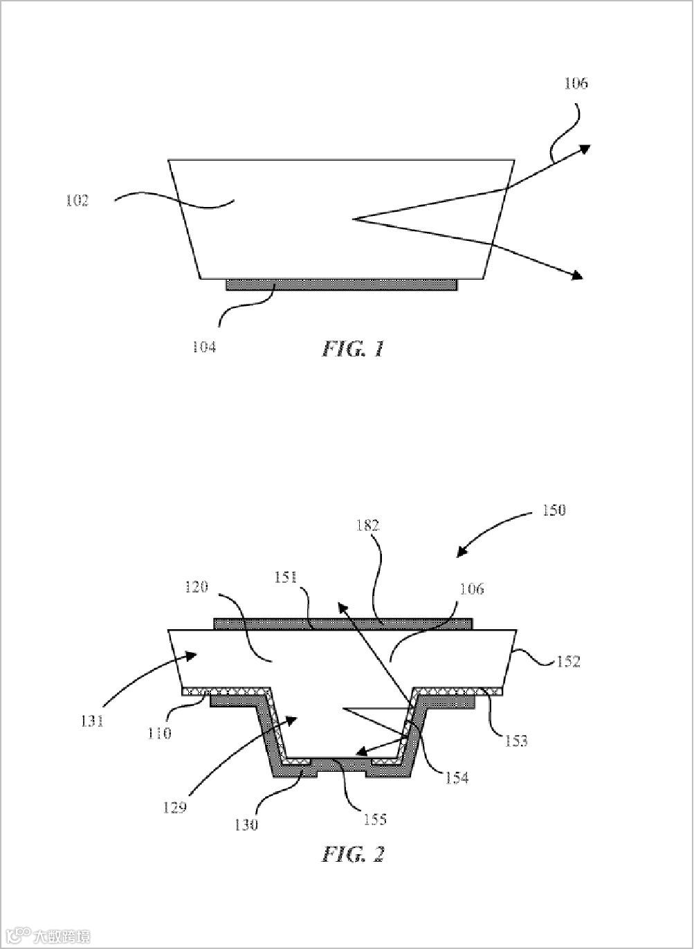
关于Micro LED转移技术的专利名称为《Micro LED显示屏》(Micro LED Display),展示了一种Micro LED结构,此结构在粘合层与微p-n二极管之间具有金属薄膜层,还有一层共形的芯片阻挡层。这种结构使得芯片在转移的过程中能够实现相变,并使Micro LED芯片能够在接收基板上进行接合。

图片来源:美国专利商标局
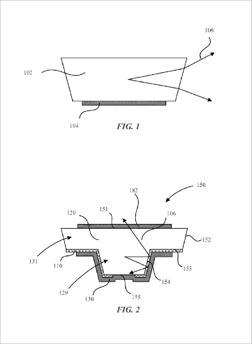
另外一项专利名为《搭配金属侧镜的微发光二极管》(Micro-light Emitting Diode with Metal Side Mirror),展示了一种LED结构,此结构包含一种从基础结构突出并被反射金属化包围的台面结构。

图片来源: 美国专利商标局
上述两项专利描述了包含金属层的Micro LED结构能够实现进一步转移和组装到目标接收基板上。这是Micro LED显示屏最具挑战性的生产过程之一,而这两项专利则证明了这一技术的突破。
此外,苹果亦获得了一项关于头戴式系统的专利,如包含可投影全息图像光学元件的智能眼镜。苹果称,智能眼镜上的全息投影系统能够应用于驾驶员辅助系统(driver assistance system)。
据悉,苹果一直在加速推进AR技术,包括软件和设备开发。Micro LED显示器也有望与苹果的AR技术相结合。
京东方Micro LED巨量转移技术发明专利公布
由于Micro LED技术难度较高,至今大部分产品还处于样品阶段。其中巨量转移是一道难以逾越的关卡。因为转移Micro LED的过程较繁琐,导致Micro LED显示面板的制备过程复杂且制备效率较低。
近期,国家知识产权局公布了京东方《微型LED的转移设备、显示基板的制造系统及制造方法》发明专利申请。

从该发明专利申请可以看出,京东方提出了一个更加高效的巨量转移方案——主体结构上阵列设置有多个磁吸单元,且该多个磁吸单元的排布方式与阵列基板中多个指定像素区域的排布方式相同,每个磁吸单元可以吸附一个微型LED。
该转移设备可以同时吸附多个微型LED ,并将吸附的多个微型LED一次性向阵列基板转移 ,因此与相关技术相比,简化了显示基板的制备过程,提高了显示基板的制备效率。
来源:LEDinside、AVC产业链洞察
封面来源:拍信网正版图库
▼ 点击“阅读原文”,加Micro LED产业研究群!


