一、电子纸的概念
电子纸也叫数码纸,在失电后仍能保持原有画面,具有一定的记忆能力,具备传统纸张的大部分功能。
电子纸基材主要为聚酯类化合物,表面涂布电路,通过外加电场的变化来控制电路中电子胶囊的移动距离,进行文字图像的变换,电子纸具有低功耗和可折叠弯曲功能,画面显示细腻和可视角度宽、在阳光下可视效果好,没有死角。
二、电子纸的应用
传媒
电子纸可用作柔性显示,尤其是在家居装饰、影院公告、商场标签、马路横幅、医药电子标码等方面,可弥补传统纸质展示的不足,避免日光直射造成褪色的问题,也很好地达到了绿色环保的要求,电子纸的展示内容可远程遥控,智能更新,此款产品是数码信息技术和静态媒体技术的结合载体。
2016年,首个依靠太阳能供电的电子纸交通标志在悉尼诞生,其采用3G技术更新内容,只有在更新时才耗电。
数字出版
随着互联网技术的迅猛发展,人们的阅读习惯己经从传统书转向电子书籍,而电子纸则以其更加轻便的特点挤入市场,电子纸可为报业集团和消费者带来个性化的服务,可以通过网上订购、云端传送实现按需出版。
近年来,随着电子阅读的大众化,国内外众多出版物已经停止发行纸质版,转向提供电子化阅读服务,无纸化办公和电子政务越来越受到企业的青睐。
消费电子产品
电子纸超薄、超轻、柔软的特性可使电子产品富于美感和视觉震撼力,2005年,精工EPSON在“BaselWorld”上推出一款电子手表,该产品轻薄如纸,可利用近场通信技术短程智控,整块表可以紧密地贴在手腕的皮肤上,可以根据主人的喜好和选择变幻图案。
三、电子纸的显示原理
在具有电子纸特性的现实技术研究上,以各种具有双稳态特性的反射式显示技术为主,常见的类型包括电泳显示、旋转球显示、双稳态液晶、电湿润显示和快速应答电子粉流体显示等技术,其中电泳显示技术发展最为迅速,并且由此开发的产品也已经推向市场。
电子纸主要由面层、底层以及中间层构成,中间层内有数万个微小的油墨粒子,这些油墨粒子分布在透明的基液中形成悬浮体系,每一个油墨粒子直径约为100μm,且表面易吸附电荷,这些能够感应电荷的微粒可以在外加电场的作用下运动。
元太科技开发的微胶囊电子油墨技术的核心物质是电子油墨,其主要由两部分组成:黑色染料和白色带电的二氧化钛电泳颗粒。
电子颗粒悬浮在色料中,均匀排列并做随机运动,共同被透明的胶囊外壳包裹,在外加电场作用下,白色颗粒能够感应电荷向不同方向运动,白色颗粒聚集的一面就可以显示出白色,相反一面显示染料的颜色,即黑色,电子纸便利用这个原理实现文字和图像的颜色转换。
一直以来,电泳电子纸作为大量运用于电子书的显示技术,却只能呈现黑白显示。在全世界范围内,彩色电子纸显示技术并未走出实验室,也未能实现量产。
从黑白到彩色的进步,需要克服的技术难度呈几何级增加,在材料的组合、颜色的控制和软硬件的兼容等方面都需要很大的突破。
对于电子纸彩色显示技术,目前国内外众多创新主体都在紧锣密鼓的进行研究开发,广州奥翼电子科技、三星和京东方的专利布局数量更多,紧随其后的是天马微电子、元太科技、凡达讯科技和达意科技。另外,韩国电子通信研究院,爱普生和国华光电也有一定量的专利布局。
下面介绍一下相关创新主体实现电子纸彩色显示的方法。
A. 广州奥翼电子科技有限公司
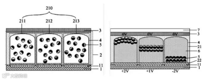
微胶囊电泳电子纸彩色显示屏包括透明导电层、驱动基板、设置于透明导电层与驱动基板之间的微胶囊电泳显示层。
微胶囊电泳电子纸彩色显示层包含由微胶囊形成的若干个均匀、规则排列的彩色像素显示单元;每个彩色像素显示单元由三种颜色基本像素显示单元成“︱︱︱”形排列设置构成;三种颜色基本像素显示单元各自包括颜色微胶囊,三个各自的颜色微胶囊中依次包含有红色,绿色和蓝色带电颜料粒子以及电泳液,通过驱动微胶囊电泳显示层来实现不同的颜色显示。

B. 京东方科技有限公司
电子纸包括显示层,显示层的子像素单元包括:
空腔结构、位于空腔结构内的电泳液、以及分布于电泳液中的反光粒子。
对于反光粒子:
● 红色子像素单元的反光粒子一半区域为红色,另一半区域为黑色,红色区域为带电区域;
● 绿色子像素单元的反光粒子一半区域为绿色,另一半区域为黑色,绿色区域为带电区域;
● 蓝色子像素单元的反光粒子一半区域为蓝色,另一半区域为黑色,蓝色区域为带电区域。
在进行显示时,由于反光粒子一半为红色(或绿色、蓝色),一半为黑色,且红色(或绿色、蓝色)的一半带电,进而在像素电极与透明电极之间形成电场时,可以根据形成的电场方向使反光粒子的红色(或绿色、蓝色)面朝向显示的一面,进而实现对照射到反光粒子的外界光进行反射。
而且,根据形成的电场强度的大小,反光粒子还可以移动到空腔结构的不同位置,实现对外界光不同强度的反射,进而以实现使电子纸的彩色显示。

C. 天马微电子科技有限公司
电子纸显示面板包括多个呈矩阵排列的像素单元、相对设置的第一基板和第二基板,以及位于第一基板上的第一壁垒层,第一壁垒层内设置有第一和第二电浆注入通道,第一和第二电浆注入通道均为梳状,电浆注入通道梳柄部和多个第二梳齿部,电浆注入通道内设置有电浆,电浆包括不同色彩的彩色显色粒子,使得与第一电浆注入通道对应的像素单元能够显示第一色彩,与第二电浆注入通道能够显示第二色彩,进而使得具有该电子纸显示面板的电子纸显示装置能够进行彩色显示。

D. 国华光电科技有限公司
一种全新的基于油/水两相介电电润湿体系的反射式电润湿显示原理。
该显示器件的光学层叠结构由白色反射基板、疏水介电层、彩色油墨和水组成,在未加电的平衡态,彩色油墨在疏水介电层与水之间形成连续铺展膜,施加电场能打破原系统的能量平衡,水将取代油墨与介电层表面形成润湿接触。
即光学上推动油墨的收缩,露出白色背板,外加电压大小决定了对应的静电力与毛细力的平衡位置,即实现了对显示灰度的控制,可通过油墨颜色调控来显示像素预期的色彩,从而获得多彩的显示效果,可显示彩色图像和视频。
四、技术方案
主要有以下几种技术方案:电泳显示技术(EPD)、胆固醇液晶显示技术(Ch-LCD)、双稳态向列项液晶技术(Bi-TNLCD)、电润湿显示技术(EWD)、电流体显示技术(EFD)、干涉调制技术(iMod)。其中,电泳显示技术最具代表性,已量产多年,工艺成熟、成本低、性能高,与传统纸张形态最为接近。
1、微胶囊电泳显示
电泳显示技术,是类纸式显示器较早发展的显示技术,基本原理是利用外加电场控制液体内部的带电粒子的运动,当粒子运动到某一位置时,呈现不同颜色的显示效果。
微胶囊电泳显示材料涂布前是一种液态材料,被形象地称为电子墨“水”。在这种液态材料中悬浮着成百上千个与人类发丝直径差不多大小的微囊体,每个微囊体由正电荷粒子和负电荷粒子组成。当微囊体两端被施加一个负电场的时候,带有正电荷的白色粒子在电场的作用下移动到电场负极,带有负电荷的粒子移动到微囊体的底部“隐藏”起来,这时表面会显示白色,反之就显现为黑色,使电子墨水显示需要的图像和文字。
2、微杯电泳显示
其显示原理与微胶囊式基本相同,不同之处在于将含带电粒子的溶液封装在特制的微型杯中,而不是胶囊里。通过对该分散体系施加和切换电场使带电粒子在微型杯中产生电泳实现图像显示。将白色带电粒子与电介质液体封装在微杯中,微杯结构将电泳液分隔成细小的独立单元,有效地预防了电泳液的外漏以及微粒的位移。微杯结构具有造型上的任意性,结构完整性和机械稳定性的优点,在弯曲、卷曲、受压的情况下显示性能优异,侧面不需要使用密封胶,可备裁切成任意需要的尺寸和形状,电泳显示时邻近区域的电泳液不会相互混合或者交叉干扰。另外微杯结构使带电粒子具有较均匀的运动空间,并且微杯的高度比较一致,比较容易实现三种(或者多种)粒子的控制显示,目前已经有采用三色粒子(红,黑,白)的产品量产,并且全彩的原型机也已经展出。
3、胆固醇液晶显示
该技术的研发机构包括美国Kent Display、日本富士通、日本富士施乐等公司以及中国台湾的工业技术研究院。胆固醇液晶为一种呈螺旋状排列的特殊液晶模式,是通过在向列型液晶中加入旋光剂来达到特殊排列结构,并利用胆固醇液晶分子在不同电位下呈现的“反射”与“透过”两种不同偏极光旋转状态来达到显示效果。胆固醇液晶属于反射式显示器,利用外界环境光源来显示影像,无需背光源,同时具有双稳态特性,所以胆固醇液晶显示技术同样非常省电。同时,该技术可以通过添加不同旋转螺距的旋光剂,调配出红、绿、蓝等颜色,以满足彩色化显示的需求。由红、绿、蓝三层胆固醇液晶薄膜堆叠而成,通过外界光反射,显示彩色颜色。该技术的缺点是驱动电压较高(30 ~ 45 V),不易做出柔性产品。目前该技术大规模应用于手写板产品,比较常见的是Boogie Board。
4、电润湿显示(E-WET)
电润湿显示技术利用绝缘膜能够在电压控制下从疏水性转为亲水性的性质,控制每一个面板下的电压来调节颜色。在面板下铺设反射膜能够将其作为类似于电子墨水屏的反射型显示屏,其反射率可高达50%以上(E-ink carta反射率为44%)。飞利浦于2002年发布了该技术的专利,由Liquavista公司进行产业开发。三星于2011年买下此公司,两年后因为需求减少以及成效不明显,出售给亚马逊。据消息透露,亚马逊计划运用Liquavista技术推出彩色Kindle电子书,将产品市场化。
不同于电泳墨水屏,电润湿显示的刷新速度可以达到观看视频的要求。其亮度为LCD的三到四倍,却更为节能,为产品提供更长的使用时间。旗下产品有三种:Liquavista Bright:黑白屏幕,高对比度,刷新速度足以观看视频。类似墨水屏,主要用于电子书。Liquavista Color:彩色屏,适用于视频播放,读书,杂志,查看图片等。LiquavistaVivid:结合黑白与彩色屏为一身,有黑白模式(更适合阅读)与彩色模式(更适合视频图片观看)。高亮度,高对比。
5、电子纸生产中的印刷技术
在目前主流的电泳显示生产中,涂布是非常重要的工艺。图表94是微胶囊的电泳显示器的结构图,在该器件中,电子墨水层处于前公共电极和底部像素电极之间。通常的生产方式是先将电子墨水涂布到薄膜上,涂布方式包括:狭缝涂布,丝网涂布,喷墨打印涂布,刮刀涂布,喷涂等等。通常对涂布机的精度要求比较高,要求能够做到+/- 1um的涂布精度。

微胶囊电泳显示器结构图
为了控制生产成本,根据电泳显示材料的特性,目前微胶囊电泳显示薄膜采用卷对卷的涂布方式,可以快速生产出符合产品应用需求的显示材料。
另外,电子纸的很多配套材料,例如保护膜,也是采用卷对卷的印刷工艺。包括未来的柔性TFT衬底,也有可能采用印刷工艺进行生产。
五、未来展望
现阶段电子纸市场定位为代替纸张、印刷品,不与多媒体竞争,并非取代LCD等显示器,但未来的研究趋势必然朝着降低成本、提升响应速度、全彩色化、柔性等多个方向发展。目前全球能够批量生产电子纸的厂商仅有美国E-INK(1999年被台湾元太PVI兼并,目前改名EIH)和广州奥翼电子科技有限公司两家,都是采用电泳显示技术。
a ) 成本降低
电泳显示技术尤其是微胶囊显示技术由于制作工艺简单和卷到卷的涂布方式,类似于纸张生产,良率可望逐年提升。随着产量和良率同步提高,必将使电子纸显示器成本逐年降低。电子纸显示器的价格走势必将与其它电子产品一样逐年降低,随着价格的不断下降,各种新兴应用将会出现。
b ) 提升响应速度
为了满足双稳态的性能需求,电子纸显示技术牺牲了响应速度,用于显示的更新时间较长,长达几百毫秒,这个速度对视频应用是不够的。随着技术的发展,越来越快响应的电子纸材料已经出现,目前已经可以做到几十毫秒,将来有机会进一步提升,满足客户需求。
c ) 全彩色化
目前彩色电泳显示电子纸可以通过两种方式实现,一种采用彩色滤光片加黑白电子纸,另一种采用彩色粒子或染料,都已制作出样品。由于依赖反射光来成像,电子纸屏看起来有些暗淡,与液晶屏的亮度和色彩准确度相比还有差距。因此彩色化是电子纸技术革命性的突破,目前已经投入大量的人力物力在研发,相信不久的将来就可以看到彩色的电子纸显示器。
d ) 柔性化
正如一般的读者并不期望把书卷起来,采用柔性电子纸显示屏的主要目的不是为了可以卷起来,而是为了便携和耐冲击。柔性电子纸显示屏可选择塑料基板作为背板。采用塑料基板的电子纸重量较玻璃材质减轻80%左右,厚度仅0.3 mm,十分符合轻薄、耐冲击等需求。然而塑料基板需克服的最大难题则在于材料的耐热及耐化性,需持续改良基板材料。
小 结
电子纸作为大量运用于电子书的显示技术,只能呈现黑白显示,目前彩色电子纸显示技术还未能实现成熟的产业化。
从专利布局角度看,众多创新主体正积极进行彩色电子纸显示技术的布局,随着彩色电子纸技术的研究日趋成熟,实现彩色电子纸显示技术的成熟产业化指日可待。
彩色电子纸在切断电源的情况下,还可以持续显示半年时间,屏幕的响应速度为0.1s,其预计价格为同等面积OLED显示屏的1/6,未来可大量应用于电子教科书、电子价格标签、室内外广告、智能穿戴、智能家居等领域,商业应用潜力巨大。
转自:BOE知识酷
来源:超凡知识产权、柔性电子与智能包装
封面来源:拍信网正版图库
▼ 点击“阅读原文”,加Micro LED产业研究群!



