搜索
首页
大数快讯
大数活动
服务超市
文章专题
出海平台
流量密码
出海蓝图
产业赛道
物流仓储
跨境支付
选品策略
实操手册
报告
跨企查
百科
导航
知识体系
工具箱
更多
找货源
跨境招聘
DeepSeek
首页
>
微软最新Micro LED显示技术专利曝光
>
0
0
微软最新Micro LED显示技术专利曝光
近眼显示
2023-10-27
2
导读:点击查看详情 >
据报道,微软申请了一项新专利,旨在开发一种Micro LED显示解决方案,以增强虚拟现实、增强现实和混合现实(VR/AR/MR)体验。
MS Power User的一份报告显示,微软的最新专利旨在改进其HoloLens 2等设备的功能,这表明其研发工作有可能重新开始。
HoloLens 2
其中,微软提交的显示技术专利延续了
US11688333B1
的创新,微软于6月份提交了该专利,美国专利商标局于10月19日批准了该专利。
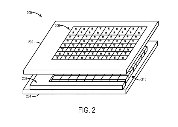
专利摘要写道:显示基板包括构成单个像素的Micro LED阵列。背板基板包括多个像素逻辑硬件模块。每个像素逻辑硬件模块包括一个本地存储元件,用于存储图像帧中相应Micro LED的多位像素强度值。背板基板被粘合到显示基板的背面,使像素逻辑硬件模块在物理上排列在Micro LED阵列的后面,每个像素逻辑硬件模块与相应像素的Micro LED电连接。
报道还称,微软将探索使用
Micro LED
显示屏来规避波导技术的一些问题,包括“
尺寸和视觉质量不佳
”
。此外,使用
Micro LED
显示屏可以缩减HoloLens设备的外形尺寸,同时提高头显的成像质量。
此前有几项专利显示,微软为即将推出的AR智能眼镜设备申请了热插拔电池专利,这表明微软正努力重振其传闻中的AR头戴式显示器。
XRTODAY
- END -
相关报告
更多Micro LED显示深入行情,点击了解TrendForce集邦咨询最新出刊的《2023 Micro LED市场趋势与技术成本分析报告》。
< 关注我们 >
【声明】内容源于网络
0
0
近眼显示
TrendForce集邦咨询旗下近眼显示研究处。研究领域包括Micro LED/OLED近眼显示应用、XR(AR/VR/MR)头戴式装置等方面。
内容
2146
粉丝
0
关注
在线咨询
近眼显示
TrendForce集邦咨询旗下近眼显示研究处。研究领域包括Micro LED/OLED近眼显示应用、XR(AR/VR/MR)头戴式装置等方面。
总阅读
2.5k
粉丝
0
内容
2.1k
在线咨询
关注