思坦科技
企查查信息显示,深圳市思坦科技有限公司一项名为“一种用于Micro-LED的色转换层及其制备方法”的发明专利申请(申请号:CN202211516032.8)于2023-02-03公布。
摘要显示,该发明公开了一种用于Micro‑LED的色转换层及其制备方法,一具体实施方式的色转换层包括基底、光阻隔墙以及量子点材料;首先将掺杂反射材料的热固化压印胶经过纳米压印工艺制成的光阻隔墙;其次将光阻隔墙间隔固化在透明的基底上形成微阵列结构;并且微阵列结构中相邻两个光阻隔墙与基底之间形成开口向上的沟槽;最后在微阵列结构中指定的沟槽内填充量子点材料;Micro‑LED蓝光激发沟槽内的量子点材料所产生的红光和绿光,以及Micro‑LED蓝光分别能够通过光阻隔墙反射后从沟槽的开口方向发射出去;由此,通过一次纳米压印工艺制备光阻隔墙,解决了色转换层内的红绿蓝光之间的光串扰问题,提高色转换的出光效率。

兆驰半导体
企查查信息显示,2023年2月,江西兆驰半导体有限公司有四项Micro LED相关专利申请公布或授权,以下是简要信息:
一种MicroLED器件及其制备方法
申请号:CN202211575948.0
摘要显示,本发明提供一种Micro LED器件及其制备方法,该Micro LED器件包括衬底及依次设于衬底上的芯片封装层及重布线层,芯片封装层内交错层叠设置有若干个发光芯片,芯片封装层与衬底之间设有黏附层,芯片封装层与重布线层之间设有绝缘层,Micro LED器件还包括连接重布线层与发光芯片的金属连接层。通过在芯片封装层内交错层叠设置若干个发光芯片,即将原本处于同一平面的多个芯片分成了若干份,进而降低平面巨量转移的难度,通过分批次分层对芯片进行封装,相当于加大了每层芯片之间的设计间距,即消除了平面上已转移芯片对后续待转移芯片的影响,降低了转移难度,提高加工效率及良率。

一种micro-LED芯片的巨量转移方法
申请号:CN202211391064.X
摘要显示,本发明提供了一种micro‑LED芯片的巨量转移方法,包括:提供若干载体基板、若干单色LED、若干转移标记、掩膜、承接基板;将所述掩膜、所述单色LED载体基板、所述承接基板自上而下排列;将所述单色LED载体基板依次置于所述掩膜与所述承接基板之间并进行对位;激光器发射出的激光光斑在所述掩膜上完成面扫,以使所述单色LED、所述转移标记转移至所述承接基板上,本发明通过设计不同的转移标记与对位方式,简化了巨量转移过程与后续芯片封装过程,同时也实现了芯片转移的高利用率。

一种倒装Micro-LED芯片及制备方法
授权公告号:CN115425127B
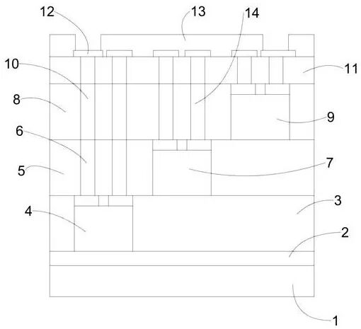
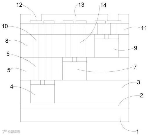
摘要显示,本发明提供一种倒装Micro‑LED芯片及制备方法,倒装Micro‑LED芯片包括衬底,依次设置在衬底上的蓝光芯片层、第一布拉格反射层、第一导电金属层,第一透明键合层、绿光芯片层、第二布拉格反射层、第二导电金属层、第二透明键合层、红光芯片层、第三布拉格反射层、第三导电金属层、绝缘保护层及焊盘层,其中,蓝光芯片层设置在第一布拉格反射层内,绿光芯片层设置在第二布拉格反射层内,红光芯片层设置在第三布拉格反射层内,蓝光芯片层、绿光芯片层以及红光芯片层呈垂直排列。本发明通过将三色芯片层垂直排列,有效的减小了芯片尺寸,并通过将三色芯片设置在布拉格反射层内,使该芯片发光不受影响。

一种全彩Micro-LED芯片及其制备方法
授权公告号:CN115411160B
摘要显示,本发明提供一种全彩Micro‑LED芯片及其制备方法,芯片包括第一布拉格反射镜,依次层叠在所述第一布拉格反射镜上的衬底、蓝光外延层、第一电流扩展层、第一刻蚀截至层、第二布拉格反射镜、第一键合层、第二刻蚀截至层、第二电流扩展层、绿光外延层、第三布拉格反射镜、第二键合层、第三刻蚀截至层、第三电流扩展层、红光外延层、第四布拉格反射镜以及焊盘层,导电通孔组、蓝光P型导电通孔、绿光P型导电通孔以及红光P型导电通孔。本发明通过设置在蓝光外延层、绿光外延层以及红光外延层之间的布拉格反射镜,并将三色光外延层垂直排列,使得上述芯片封装的显示屏正面与侧面显色一致,无侧面偏绿或偏红的色差问题。

企查查
报名研讨会
共同探讨Micro LED发展


