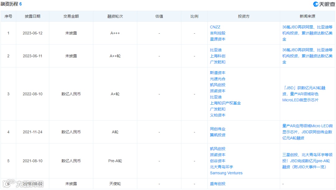
近日,从天眼查官网了解到,国产Micro LED微显示器厂商JBD已相继完成A3+及A4轮战略融资,相关媒体透露,最新的两轮融资为JBD筹得数亿元人民币资金。
其中,A3+轮融资由比亚迪、上海科创集团旗下知识产权基金、广发乾和联合领投;A4轮融资由浙江阿里巴巴云计算有限公司、吉利控股、星源资本领投。

图片来源:天眼查官网
据悉,本次融资资金,JBD将用于Micro LED核心技术研发投入、产品量产、高端人才引进及市场开拓。
资料显示,JBD成立于2015年10月, 专注Micro LED微显示器的开发,目前JBD量产产品包括0.13英寸、0.22英寸和0.31英寸Micro LED微显示屏,单/彩色光引擎;双目彩色光模组等,其产品已应用在多款AR眼镜产品上。
值得注意的是,从2018年起,JBD已先后完成6轮融资,多次获得数亿元资金,目前JBD股东包括了三星、阿里巴巴、吉利、比亚迪等国内外知名企业。
LEDinside
更多Micro LED显示深入行情
点击了解报告


