上海显耀显示科技有限公司(JBD),已成为Micro LED微显示技术发展的关键推手之一,截至目前,JBD已为超过26款的AR眼镜提供Micro LED微显示方案,总出货累计数十万套眼镜,正在开发中的AR眼镜超过30款。产能方面,依托合肥工厂产能,JBD当前支持百万套眼镜规模的微显示屏出货,预计3-5年将扩大至千万套眼镜所需的微显示屏规模。
近日,JBD有多项发明专利公布,涉及Micro LED微显示面板制造,光学投影模块,Micro LED像素缺陷检测等。
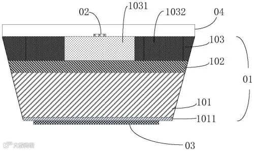
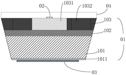
微型LED结构和微型显示面板
微型LED结构和微型显示面板,专利公布号为CN118633169A。


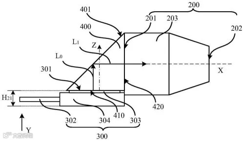
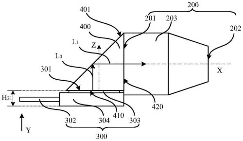
光学投影模块及穿戴式电子设备

预设部分图案组、目标微型LED阵列图案的分解方法、以及像素缺陷的检测方法


微型LED投影器
微型显示像素驱动器控制器

LEDinside
关注我们


