近日,长虹旗下启睿克、思坦科技、厦门未来显示技术研究院公布最新Micro LED专利,涉及提升Micro LED红光亮度、简化Micro LED结构提升亮度、实现低成本全彩化显示等。
启睿克:Micro-LED与Micro-QLED混合投影技术,突破红光亮度问题
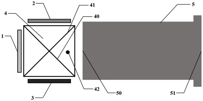
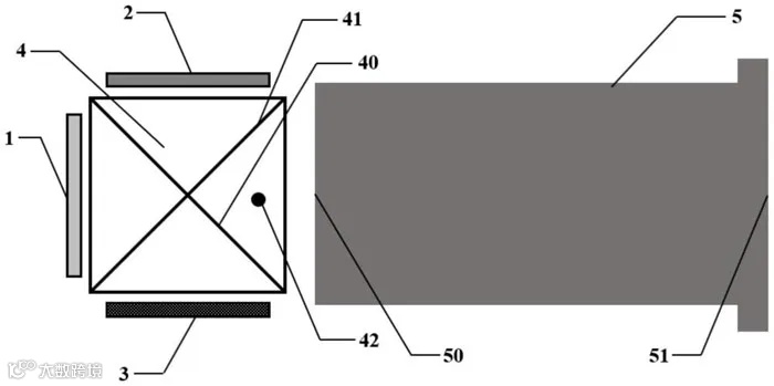
11月8日,长虹旗下四川启睿克科技有限公司宣布获得一项专利,名为“基于Micro-LED和Micro-QLED的混合式投影光学装置”,公布号为CN221960401U。这项技术不仅将改变传统投影设备的设计方式,还将有效解决当前许多投影技术面临的红光亮度不足的问题。

图片来源:国家知识产权局
该专利的核心在于混合使用Micro-LED与Micro-QLED两种显示技术。Micro-LED以其高亮度和宽广的色域著称,而Micro-QLED则以出色的色彩表现和更高的像素密度而获得广泛认可。借助X-Cube合色棱镜,四川启睿克实现了色彩的高效组合,尤其是在红光亮度的提升上,形成了一个更加完善的光源解决方案。
具体来看,该投影光学装置设计中,绿光Micro-LED微显示屏正对投影镜头的入光口,而蓝光Micro-LED和红光Micro-QLED则分别与绿光Micro-LED呈90度角排列。这样的布局并不是偶然,而是一种深思熟虑的工程设计,结合了两种技术的优点,有效减少了红光的光损失,从而大幅提升了红光亮度,尤其是在需要展现鲜艳色彩的图像时,表现出显著优势。这一点在户外及明亮环境中的投影效果尤为显著,能够更好满足用户在各种光照条件下的使用需求。
思坦科技:简化Micro LED发光结构,提升光电效率
国家知识产权局信息显示,深圳市思坦科技有限公司申请一项名为“Micro-LED发光结构及其制作方法和电子设备”的专利,公开号CN118919614A,申请日期为2024年8月。


LEDinside
加群交流

关注我们

