搜索
首页
大数快讯
大数活动
服务超市
文章专题
出海平台
流量密码
出海蓝图
产业赛道
物流仓储
跨境支付
选品策略
实操手册
报告
跨企查
百科
导航
知识体系
工具箱
更多
找货源
跨境招聘
DeepSeek
首页
>
5企公开最新Micro LED专利
>
0
0
5企公开最新Micro LED专利
近眼显示
2024-10-10
2
导读:专利速览
近日,錼创显示、芯映光电、高科华烨、高科视像、芯聚半导体公布Micro LED专利,涉及基板、显示模组、 MIP封装、巨量转移等。
錼创显示科技:微型发光二极管显示面板专利
国家知识产权局信息显示,錼创显示科技股份有限公司申请一项名为“微型发光二极管显示面板”的专利,公开号CN118748234A,申请日期为2021年8月。
图片来源:国家知识产权局
专利摘要显示,本发明提供一种微型发光二极管显示面板包括第一基板、第二基板、多个微型发光二极管、波长转换层、遮光图案层、滤光层以及空气间隙。
这些微型发光二极管设置于第一基板上,且分别位于多个子像素区内。这些微型发光二极管适于发出光束。波长转换层重叠设置于这些微型发光二极管的至少一部分。光束用于激发波长转换层以发出转换光束。遮光图案层设置于第二基板上。滤光层设置在波长转换层与第二基板之间,且重叠于这些微型发光二极管。空气间隙设置在这些微型发光二极管的任一者、第二基板、波长转换层与滤光层的任两相邻者之间。
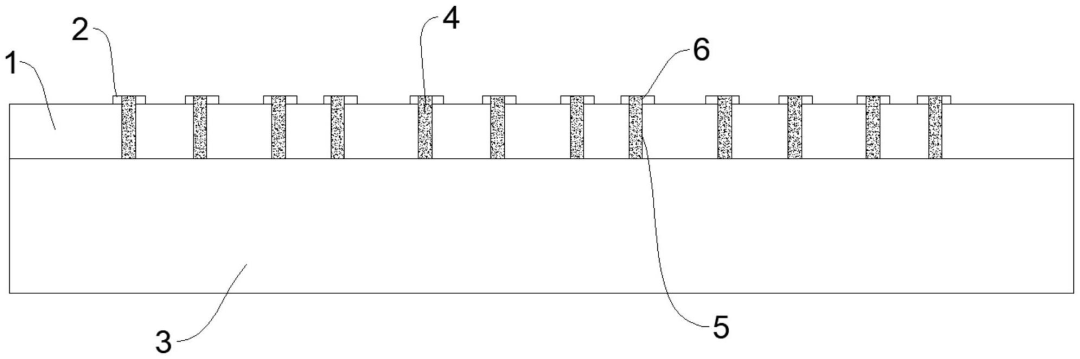
芯映光电:一种LED基板及显示模组
芯映光电
公布“
一种LED基板及显示模组
”相关专利进入授权阶段,公开号CN221766782U。
图片来源:国家知识产权局
该专利申请涉及一种LED基板及显示模组,所述LED基板包括:玻璃载板,所述玻璃载板的第一板面设置有导电线路;HDI线路板,所述HDI线路板固设于所述玻璃载板的第二板面,且所述HDI线路板与所述玻璃载板上的导电线路电连接,所述第一板面与所述第二板面分别位于所述玻璃载板的相对两侧。
专利通过在HDI线路板上设置玻璃载板,并将导电线路设置在玻璃载板上,玻璃载板的表面精度和平整度远远大于HDI线路板的表面精度和平整度,有利于芯片的固定安放,能够应用于Micro LED显示,解决了相关技术中HDI多层线路板制作的基板在Micro LED显示方面难以应用的技术问题。
高科华烨:一种Micro MIP器件制成方法
山西高科华烨电子集团有限公司
公布
“一种Micro MIP器件制成方法”
相关专利进入公布阶段,公开号CN118693191A。
图片来源:国家知识产权局
该专利公开了一种Micro MIP器件制成方法,该方法包括以下步骤:S1.将含有LED芯片的COW与临时载板键合并进行激光剥离;S2.进行三色芯片的巨量转移,将三色芯片按照矩阵排列转移到同一载板上;S3.准备一块钢化玻璃,并在其单面进行胶水涂布;S4.在钢化玻璃表面按照矩阵排列进行金属走线和金属焊盘的沉积;S5.通过巨量焊接技术将芯片载板与已制备线路的钢化玻璃焊接;S6.通过激光剥离技术剥离芯片的载板;S7.对钢化玻璃上的结构进行封装;S8.通过隐切方式对Micro MIP器件进行切割。
通过本发明的制成技术,可以制备出Micro LED显示屏所需的Micro MIP器件,解决Micro MIP制成周期长、难以实现量产全自动的问题。本发明的制成方法简单高效。
高科视像:一种新型Micro LED巨量转移系统及方法
山西高科视像科技有限公司
公布
“一种新型Micro LED巨量转移系统及方法”
相关专利并进入公布阶段,公开号CN118737911A。
图片来源:国家知识产权局
该专利发明提供了一种新型Micro LED巨量转移系统及方法,属于Micro LED巨量转移技术领域;解决了普通转移方法转移良率降低、检测修复困难的问题;包括集巨量转移、巨量检测和巨量修复于一体的巨量转移系统;巨量转移是利用转移头通过真空将芯片吸起,巨量检测是利用梯形保护罩两侧的光电检测装置测得Micro LED芯片的工作电压、亮度和发光波长等参数与预设值做比对,巨量修复是利用巨量转移头通过信息端反馈的数据,控制端控制吸嘴的开关,实现目标基板上芯片空缺位置的点对点补位。
本发明旨在优化Micro LED集成封装技术,并且通过新型的技术提升了巨量转移良率,降低修复成本,提高显示模组的色彩均匀度。
芯聚半导体:Micro LED芯片及其制备方法
芯聚半导体
公布
“Micro-LED芯片及其制备方法”
相关专利进入公布阶段,公开号CN118748233A。
该专利发明了一种Micro LED芯片及其制备方法,Micro LED芯片包括沿出光方向依次堆叠设置的第一发光层、第二发光层、第三发光层和基板、以及粘结各层的粘结层,粘结层包括多个透光孔,透光孔与发光层的发光单元芯片的出光方向对齐。
图片来源:国家知识产权局
该垂直堆叠式的Micro LED芯片通过透光孔的设计减少了光线穿过有机物的面积,避免了因有机物材料的不稳定性造成的透光率不确定、以及有机物材料引发的光颜色变化的问题,从而一方面显著提高了光传输效率和LED芯片的发光效率,减少了光损耗,另一方面提高了混光效果,保持了整个面板显示颜色的一致性。该Micro LED在尺寸更小的同时显著提升了显示效果,增强了显示亮度和色彩纯度。
LEDinside
倒计时19天
免费报名2024 TrendForce集邦咨询自发光显示产业研讨会,洞见Micro LED、Micro OLED等自发光显示技术未来。10月29日深圳见!
关注我们
【声明】内容源于网络
0
0
近眼显示
TrendForce集邦咨询旗下近眼显示研究处。研究领域包括Micro LED/OLED近眼显示应用、XR(AR/VR/MR)头戴式装置等方面。
内容
2146
粉丝
0
关注
在线咨询
近眼显示
TrendForce集邦咨询旗下近眼显示研究处。研究领域包括Micro LED/OLED近眼显示应用、XR(AR/VR/MR)头戴式装置等方面。
总阅读
1.6k
粉丝
0
内容
2.1k
在线咨询
关注