
在会话洞察系统的帮助下,电销团队成员所有的沟通录音都可以被快速的转写成文字,文字内容经过语义识别,又可以转化为结构化的“语义标签”(例如“开场白”、“产品介绍”等)。有了“语义标签”,就可以按照业务流程,搭建可视化的看板,销售主管们借助看板和录音“溯源”功能,可以快速地定位团队或个人在销售过程中出现的问题……实现事半功倍的效果。
一、快速定位团队共性问题
什么是团队共性问题?整个销售过程中涉及到多个销售环节,整体上看,团队成员到底是哪个环节问题最大,最需要被解决,往往就是团队面临的共性问题。
传统管理方式:管理者首先要凭团队产能和过往管理经验,判断目前团队的最大弱点在哪里,针对弱点,倒推录音时长,通过盲听相似时长的录音,发现团队共性弱点具体是什么。
业务挑战:销售主管需要听大量录音,才能发现团队销售过程中的共性问题。录音听的少,不一定能发现团队的共性问题,录音听的多,时间未必充裕(一般当天听的录音用于当天或第二天的辅导)。
>> 基于会话洞察系统的全新管理模式:
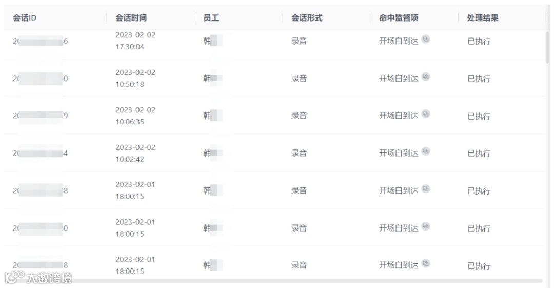
1.在会话洞察系统上搭建电销流程“关键节点”的到达率看板,查看整个大业务团队的关键节点平均到达率(以保险电销为例)。
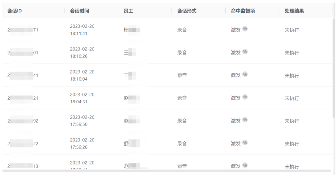
2.参照团队整体的关键节点平均到达率,对比自己团队与其他团队每个关键环节的差异(以黄色标记的北京2营业处6组为例),确定最大差异点:“激发”环节执行率仅3%,大幅低于其他团队和整体平均值11%。
3.通过明细表,下钻找出“激发”环节未到达(未执行)的录音。

4.进入具体录音播放界面后,左侧可清晰看到关键节点的到达情况,管理者可根据需求点击跳转到未执行的关键节点“激发”的前后位置,快速定位录音片段,了解这些对话为什么没有到达“激发”环节,快速发现团队的共性问题。
二、快速定位员工个性化问题

什么是员工个性化问题?个性化问题就是销售过程中,每个员工在沟通技巧、产品知识、应对策略等方面所表现出的独特问题,尤其是低产能的员工可能面临更显著的个性化问题,更需要及时的辅导和纠偏。
传统管理方式:管理者首先要凭个人产能和过往管理经验判断目前谁更需要被辅导,确认人之后,管理者要依据员工的通时通次及过往管理经验,判断目前他的最大问题点在哪里,针对可能的问题点,倒推录音时长,通过盲听相似时长的录音,发现该员工的最大问题点具体是什么。
业务挑战:录音听的少,不一定能代表该员工的真实问题。想要听更多录音,就会过于消耗主管的时间和精力。
>> 基于会话洞察系统的全新管理模式:

△ 在会话列表中,可根据会话时间等字段选择需要听的录音

△ 在会话详情页,可根据“沟通事件”和转写记录快速定位对话位置

△ 在会话详情页,可根据“沟通事件”和转写记录快速定位对话位置
三、助力一线管理者事半功倍
无论是发现团队的共性问题,还是员工的个性问题,在数字化工具——会话洞察系统的帮助下,一线电销团队管理者可以更高效地进行问题分析和解决,大大节省了管理者花在听录音上的时间。通过快速定位问题,制定针对性的培训和辅导计划,整个团队的销售业绩才能更快提升,实现事半功倍的效果。

循环智能(Recurrent AI)是一家会话智能和私域大模型产品及解决方案提供商,致力于让企业与客户的每一次沟通有更好的成效。循环智能借助领先的自然语言处理、语音识别、机器学习、AI大模型等核心技术开发了销售会话洞察、客户心声分析、智能辅助系统、智能合规质检和智能工牌等产品,在银行、保险、证券、汽车、零售、房产、教育、消费金融、B2B等行业得到广泛应用。循环智能的产品和解决方案致力于赋能一线业务人员、客户洞察、销售过程管理,帮助企业降本增效,获得新增长。

■ www.rcrai.com ■ 400-607-5800
■ 简历投递:hr@rcrai.com ■ 北京 | 上海 | 无锡 | 深圳




