5G及无线技术专栏主要介绍5G NR、LTE、WiFi等主流无线通信技术,由业界一线工程师执笔,结合理论与实践,既有标准解读,又涵盖链路仿真与测试,是不可多得的进阶学习平台。如有想看到的内容或技术问题,可以在文尾写下留言。
数字正交调制和解调是现代数字通信系统中通用的信号调制和解调的方式。数字调制中,通常利用极坐标来表示数字矢量复数信号,即用I/Q坐标来表示,其中I为极坐标的0°位置,表示同相分量 (In-Phase Component) 。Q为极坐标的90°位置,表示正交分量(Quadrature Component)。如图1 (a) (b) 所示:

图1. (a) 矢量信号的幅度-相位表示 (b) 矢量信号的IQ表示 (c) 矢量误差
2. 传统EVM的定义
矢量信号由数字基带调制进入DAC(数模转换器)后,再进入上变频器和功放放大即可完成发射过程。由于发射电路本身的不理想特性,例如功放的非线性特性和上变频的杂散,矢量信号的矢量会在发射过程中发生畸变,原有的矢量会偏离理想位置。误差矢量是描述理想信号和实际信号偏差的向量,是星座图上理想信号的矢量和实际解调后获得的测量矢量的偏差向量。如图1(c)所示的误差矢量。
矢量信号质量的量化表示中最主要的指标是误差矢量幅度,简称EVM(Error Vector Magnitude),即为误差矢量复数的模值。误差矢量的相位通常称为相位误差。在测量领域,EVM通常是多个采样点的误差矢量幅度的均方值(RMS)与理想信号矢量的均方值(RMS)的比值,如下式。其中N代表符号数量,Ci 表示第i个测量到的信号矢量,Ri表示第i个理想参考信号矢量。均方值以统计的方法来计算EVM,描述的是调制信号的总体误差矢量的大小,而不是某个瞬时时刻的结果,这样的值对于通信信号的评价是很合理的。
式1
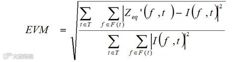
我们再来看看现有的测试标准对EVM的定义。以4G LTE的物理层射频测试标准3GPP TS 36.141为例,EVM的定义变成了如下式所示,理想参考信号I(t,f) 信号为经过测量设备解调重建后的理想信号,测量到的信号Z'eq(t,f) 为经过测量设备均衡后的解调信号。可以看到3GPP一致性测试方法是经过FFT处理的,是针对每个子载波解调之后再计算EVM的,而且还有均衡和跟踪补偿算法,对最终的EVM测试结果都有影响。
式2
3.EVM的测量方法
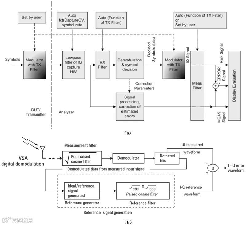
根据无线移动通信标准对EVM的定义,市面上的主流矢量信号分析软件,例如罗德与施瓦茨公司的Vector Signal Analysis K70 (a) 或是德公司的89600 VSA (b) ,对EVM的测量方法和流程都是如下图2所示。

图2. (a) 罗德与施瓦茨公司VSA EVM测试流程 (b) 是德公司VSA EVM测试流程
总结起来,待测信号解调后会经过两个支路,一个支路是保持解调后的待测信号的原貌,另外一个支路是恢复并重建理想的参考信号。

图3. VSA EVM测试流程总结框图
有了这两个参考额测量信号,就可以套用上述公式计算出误差矢量的模值和相位。如下图所示的罗德与施瓦茨公司的VSA对一个16QAM调制、100MHz符号速率的信号解调得到的EVM和相位误差。

图4. VSA EVM测试结果
3. DEVM的定义
在无线通信技术中,细心的工程师们还会发现另外一个EVM叫做DEVM。例如下图5所示的Skyworks的一块802.11ax (Wifi6) 的射频前端芯片模组,其中定义了802.11ax的发射信号质量为-43dB DEVM (dB为EVM的百分数取对数乘以10得到的对数值)。

图5. Skyworks功放中的DEVM指标
DEVM又是何方神圣,和传统EVM有什么区别?在网络上有限的资料中发现,DEVM的全称是Delta EVM,或者Differential EVM,定义为如下表达式,即激励IQ信号矢量和响应IQ信号矢量的差值矢量模值。

图6. DEVM定义
和EVM的定义如出一辙的DEVM,两者区别究竟在哪里?根据DEVM的定义和笔者的测量经验中,归纳得出DEVM和EVM的区别如下表所示:
表1. EVM和DEVM逐项对比
| 比较项目 | 传统EVM | Differential/Delta EVM |
| 数学定义 | 通过比较解调信号与测量信号的计算 | 通过比较输入激励信号和输出响应信号来计算 |
| 适用的待测件 | 单端测量,例如发射机 | 两端口通过式器件的测量,例如功率放大器、发射链路 |
| 衡量的指标 | 衡量发射机的整体质量指标 | 衡量单个或多个器件对发射链路EVM的恶化程度 |
| 参考信号的不同 | 参考信号是输入信号解调后的数据 | 参考信号为激励信号(待测件实际输入) |
| 测量的时刻点 | 仅在符号判决点时刻测量 | 在所有波形采样点时刻测量 |
| 是否滤波 | 会经过基带滤波器 | 没有基带滤波 |
4.DEVM的测量方法
是德和罗德与施瓦茨两家公司都有测量DEVM的测试功能和软件。是德公司采用高端矢量网络分析仪PNA-X的内部接收机进行DEVM测量。本文使用罗德与施瓦茨公司的VSA(EVM测试)和Amplifier(DEVM测试,从名字就可以识别出测试的是放大器两端口器件)两个测试软件作为对比,进一步发现在进行EVM和DEVM测试在具体参数设置上的区别,影响结果的主要是均衡器是否开启。通过调节均衡器和测量结果长度等参数,VSA和amplifier对同一信号(100 MHz符号速率, 16 QAM, RRC 0.2)的EVM测量结果基本一致。

图7. Amplifier DEVM测试结果(DEVM在罗德与施瓦茨的软件中也叫做RAW EVM)
对标准无线移动通信信号的解调,比对Amplifier的DEVM和LTE专用解调软件对LTE test model的EVM结果,也能发现EVM的不同测量结果,如LTE 0.9% ,而Amplifier 1.1%。打开Amplifier内置的均衡器才趋近一致。
表2. LTE专用解调软件EVM和DEVM的逐项对比
| 比较项目 | LTE的EVM结果 | Amplifier DEVM结果 |
| 测量方法 | 采用符合3GPP标准的解调算法和均衡器,得到参考信号和测量信号 | 输出响应信号和输入激励信号的采样点的逐点对比,均衡器自定义 |
| 测量结果 | 可以看到EVM相对于时间、子载波和结果,和星座图 | 只能看到EVM的均方根和峰值 |
| 是否引入残余EVM | 发射机和测量仪器的合成EVM | 仅测量通过式器件的EVM |
5.总结
随着测量技术的发展,越来越多新的测试结果定义被用来表征不同的待测件。DEVM就是从EVM发展引申出的新的测量方法,用来衡量器件对EVM的恶化程度。随着5G终端和Wifi6(802.11ax)的大量应用,DEVM还会越来越多的出现在大家的视野中。
此外,还有从phase noise引申出来的评价二端口器件如放大器的additive phase noise一样,与DEVM类似的定义。且听下回分解。


