
由于制作技术相对简单,手游界普遍存在着抄袭问题,而这个现象在中国市场尤为严重,不管是跑酷、竞速、RPG,还是消除、经营模拟,所有类型没有一个“幸存”,对于这些美其名曰“借鉴”、“致敬”的山寨作品越来越让玩家们感到不齿……
而国内玩家在各个众筹平台上踊跃资助小型独立工作室或许会让这些抄袭现象逐渐减少,让手游界风气在一定程度上得到转变,不过笔者认为这始终是治标不治本,要想根除抄袭的陋习,除了开发者和市场要有所觉悟之外,建立和完善玩法专利才是关键。
说到专利申请,其实大家并不陌生,这是厂商保护自己合法权益的有效武器,苹果、谷歌、小米、华为等科技大佬愈演愈烈的专利战也让不止一个行业意识到了专利的重要性,那么回头来看看手游领域,常被人们提及的似乎只有著作权和商标权,至于深入一些的游戏玩法、系统架构专利鲜有听闻。
在法律比较健全的欧美国家,为游戏玩法申请专利的公司并不少,比如经典消除游戏《糖果粉碎传奇(Candy Crush Saga)》的King.com,不得不说King的自我保护意识确实很强,他们为这款游戏申请的专利就超过了10个,其中在第US20140128159号美国发明专利中就明确显示“通过移动相同图案进行消除,并且达成一定数量时就会获得额外的范围消除奖励”。


《糖果粉碎传奇》的推出可以说为许多后来者奠定了玩法创造和延伸的基础,当然上述的专利也有不少游戏开发商大胆引用,到现在为止似乎已经成为了一款消除游戏的标准设定。不过这几年来,我们似乎很少听闻King对这些有抄袭嫌疑的厂商大开杀戒告上法庭,或许是出于《糖果粉碎传奇》系列剩余价值几乎被榨光,无谓再去耗费时间和财力去走司法程序的考虑;又或许是King不想因为一纸专利而让自己在业界落下冷冰冰的形象,但不管怎么说,主动权始终握在King的手里,只是他们想不想“出招”罢了。
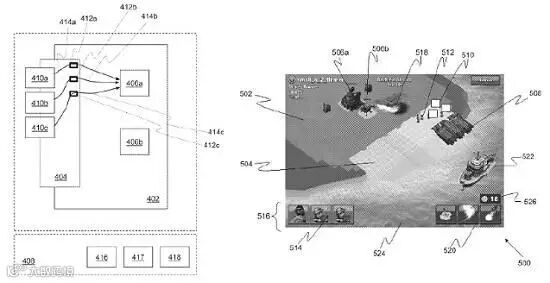
除了King,大家熟知的COC开发商Supercell也在专利方面做足了准备,除了《Hay Day》与《Clash of Clans》,同样火爆的《海岛奇兵》也申请了玩法专利,当玩家选定岛屿进攻之后,“可选军队以及可部署的位置”都事无巨细地呈现在专利第US20150105151号中。


在手游玩法专利开始被人们重视之前,一些老牌的主机和掌机游戏厂商一早就走上了这条必经之路,SEGA几年前就申请了一项关于通过触控设备进行足球游戏的专利,而LEVEL-5的《闪电十一人》就是透过触控屏幕来操作各队员的行动,命令球员进行运球、传球、拦截与射门的足球作品,为此SEGA向LEVEL-5提出了高达9亿日元的赔偿。


其实玩法专利并不仅仅是局限于操作流程和方法,所涉及的系统架构、游戏人物、道具元素都是与之紧密联系的,不过由于手游的生存周期太短,不少开发者(特别是经济实力不济的独立开发者)还是放弃了对玩法专利申请的想法。此外,国内目前还是处在一个主张IP为王的时代,在IP换人气的大趋势不改变的情况下,知识产权的重要性显然要远大于玩法专利。
椐不完全统计,目前国内手游行业开发商已超过1.5万家,每天有200款甚至更多的新游戏等着上线,但是大家“踊跃参与”的背后换来的却是仅为0.1%~0.2%的成功率,100万手机应用开发者中实现盈利的仅占13.7%,在如此低的成功率面前,花大量的时间来申请玩法专利,将抄袭的厂商告上法庭显然只有暴雪、网易、中手游这样的业界大腕才有足够精力。
不过“性价比”不足并不代表游戏玩法专利的存在毫无价值,随着国内优秀独立游戏的逐渐崛起,以及玩家们对于优质创新作品需求的日益提高,玩法专利必定会成为各个游戏厂商的必争之地,当然从单纯依赖IP转向玩法内容为王可能要花上好几年。另一方面,游戏传播平台和分发渠道对游戏上架门槛低、市场化竞争白热化,引发市场混乱他们确实负有不可推卸的责任,在玩法专利逐渐占据开发者和代理商的主流意识,并且国家建立健全了玩法专利相关法律之后,相信这个现象会有所收敛,作为玩家,衷心希望这一天不要太遥远。


