-
操作系统概述 -
Linux 操作系统安装 -
Linux 文件系统 -
Linux 命令操作 -
Linux 权限管理 -
用户和用户组 -
用户操作命令 -
权限操作 -
Linux 进程管理 -
Linux 其他常用命令大全 -
Linux 系统软件安装 -
常用软件安装 -
软件安装常用命令
操作系统概述
操作系统 Operating System 简称 OS,通俗讲就是一款软件,不过和一般的软件不同,操作系统是管理和控制计算机硬件与软件资源的计算机程序,是直接运行在“裸机”上的最基本的系统软件,任何其他的软件都必须在操作系统的支持下才能运行。
Linux 操作系统安装
关于 Linux 的安装看这篇——Linux的安装教程
https://blog.csdn.net/huaijiu123/article/details/82083452
Linux 文件系统
-
/var:包含在正常操作中被改变的文件、假脱机文件、记录文件、加锁文件、临时文件和页格式化文件等。 -
/home:包含用户的文件:参数设置文件、个性化文件、文档、数据、EMALL、缓存数据等,每增加一个用户,系统就会根据其用户名在 home 目录下新建和其他用户同名的文件夹,用于保存其用户配置。 -
/proc:包含虚幻的文件,他们实际上并不存在于磁盘上,也不占用任何空间(用 ls-l 可以显示它们的大小)当查看这些文件时,实际上是在访问存在内存中的信息,这些信息用于访问系统。 -
/bin:包含系统启动时需要的执行文件(二进制),这些文件可以被普通用户使用。 -
/etc:为操作系统的配置文件目录(防火墙、启动项) -
/root:为系统管理员(也叫超级用户或根用户)的 Home 目录。 -
/dev:为设备目录,Linux 下设备被当成文件,这样一来硬件被抽象化、便于读写、网络共享以及需要临时装载到文件系统中,正常情况下,设备会有一个独立的子目录,这些设备的内容会出现在独立的子目录下。
Linux 命令操作
-
查看当前目录命令: pwd -
打开文件夹命令: cd -
打开指定文件夹: cd [目录名称] -
打开当前用户的根目录: cd ~ -
返回上级目录: cd … -
返回进入目录: cd - -
打开根目录: cd / -
浏览目录下的文件列表命令: ls -
以列的方式查看当前目录下的文件列表: ls -l -
查看当前目录下所有的文件(包括隐藏文件): ls -a -
以列表的方式查看当前目录下的所有文件: ls -la -
创建文件目录命令: mkdir -
新建文件目录: mkdir 文件夹名称 -
递归新建多级目录: mkdir -p 文件夹名称 -
例如在用户目录下新建 test 目录,命令这样写: mkdir -p test/test1/test2/test3递归新建多级目录的写法 -
删除文件目录命令: rmkdir -
删除指定目录: rmkdir 目录名称 -
递归删除指定目录及中间目录: rmdir -p 目录名称这里没有写错,没有字母 k -
删除文件或者目录命令: rm -
常用命令: rm -rf [目录或文件]rm -ri [目录或文件] -
强制删除文件或目录: rm -rf 目录或者文件 -
在删除前询问是否确认删除: rm -ri 目录或文件
因为强制删除的后果不太好,一般不建议使用
rm -rf进行文件删除rm 命令中不跟 r 参数,无法删除目录,只能删除文件
-
复制文件或目录命令: cp -
递归复制目录1下的所有的文件和文件夹到目录2: cp -r [目录1][目录2] -
执行复制操作时覆盖原有目录前询问用户: cp -ri [目录1][目录2] -
移动文件、修改文件名命令: mv -
将文件夹1名称更改为文件夹2: mv 文件1 文件2(给文件更名) -
将目录1的文件移动到目录2: mv 目录2 目录2(将目录1的文件移动到目录2) -
创建文件命令: touch -
touch 文件名称 -
查看、编辑文件命令: vi -
vi 命令为 UNIX 操作系统或者类 UNIX 操作系统都有具有的功能强大的文件编辑命令,用户输入 vi ++ 文件名,便可以进入 vi 模式进行文件内容的查看和编辑,如果文件已经存在,则直接打开文件,如果文件不存在,则系统将打开一个全新的空文件。
vi 的三种模式如下:
-
命令模式
当用户使用 vi 命令打开文件后,则进入命令模式,用户可以输入命令来执行各种功能。
-
输入模式
如果用户要对文件做修改,则可以使用下面几种命令,进入输入模式,用户进入输入模式之后,可以任意修改文件,除了 Esc 键外,用户输入的任何字符都会被作为内容写入文件中,用户输入 Esc 可以对文件进行相关操作。
-
末行模式
如果用户完成编辑命令,则可以按照 esc + “:” 进入末行模式,用户可以对文件内容继续进行搜索,也可以输入 “:wq!” 进行文件保存并退出,或者输入 “:q!” 强制退出文件编辑。
-
查看、编辑文件命令: cat -
显示一个小的文件的内容: cat 文件名称 -
创建并打开一个新的文件: cat > 文件名称 -
查看文件开头内容命令: head -
head [参数] [文件名]
例如,使用 head 命令显示某个文件开始的 n 行数据:head -n 文件名称
-
查看文件结尾内容命令: tail -
动态加载某个文件的内容(常用于查看日志文件): tail -f 文件名称 -
展示文件最后几行的数据: tail -n 行数文件名称
Linux 权限管理
用户和用户组
用户是指在一个操作系统中,一系列权限的集合体,操作人员通过用户名和口令可以在系统中执行某一些被允许的操作。不同的用户可以具有不同的权限。Linux 操作系统中每个用户都具有唯一标识 UID,当使用命令创建用户时,如果不指定用户的 UID,则系统将自动为其分配 UID。
用户组就是具有相同特征的用户的集合体,在 Linux 系统中,每一个用户都属于至少一个用户组。Linux 操作系统中每个用户分组都具有唯一标识 GID,当使用命令创建用户组时,如果不指定用户组的 GID,则系统将自动为其分配 GID。当使用 -u 指定用户 id 时,用户 id 尽量大于500,以免冲突。因为 Linux 操作系统安装后,会默认建立一些用户,所以可能会占用 500 之内的 id 号。
Linux 权限机制有以下特点:
-
系统有一个权限最大的用户,其名称为 root ,root 用户属于 root 用户组。 -
系统默认只有 root 权限可以添加和删除用户。 -
添加用户之后,如果没有给用户指定用户组,则系统会为用户添加一个同名的用户组,用户属于该组。 -
root 切换到普通用户无需登录,普通用户切换到 root 用户需要登陆。 -
root 可以给用户赋予和回收某一个文件的读、写、执行的权限。
用户操作命令
-
切换用户命令: su -
su [用户名]或者su -[用户名] -
su[用户名]和su -[用户名]都可以切换用户,前者类似于临时切换用户,当使用该命令进行切换新用户时,用户配置仍然沿用原来的用户配置,如环境变量、系统变量等。而后者进行切换用户时,环境变量、系统设置全部切换成新用户的用户配置。 -
查看当前登陆用户命令: whoami -
查看当前用户所属分组命令: groups -
查看当前用户 UID 和 GID 命令: id -
添加新用户命令: useradd
在 Linux 操作系统中添加用户:useradd 用户名
在 Linux 操作系统中添加用户并指定用户 UID:useradd -u 指定的 UID 用户名
-
修改用户密码命令: passwd例如:修改当前用户名为 sang 的用户密码:passwd sang
在添加用户之后,只有为其设置密码,用户才能登陆
-
删除用户命令: userdel -
删除用户: userdel 用户名 -
删除用户并同时删除其登陆信息: userdel -r 用户名
-
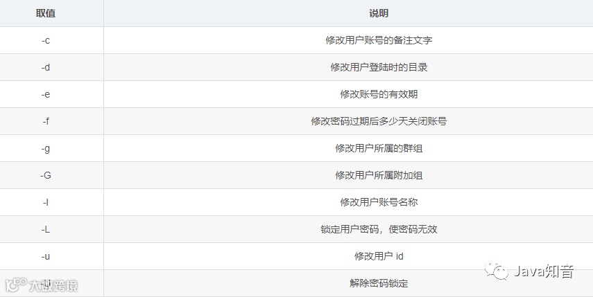
修改用户信息命令: usermod -
语法: usermod [选项] [参数] [用户名] -
修改用户登录名: usermod -l 新用户名 旧用户名 -
修改用户所属分组: usermod -g 新组名称 用户名
-
添加用户组命令: groupadd -
语法: groupadd [选项] [组名称] -
修改用户登陆名: groupadd 组名 -
修改用户所属分组: groupadd -g 组 GID 组名
权限操作
Linux 操作系统为文件定义了读、写、执行三种权限,不同的用户或者用户组可以具有不同的权限,系统采用 “r”、“w”、“x” 来分别表示文件的读、写、执行权限。使用 ls -l 命令可以查看到用户在当前目录或者文件的操作权限。
举列:
drwxr -xr -x. 2 root root 4096 Sep 23 2011 bin
从左至右分别表示如下含义:
-
d:代表 bin 数目目录而不是文件 -
rwx:代表拥有者具有读、写、执行的权限 -
r -x:代表同组用户具有读、执行的权限,但是没有写权限 -
r -x:代表其他组用户具有读、执行权限,没有写权限
常用的变更权限命令为:chmod
语法:chmod [选项] [参数]
chmod 的参数可以分为两种,分别是权限模式和数字模式。
权限模式:
权限模式使用 u、g、o 分别代表拥有者、同组用户、其他组用户,使用 + 和一代表赋予和收回权限,使用 r、w、x 代表读、写、执行权限。
例如:将文件01的执行权限给当前用户,写权限赋给用户所在的用户组和其他用户。
chmod -r U+X,G+W F01
例如:将文件 f01 的读、写、执行的权限赋给当前用户,将读、写权限赋给用户所在的用户组和其他用户。
chmod -r u=rwx,g=rw,o=rw f01
数字模式:
为了简化授权步骤,用户也可以采用数字模式进行授权,使用二进制的形式代表 r、w、x 三种权限,如 101 (5) =r -x,111 (7) =rwx,100 (3) =r- -
例如:将文件 f01 的读、写、执行的权限赋给当前用户,将读和执行权限赋给用户组、将写和执行权限赋给其他用户。
chmod 753 -r f01
例如:将文件 f01 的读、写、执行权限赋给所有用户。
chmod 777 -r f01
Linux 进程管理
在 Linux 的应用中,我们需要对进程进行管理,如查看某个进程是否启动、以及在必要的时刻,杀掉某个线程。
-
查看进程命令:ps
ps 命令是 Linux 操作系统中查看进程的命令,通过 ps 命令我们可以查看 Linux 操作系统中正在运行的过程,并可以获得进程的 PID(进程的唯一标识),通过 PID 可以对进程进行相应的管理。
ps -ef | grep [进程关键字]
根据进程关键词查看进程命令显示如下,显示的进程列表中第一列表示开启进程的用户,第二列表示进程唯一标识 PID,第三列表示父进程 PPID,第四列表示 CPU 占用资源比列,最后一列表示进程所执行程序的具体位置。
[shang@localhost ~]$ ps -ef|grep sshd
root 1829 1 0 May24 ? 00:00:00 /usr/sbin/sshd
shang 24166 24100 0 20:17 pts/2 00:00:00 grep sshd
[shang@localhost ~]$
-
杀掉进程命令:kill
当系统中有进程进入死循环,或者需要被关闭时,我们可以使用 kill 命令对其关闭。
kill -9 [PID] PID 为 Linux 操作系统中进程的标识
Linux 其他常用命令大全
-
清屏命令:clear -
查询命令详细参数命令:man -
挂载命令:mnt -
远程连接服务 SSH 相关命令: -
启动 SSH 服务命令: service sshd start -
重启 SSH 服务命令: service sshd restart -
关闭 SSH 服务命令: service sshd stop
Linux 大多数情况下都是远程服务器,开发者通过远程工具连接 Linux ,启动了某个项目的 JAR,一旦窗口关闭,JAR 也就停止运行了,因此一般通过如下命令启动 JAR:nohup java -jar jar-0.0.1-SNAPSHOT.jar &
这里多了 nohup ,表示当前窗口关闭时服务不挂起,继续在后台运行
Linux 系统软件安装
常用软件安装
Linux 下常用的软件安装方式有3种。
-
tar 安装:如果开发商提供的是 tar、tar.gz、tar.bz 格式的包(其中 tar 格式的为打包后没有压缩的包,gz 结尾的是按照 gzip 打包并压缩的软件包,tar.bz 是按照二进制方式打包并压缩的软件包),可以采用 tar 包安装,tar 安装方式本质上是解压软件开发商提供的软件包,之后在通过相应配置,完成软件的安装。
-
rpm 安装:rpm 安装方式是 redhat Linux 系列推出的一个软件包管理器,类似于 Windows 下的 exe 安装程序,可以直接使用 rpm 命令安装。
-
yum 安装:yum 安装本质上依然是 rpm 包安装,和 rpm 安装方式的不同之处是用户可以通过 yum 参数,指定安装的软件包,系统将自动从互联网上下载相应的 rpm 软件包。而无须用户关心软件包的下载地址,以及软件包的依赖关系。
软件安装常用命令
-
解压压缩命令: tar -
语法: tar [选项] [压缩包] -
解压 gzip 包: tar -zxvf [包名] -
解压 bz 包: tar -jxvf [包名] -
解压普通包: tar -xvf [包名]
安装卸载命令:rpm
-
语法: rpm [选项] [软件包] -
查询是否已经安装了某软件包: rpm -qa|grep [软件包关键词] -
卸载已经安装的软件包: rpm -e 软件包全名 -
安装软件包并查看进度: rpm -ivh 软件包路径
往期推荐

