作者 | 小奈
编辑 | 趣解商业
近日,中国证监会发布的《关于江苏创健医疗科技股份有限公司首次公开发行股票并上市辅导备案报告》显示,2023年12月28日,创健医疗与中信证券股份有限公司签署辅导协议,正式启动A股IPO进程。
图片来源:公告截图
这家由钱氏父子(钱福卿和钱松)创办的聚焦于重组胶原蛋白领域的企业,凭借去年接连获得LVMH和资生堂旗下基金的投资,备受行业和资本市场关注。
重组胶原蛋白赛道作为由中国企业主导的千亿赛道,已经培育出巨子生物(2367.HK)、锦波生物(832982.BJ)两家上市企业;如果此次创健医疗上市成功,就将成为国内这个赛道的“第三股”。
钱福卿出生于1954年,常州武进人。早年间因家中贫困,钱福卿便背井离乡外出打工;因一次善意之举,受到朋友父亲的赏识,在其资助下,钱福清回常州创办了武进县牛塘医疗器械厂——创生控股(中国)有限公司的前身。
据“趣解商业”了解,牛塘医疗器械厂最初生产的产品比较单一,主要是为医疗仪器定做配套的设备;后来,器械厂先后开发了植入器械梅花钉的全套器械、手指及足趾植入器械包。
2002年12月,创生控股正式成立,成为中国骨科市场的首批进入者之一;到2009年,创生控股已成为中国骨科产品生产商中最大的创伤产品生产商及三大脊柱产品生产商之一。
2010年6月,创生控股在香港联交所主板成功上市,共募集资金7.5亿港币,每股发行价3.52港币,也成为了中国内地第一家在香港上市的骨科医疗器械企业。而那个时候也正值跨国公司开启并购热潮,后来创生控股于2013年被美国的医疗科技公司史赛克收购,总收购额达59.22亿港元。
图片来源:百度百科截图
在很多人对钱福卿出售公司感到不解的时候,钱福卿却在酝酿一个更宏伟的计划,那就是发展大健康产业。在并购项目完成的2个月后,钱福卿在常州正式成立福隆控股,一个涵盖生物技术、环保科技、照明电器、医疗器械、创业投资等领域的新型大健康产业集团。
创立短短几年,福隆控股迅速发展;至2020年,福隆集团已有30家全资、控股或参股企业,其海外公司和办事处遍及美洲、澳洲、欧洲及中东、东南亚地区。
为了探索更具潜力的业务增长点,2015年,钱福卿的大儿子钱松从国外回来之后创办了创健医疗,专注于新型生物材料与创新蛋白研发、生产。
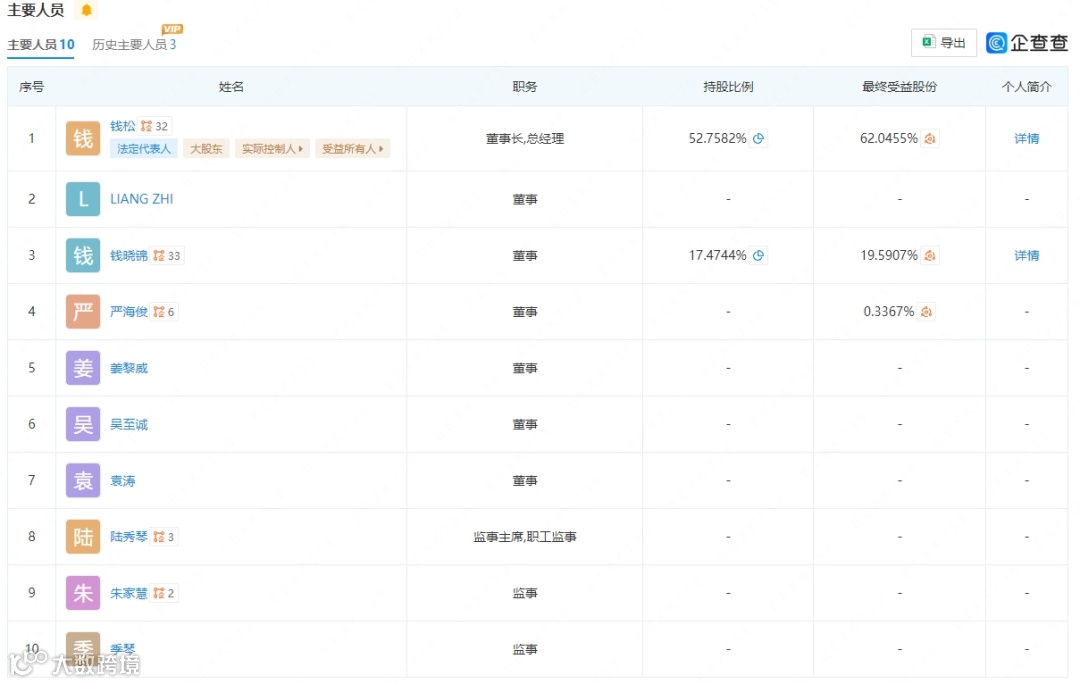
企查查显示,创健医疗法定代表人为钱松,他同时也是公司董事长兼总经理,最终受益股份为62.05%;二股东是钱福卿的小儿子钱晓锦,最终受益股份为19.59%,并在公司担任董事职务;而钱福卿本人在公司没有直接持股也没有担任职务。
图片来源:企查查截图
数据显示,目前福隆集团并未直接持有创健医疗的股权,但福隆集团的子公司福隆医疗器械集团有限公司仍通过常州中健隆岳创业投资中心(有限合伙)间接持有创健医疗1.10%的股权。
“其实在2010年做创生控股的时期,我们就觉得‘再生医学’会是将来的重点发展方向。”钱松曾在采访中表示。
据“趣解商业”了解,创健医疗主要聚焦重组胶原蛋白领域,已覆盖重组I、II、III、XVII型、小分子胶原蛋白;在业务层面,创健医疗业务主要分为三大块,分别是原料、医疗/化妆品终端品牌打造、ODM业务,已服务30余家上市公司。
瞄准胶原蛋白市场,
从创生控股到到创健医疗,从骨科医疗器械到重组胶原蛋白领域,钱氏父子长期在关注“大健康”市场,但为什么聚焦在合成生物学领域的“重组胶原蛋白”呢?这个赛道又有怎样的潜力?
要了解“重组胶原蛋白”,必然离不开它所处的医美市场,及其与“透明质酸”的比较。
随着“颜值经济”和“功效护肤”的流行,中国医美市场从2014年开始进入高速发展时期;2019年,互联网医美平台新氧科技(SY.US)登陆美国纳斯达克,成为“中国互联网医美第一股”。
图片来源:罐头图库
而随着医美平台的崛起,医美材料供应商也开始在这块肥沃的土壤上快速生长。通常说来,医美市场有两大异体注射填充材料:透明质酸和胶原蛋白。
透明质酸,又称“玻尿酸”,具有特殊的补水修复作用。
2019年,国内玻尿酸产业链龙头华熙生物(688363.SH)上市;同年,主营玻尿酸产品的昊海生科(688366.SH)在科创板挂牌上市;2020年,“国内医美玻尿酸针剂龙头”爱美客(300896.SZ)在深圳证券交易所创业板上市。这三家企业在业内被称为“医美三剑客”,其中爱美客以千亿市值、百倍市盈率,一度被称为“医美茅”。
但随着赛道内卷、产能扩张,玻尿酸原材料价格也开始持续下降,玻尿酸市场增速减缓。玻尿酸龙头企业华熙生物2023年中报数据显示,营业总收入30.76亿元、同比增长4.77%,归母净利润4.25亿元、同比下降10.27%;这是华熙生物自2019年上市以来,首次在半年报中出现负增长。
图片来源:罐头图库
而不同于透明质酸在资本市场的遇冷,胶原蛋白的热度让相关企业的市值一路飙升;这主要是因为重组胶原蛋白作为新材料,产品应用空间还有待开发,具备高溢价能力。
根据《国际金融报》综合多家上市公司的招股书数据分析,玻尿酸功能性护肤品/医用敷料的毛利率在75%-85%;而重组胶原蛋白功能性护肤品/医用敷料的毛利率可以达到85%-90%,明显高于玻尿酸。
这两者有何区别呢?打个比方,给皮肤补充透明质酸就像是“给植物浇水”,而补充胶原蛋白则像是“为植物施肥”;所以近年来,重组胶原蛋白受到了市场的热捧。
目前在中国市场,主攻重组胶原蛋白的上市公司主要有巨子生物(2367.HK)和锦波生物(832982.BJ);其中,被称为“重组胶原蛋白第一股”的巨子生物主要生产类人I型胶原,锦波生物主要生产类人III型胶原蛋白。
图片来源:小红书
相比较而言,创健医疗的优势是在于其研制的XVII型(17型)胶原蛋白。这种胶原蛋白被誉为重组胶原蛋白中的“明星”,因为不同于其他只能用于皮肤抗衰,17型可应用在脱发、头皮抗衰领域。2023年12月,大麦微针植发就曾宣布与创健医疗的子公司悦白生物科技(北京)有限公司合作推进重组XVII型人源化胶原蛋白用于脱发的临床试验。
据“趣解商业”了解,创健医疗是全球首家自主研发并规模化生产重组XVII型胶原蛋白的企业;其重组17型胶原蛋白在2021年已“完成中试,可以投入量产”;2023年,重组XVII型胶原蛋白被收入国际化妆品原料目录。
这几年,重组胶原蛋白发展迅猛和巨大的市场潜力,受到了资本市场的看好。
根据弗若斯特沙利文数据显示,预计到2026年,基于胶原蛋白的皮肤专业护理产品的市场份额将超过透明质酸;到2027年,中国胶原蛋白的整体市场规模将达到1738亿元,其中重组胶原蛋白产品的市场规模为1083亿元,占比62.3%。
2022年4月,华熙生物以2.33亿元收购益而康生物,下场进入重组胶原蛋白赛道;同年,爱美客斥资3.5亿元通过旗下控股公司收购沛奇隆100%股权,后者旗下主要产品就包括生物蛋白海绵、胶原蛋白系列产品等。
图片来源:企查查截图
除了华熙生物、爱美客等医美领域老牌玩家入局,还有像鸿星尔克这样跨界入局的新玩家。
2023年12月21日,多映(厦门)生物科技有限公司(以下简称“多映生物”)在厦门举行了一场发布会,推出了美妆品牌“多映”和“医本通”,并发布了一系列以重组胶原蛋白原料为主打的美护产品。
据企查查显示,多映生物公司注册在厦门市鸿星尔克大厦内,现任鸿星尔克投资公司董事长的吴荣光,是其持股80%的大股东和实控人。
图片来源:企查查截图
有资料显示,多映生物新推出的两大美妆品牌,均是与聚源生物战略合作;与创健医疗类似,聚源生物也是原料企业与OEM厂商,产品主要是重组III型人源化胶原蛋白。
而对于这个千亿赛道,外资企业们也想要加入“分一杯羹”。
2023年12月9日,欧莱雅推出“小蜜罐面霜二代”;而这次推新,是欧莱雅携手锦波生物,首次引入重组胶原蛋白技术。钱松本人也曾在采访中透露,创健医疗与资生堂合作的医美产品也将于今年面世。
重组胶原蛋白赛道火热,创健医疗也早已被资本“相中”。数据显示,创健医疗在2021至2023年间已经获得三轮融资,其中,A轮及B轮的这两轮融资金额总计已超4亿元人民币。
其中最受瞩目的就是来自LVMH和资生堂的投资。据IT桔子数据显示,2022年8月,创健医疗的A 轮融资获得了由资生堂旗下资悦基金领投,华方资本、鼎晖百孚、华立医药跟投,融资总金额近2亿元。
图片来源:IT桔子截图
企查查数据显示,2023年9月,创健医疗完成超2亿元B轮融资,由LVHM集团旗下的LCatterton(路威凯腾)和中信证券旗下中信里昂资本联合领投。
图片来源:企查查截图
也就是说,仅1年左右的时间,创健医疗就已经拿到4亿元左右的融资。其中值得一提的是,这两次投资都分别是两个外资基金进入中国后的首笔投资,从中或许可见国内外资本对于中国重组胶原蛋白市场的信心。
有了前几次融资打底,创健医疗此次启动IPO也算是一种“顺势而为”,而且资本市场中也不乏重组胶原蛋白企业上市成功的案例;不过创健医疗最终能否顺利上市,目前还尚未可知。
据普华永道于今年年初发布的信息显示,2023年A股IPO数量有所放缓,且在一定阶段内,A股IPO仍会保持紧缩态势;Wind数据显示,2023年A股共有258家企业IPO撤回。
从美妆领域企业的上市情况来看,2023年至今,已经有5家相关企业主动撤回上市申请,包括环亚生物、湃肽生物等;其中,“苦战”IPO超7年的毛戈平也主动撤回了申请。
此外,创健医疗在医疗/化妆品终端业务板块拥有“悦白”、“悦白之几”两个品牌,但这两个品牌在市场上的知名度目前还远不及巨子生物的“可复美”和华熙生物的同名品牌等。
图片来源:创健医疗官网截图
从创健医疗的业务构成来看,公司主要还是以原料定制为主;但是,从当前行业现状来看,原料生意并不容易做大。以华熙生物为例,其2022年原料业务实现收入9.8亿元,营收占比仅15.4%,而护肤品业务占比超过70%。
同时,创健医疗还需要承担大量的研发支出;钱松曾向“中新经纬”透露,创健医疗的研发费用占到总投入的20%以上。
综合来看,重组胶原蛋白市场的竞争势必是一场持久战。在这个过程中,除了要面对纷纷入局的竞争对手,还要考虑生产侧的效率和成本、应用效果的提升、行业标准的缺乏等诸多问题。要想在激烈的竞争中胜出,强大的技术与资金支持缺一不可。
越来越卷的美妆领域,压力与机遇并存;创健医疗能否搅动重组胶原蛋白赛道、赢得资本市场的认可,还需要时间验证。



