透明导电薄膜是LCD、OLED等显示屏中不可或缺的组成部分。现有应用最广泛的材料为氧化铟锡(ITO),未来更有金属网栅、纳米银、石墨烯等新型可替代材料。
在导电薄膜镀膜性质探究的实验中,样品的导电率是必不可少的数据。为了研究样品导电率变化的深层原因,我们很多时候还需要载流子浓度和载流子迁徙率的数据。市场上所有的四探针测试仪价格昂贵,如果实验经费不足,可以考虑自己组装实验装置。
这里我将介绍两种我自己在德国汉诺威激光研究所设计并测试确认数据精确有效的测量装置。由于篇幅有限,有些具体公式原理不会一一推导阐明,请读者谅解。
图1 KEITHLEY 2450
图2 四探针测量法原理图
如图2所见,四探针测量需要四根等间距(不等距时的计算更为复杂)的探针同时接触样品表面,外侧两根通过电流,内部两根测量电压。对于薄膜样品(样品厚度远小于样品直径),计算公式如下:

ρ:样品电阻;UBC:BC点之间电压;I:测量电流
K1,K2为修正系数。
K1为样品直径修正系数:

S:探针间距;D:样品直径
K2为边界效应修正系数:
当探针组连线平行于样品边界时:

当探针组连线垂直于样品边界时:

l:探针组到样品边界的距离。
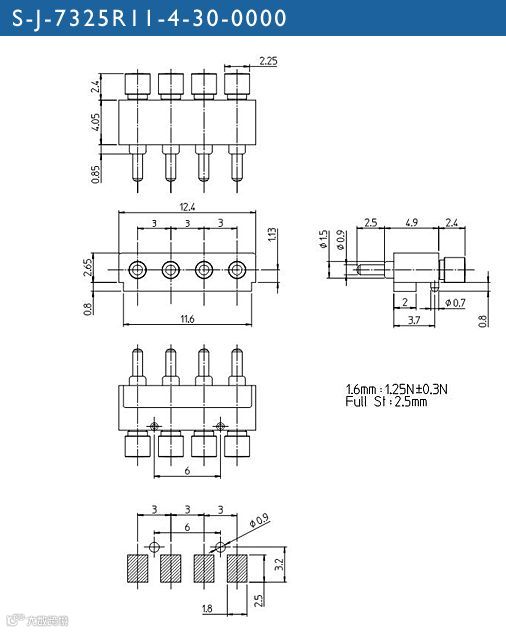
自制四探针测量装置的关键是找到合适的测量探针。这里我所用的是YOKOWO 公司的S-J-7325RII-4-30-000型号弹簧探头组。这组探头的优点是探头间间距合理且误差小,内置弹簧可以使测量时每个探头都与样品良好接触,圆形探头可避免在测量时造成样品划伤。
图3 弹簧探头内部结构
图4 S-J-7325RII-4-30-000 具体结构与数据
为了让装置更为美观和便于使用,我们需要给探针组设计一个轻便牢固的外壳。下图是我用Solidworks设计的简易外壳,用四角上的螺丝来固定探针组。如果怕不牢靠可以把探针组用胶水固定在外壳上。
图5 四探针测量装置外壳设计
下图是实际的四探针测量装置,外壳由塑料制成,绝缘而且轻便。每个探针尾部与不同颜色的导线相焊接,装置上的四组字母对应了四个探针所焊接联通的导线德语颜色名(Schwarz黑,Grün绿,Gelb黄,Rot红。)
图6 四探针测量装置使用图
范德堡法是一种可以测任意形状样品电导率的方法。具体测量方法如下图:在样品的边缘上取四个测量点,分别按照图中所示的测量顺序测得电压和电流,电压除电流得到电阻数据R1、 R2、 R3、 R4。
图7 范德堡法测量步骤
通过下列公式和四个电阻数据可得样品电阻率:

f为修正因数,与
的大小有关:

f根据
的变化曲线如下图:
图8 f根据
的变化曲线
这里我选用了HARWIN公司的P25-0423探针作为范德堡法测量装置的探针。和四点法所用的探针组类似,这探针也是内置弹簧可伸缩,保证了良好的接触性。
图9 P25-0423 的具体数据
实际的范德堡法测量装置分为三层,都由塑料通过车床及铣床手工制成。如果有条件,通过3D打印机也可方便制作。事先说明,由于我在研究所研究的样品基片均为直径25 mm的Menzel玻璃,所以我所设计的装置只适用于该尺寸的基片的数据测量。各位如果有兴趣,可以尝试考虑改进这个装置。例如用弹簧夹片替代探针,从而灵活适用于其他形状的样品。
图10 范德堡法测量装置及配件
下面我简单介绍一下3层装置的不同作用:
图11 范德堡法测量装置第一层
这是从下向上数第一层,主要起到支撑探针和调节探针与样品接触高度的作用。右边的凹槽用于引出与探针相焊接的导线。
图12 范德堡法测量装置第二层
第二层的作用主要是通过靠近中心的四个小孔固定探针的位置。如需测量不同形状的样品,可单独制作新的第二层圆盘,无需将装置全部替换。
图13 范德堡法测量装置第三层
第三层圆盘的下方有一圆形凹槽,用于固定圆形样品,上方的长条形凹槽是用于霍尔效应测量时安置磁铁,缩短磁铁与样品距离从而获得均匀稳定的磁场。
正如上文所提到的,范德堡法测量装置可同时用于样品霍尔效应的测量,从而通过公式:

(n:载流子浓度;I:样品电流;B:磁感应强度;e:单位电荷量;d:样品厚度;UH:样品两侧电压)和
(
:导电率;μ:载流子迁移率)得到载流子浓度和载流子迁移率的数据。霍尔效应原理这里不再赘述,具体测量方式如下:
图14 霍尔效应测量连接方式
实验所用磁铁可见图10。值得注意的是,由于埃廷豪森效应,里吉-勒迪克效应等热磁效应的共同作用,想要获得准确的霍尔效应电压,需变化电流和磁场方向进行四次测量:
+B, +I: 测得U1
+B, -I: 测得U2
-B, -I: 测得U3
-B, +I: 测得U4
最终获得的霍尔电压为:

表 四点法与范德堡法装置测量数据对比

表中数据来源于我在汉诺威激光研究所通过不同氧体积流量和膜厚制作的ITO膜。由表可见,两种方法测得的面电阻数据差距很小,最大偏差只达3.56%。由此可见,两种装置的数据精确可靠。
总结
本文简单介绍了两种测量导电薄膜电学性质装置的自制方法,为大家制作测量装置提供思路和经验。四点法的装置灵活轻便,范德堡法的装置可同时测载流子浓度与迁移率,但受限于样品尺寸,仍有待改进。
作者:汉诺威大学 闻廉之
由光电汇领衔打造的
光电行业专业媒体
带你快速进入光电圈
—END—
关注我们,从这里开始
我们的微信矩阵
本文版权所有,未经授权,谢绝转载
如需转载,请联系oepn@siom.ac.cn
(欢迎转发到朋友圈~~)

