案件信息:
案件号:25-cv-14271
立案时间:2025年11月21日
原告:Jonathan Kotyk
代理律所:Dewitty And Associates, Chtd.
起诉地:伊利诺伊州
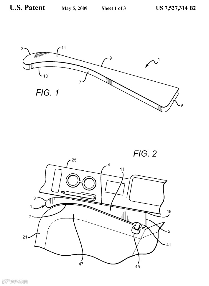
Kotyk针对车辆座椅间隙易掉落物品、存在安全隐患的问题,设计了一款通用防护装置。该产品采用轻质阻燃材料,可快速适配并稳固安装于不同车型,有效防止物品滑落,且不影响车辆正常功能。
案件进展:
商标/版权/专利信息:
LuBan666A
案件信息:
案件号:25-cv-14271
立案时间:2025年11月21日
原告:Jonathan Kotyk
代理律所:Dewitty And Associates, Chtd.
起诉地:伊利诺伊州
Kotyk针对车辆座椅间隙易掉落物品、存在安全隐患的问题,设计了一款通用防护装置。该产品采用轻质阻燃材料,可快速适配并稳固安装于不同车型,有效防止物品滑落,且不影响车辆正常功能。
案件进展:
商标/版权/专利信息: