01
巧用Facebook平台
02
海关数据挖客户
海关数据的特点:
详细性:包含进出口商品的具体类型、数量、价值、生产商、目的地等详尽信息。
实时性:实时更新,反映当下贸易活动和趋势。
全面性:涵盖各种商品和行业,提供全面市场信息。
可靠性:由海关部门记录管理,可靠权威。
参考价值:可作市场分析和预测参考,助企业决策。
利用好海关数据:
筛选目标市场:根据进出口情况,找出潜在市场和客户群。
分析竞争对手:了解其进出口及策略,找竞争合作机会。
识别潜在客户:依据进口商信息,了解需求和采购习惯。
建立联系:通过邮件、电话、展会等与潜在客户联系。
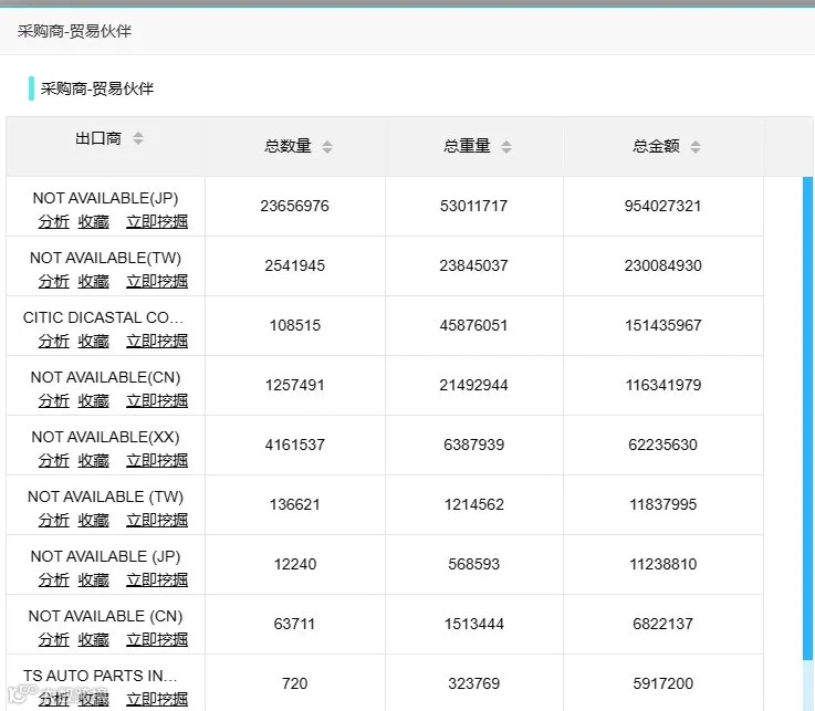
比如您从事汽配行业,我们能在海关数据中设定中国为出口国,输入产品“auto parts”,随后就能看到您同行的所有出口贸易记录以及他的采购商。
比如这家福州公司,我们可以顺藤摸瓜,直接分析,找到这家福州同行的所有供应商,这些,都是你的准客户
可以单向点击,查看同行与准客户的交易频次,
并反向查询这家美国公司的其他供应商信息,查看还有其他哪些同行在给这家公司供货,看来这个客户是中国的大客户啊
接下来,就可以,去找这些客户的交易记录,查看详细的采购产品,采购频次,还可以查看到具体的采购商的名字、数量、重量、金额。
03
地图里面的商机
比如:我们如果想去伦敦出差,可以将伦敦附近的客户都找出来,
04
领英找准决策人
很多人用领英就是大量加陌生人,或者大量发消息,导致最后自己再用用不了领英。其实领英是用来养鱼钓鱼的,不是让你滥用的。
用好领英的几个要点:
1:找准决策人,想好话术再添加。
2:把自己包装成行业专家,发布有价值的动态,吸引客户主动找上门,这个和用FB思路差不多。
3:持续使用,建议每周都要准备1-2篇原创内容分享。可以是你的产品技术分享,公司动态分享,行业资讯分享等。
重点学习下:people, companies, groups这几个功能的获客。
我之前就是用这个方法,一年多在领英开发到12个客户。
更多领英方法,请看这个操作:
星标一下再走呗!
扫码关注外贸客户开发|引擎找客户|Google地图|决策人挖掘|海关数据找客户|品牌搜索|采购商询盘|邮件营销|WhatApp开发|领英找客户,带你遇见更多客户,欢迎关注微信了解
扫码关注
图灵搜免费试用
1、谷歌地图搜索:基于谷歌地图搜索目标客户网站,公司名称,邮箱,电话,社交账号等信息
2、贸易情报:公司名称自动匹配海关数据筛选点亮进口商
3、决策人挖掘:根据网站/公司名称深挖决策人邮箱
4、领英群控 :自动加领英好友,群发好友
5、多任务搜索:在地图上实现多个地区多关键词搜索
6、思玛特搜:基于搜索引擎批量搜索客户网站及联系方式
试用地址:
http://t.smartsousou.com/w/4EAE42
1. 根据产品关键词/HS编码查看各国家采购商列表,进口统计
2. 通过买家公司可查他的供应商,以了解竞争关系
3. 查同行公司的采购商,寻求更多合作机会
4. 监控客户今年新增哪些供应商、流失哪些供应商
试用地址:
https://hg.smtso.com/?i=4EAE42

