2025年12月2日,中国证监会的一纸备案通知书,将一家从KTV场景中崛起的机器人公司推至资本市场聚光灯下。优地机器人(无锡)股份有限公司赴港上市及“全流通”计划获准通过,这家以其产品“优小弟”、“优小妹”而闻名的商用服务机器人企业,正式叩响了港交所的大门。

根据备案信息,优地机器人计划发行不超过7360万股境外上市普通股,并在香港联合交易所主板上市。更具标志性意义的是,公司33名股东计划将合计持有的约2.37亿股境内未上市股份转换为境外上市股份,实现“全流通”。这一步骤的完成,意味着优地机器人已满足启动香港上市聆讯最关键的前置条件,其IPO进程进入了实质性冲刺阶段。
优地机器人的故事始于通信,成于机器人。公司前身可追溯至UT斯达康(中国)股份有限公司的终端事业部,其创始团队核心也源自这家以“小灵通”闻名的高科技通信公司。
公司的运营由董事长卢鹰与总裁顾震江主导。顾震江是团队中的关键人物,他在UT斯达康拥有超过十年的工作经历,曾担任机顶盒产品线的负责人,积累了深厚的硬件产品管理和市场拓展经验。这支从通信行业走出的团队,为优地机器人注入了扎实的硬件研发和工程化基因。创业初期,公司甚至曾是英伟达在国内无人驾驶领域唯一的合作伙伴,从事移动GPU和无人驾驶研发项目。然而,技术理想很快遭遇商业现实。他们发现,前沿的无人驾驶技术服务项目周期长、变现慢,难以支撑初创公司的生存。

顾震江
生存压力倒逼出清晰的场景选择。2016年,公司果断转向,将无人驾驶技术降维应用于室内自主导航机器人。他们没有选择宽泛的概念,而是精准锚定了两个高频、刚需的封闭场景:KTV和酒店。理由简单而务实:这些场所物品配送频繁,劳动力成本高且流动大,老板对“降本增效”有强烈的付费意愿。
2016年,推出首款酒店配送机器人“优小妹”。2017年,专为KTV酒水配送设计的“优小弟”问世,凭借能替代一层楼近三分之二配送量的高效表现,迅速打开市场。
在配送机器人领域站稳脚跟后,优地机器人一方面将产品线拓展至室外园区、地下车库等半封闭环境的“优小哥”无人驾驶配送车;另一方面,积极开辟“第二战场”,推出“优小姑”系列商用清洁机器人,进军商场、机场等大型公共区域的地面清洁市场。与此同时,其商业模式也灵活采用“销售+租赁”相结合的方式,特别是按月租赁模式,将客户的一次性高额投入转化为可承受的运营成本,极大地加速了市场渗透。
十年深耕,成果显著。截至目前,公司的自有品牌机器人已经遍布全国600多个城市,为上万家商业场所,提供平均每天超300000人次的引领、配送、清扫等服务,累计服务超10亿人次,已在全球20多个国家和地区落地应用。
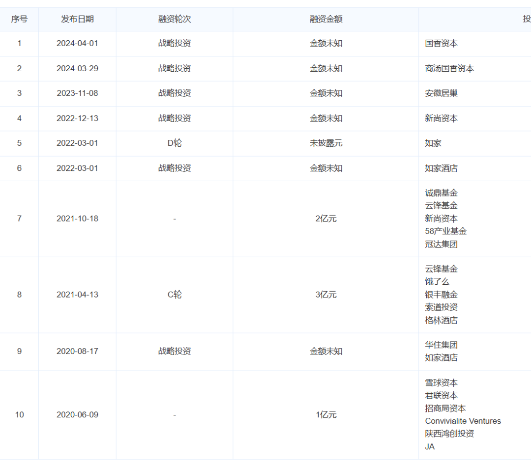
从成立到现在,优地机器人历经至少11轮融资,累计融资额接近20亿元。
来源:爱企查
2014年,优地机器人获得UT斯达康的天使轮投资,UT斯达康主要是基于对创始人团队的信任进行的投资,这笔投资帮助优地机器人完成了技术积累与方向探索。
2016 年,拿到新恒基、科大讯飞的数千万元A轮。
2018-2019年完成了B轮及B+轮融资,投资方包括知名投资机构君联资本、索道投资、雪球资本等,规模化扩张资本,助力产品快速推向市场。
2021年的C轮及C+轮引入了云锋基金、饿了么、诚鼎基金等产业资本,阿里系资本注入,强化了与本地生活场景协同;而国资背景基金进入,帮助优地机器人开拓园区、公共项目等渠道。
2020-2022年,优地机器人完成多轮战略融资,华住集团、首旅如家、格林酒店下游核心客户参投变股东,形成深度战略同盟,确保产品落地和场景深耕。
2025年,优地机器人宣布完成了规模最大的战略融资:Fluidra、云启资本等机构共同投资了10亿元。
优地机器人获得了产业链上下游、资本市场、政策资源三方的共同认可,这也是它能在一个烧钱又漫长的行业里跑到准上市的重要原因。
中国服务机器人市场正处于高速增长期,2024年市场规模达738亿元,同比增长22.89%,预计2025年将达850亿元。从全球视角看,中国厂商在商用服务机器人出货量上已占据约85%的份额,普渡科技等头部企业领跑全球市场,显示出强大的供应链和产品力。
然而,行业整体的繁荣并未普遍转化为企业个体的盈利。即使是已上市或拟上市的公司,也难逃巨额亏损。以已上市的云迹科技为例,其2022至2024年连续三年亏损,累计亏损额达8亿元。这背后是行业固有的几大挑战:
1. 场景碎片化:酒店、餐厅、医院、商场等场景流程、标准差异巨大,导致机器人产品定制化程度高,难以通过标准化实现规模效应,研发和部署成本居高不下。
2. 成本刚性:核心硬件(电机、传感器、芯片等)受制于供应链规模和特殊要求,降价速度远慢于消费电子产品,使得整机成本难以压降到客户心理价位。
3. ROI(投资回报率)瓶颈:客户决策高度理性,只有当“机器人节省的人力成本 > 硬件成本 + 部署成本 + 维护成本”时,采购才会发生。目前许多场景下,机器人仍难以在合理周期内跑赢一个普通服务员的工资。
早期资本热衷于追逐能够覆盖多场景的“平台故事”。但当下,像优地机器人这样,在少数几个高频、刚需场景(如酒店配送、KTV配送)中做到绝对领先,并已验证单位经济模型的公司,将更受青睐。投资人将更关注企业的现金流状况、客户复购率及单一场景的盈利潜力,而非单纯的市场占有率。
行业正从上半场的“单一移动能力”向下半场的“多技术栈融合”演进。未来的服务机器人不仅需要自主移动(Navigation),还需具备基础的操作(Manipulation)与交互(Interaction)能力。这意味着,在机械臂控制、灵巧手、多模态人机交互等关键技术上有储备的公司,将拥有更长的生命周期和更高的壁垒。然而,“通用人工智能机器人”道阻且长,中期内,“在专用中孕育有限通用能力”是更现实的路径。
优地机器人验证的“租赁模式”(RaaS,Robot as a Service)能降低客户初始门槛,形成持续现金流,是更健康的模式。更具颠覆性的机会在于,企业不应只盯着“替代人类已有的工作”,而应探索“创造人类无法直接实现或效率极低的新价值”。例如,无人仓储的24小时连续分拣、医院内部的跨楼宇自动化物流、智慧楼宇的自主巡检与数据收集等。在这些场景中,机器人的价值基准不再是人力成本,而是开辟了新的效率边界。
优地机器人从KTV跑进港交所的殿堂,是一部关于技术降维、场景聚焦与资本耐心的教科书。它昭示着,商用服务机器人行业的草莽时代正在结束,一个属于专业主义者、场景深耕者和财务自律者的新时代正在开启。
对于投资人而言,故事的魅力不再来自于“机器人将取代所有服务员”的宏大叙事,而在于精准识别那些在特定战场上,用更低的成本、更可靠的方式,解决了真实商业痛点的团队。在这个从“人力替代”走向“价值创造”的范式转移中,最大的投资机会将属于那些能重新定义机器人在商业世界中角色的创新者。
END


