文章副标题:多年的流水账如何迅速形成每个会计期间的财务报表?
如下故事是财叔的粉丝投稿,是她2022年的亲身经历,非常精彩,财会人耐心看完一定能学到东西,财叔在此给大家强烈推荐。
我,财务女26岁,没有任何的人脉资源,毕业只有不到3年的财务工作经验,历经坎坷,终于面试上了一家公司的财务经理,月薪15000元,我对此非常满意,可能很多人跟我一样经历的人都比不上我吧。

刚去公司上班的第一天,就接到老板给我指派了一项重要工作:
公司没钱了,要做天使轮融资,其他资料投资者那边都过了,还差财务资料,投资者要求提供近三年每个月真实的财务报表,我们之前提供的报表的数据是不全面的(不全面,其实做过会计的都懂),并不是公司成立4年(201805-202204共48个月)真实经营的数据,投资者那边不认。老板让我负责在一个月内把4年的真实经营数据的账建立起来,给投资者提供近三年每个月的财务报表,弄出来了,可以直接转正,否则过不了试用期。

工作不到3年就面试上的财务经理的工作,果然不是能轻松胜任的活!经过多方面打听,前面还来过好几个人,都是经验丰富的老财务了,均觉得条件太苛刻,短时间内不可能把4年的业务理清楚并整出来全部入账,根本是强人所难,要么主动走了,要么无法胜任被通知过不了试用期。现在距离投资人给的最后期限越来越近,就只剩一个月了,老板越来越心急,放高薪只为遇到财会界的能人异士,可能HR是被逼急了,死马当活马医才招了我。

我心想,我好不容易来一个职业生涯的晋升,总不能这么快就夭折了吧?无论怎么样,我都要尝试一下,毕竟这份工作对我来说是这么的重要,毕竟尝试过,才不会后悔,毕竟人在极大压力下,说不定可以逆风翻盘。
经过请教财叔,和自己的仔细思考,结合我的工作经验,我心里有了一个简单的计划:
第一步:了解公司成立4年以来真实经营的数据资料现况。
第二步:根据现有的数据资料,利用合适的财务软件,批量生成凭证。
有了计划,我就不再慌张了。通过与老板的详细了解,我得知公司成立4年来一直有一个员工负责管理所有收支情况,并按月记录在Excel表中,确保有完整的经营流水账目,直到上个月末,余额都是正确的。当知道数据是完整的,我就放心了。至少这个任务是可以完成的,只是时间长短的问题而已。
接下来,我就开始了解公司正在使用的财务软件,是否能实现批量生成凭证。公司的软件是有这个功能,但是可能版本老旧,很不方便。首先需要导出凭证模板,然后还需要在模板上调整符合的格式,还有英文,估计整理一个凭证,都不如我用手一个个凭证敲进去。
根据我的了解总结,依靠公司原有的财务软件,根本不可能在1个月内完成4年的账。我还需要找到一个合适的财务软件,于是我试着在度娘上搜索条输入:多年的流水账如何迅速形成每个会计期间的财务报表?搜索结果如图所示:

我心想,免费?会不会没用呢?不过我刚到一个公司就让老板花钱买软件,老板大概率是不同意的,刚来公司,还没给公司创收,就想花钱?这个免费正好,先了解一下,说不定合适呢。
我抱着试一试的心态点开了【柠檬云财务软件】,结果,让我兴奋了许久,竟然有我以前都不知道的这么智能的财务软件:柠檬云财务软件的设计者绝对是懂财务的,所有的功能都是为财务量身定制,非常智能,重点还能免费使用。
关键是在我详细了解了它凭证模块的导入导出功能,非常适合解决我所遇到的问题:能根据现有的数据资料,利用合适的财务软件,批量生成凭证。
下面我来详细介绍它到底哪些地方非常合适了。
1、批量导入的模板很简单很适用。
柠檬云财务软件凭证模块的批量导入凭证这个功能很智能,其导入的模板,使用简单,我一下子就看明白怎么批量导入了,而且哪些地方不会操作的话,还能点击视频观看,相信熟练操作电脑的财会人员完全可以自己操作,不用经过软件技术人员。


柠檬云财务软件设置模块,对公司的基础资料自行批量导入导出也非常方便,我可以在公司原有的财务软件上,直接导出基础资料,然后直接导入到柠檬云财务软件,同样,科目、辅助核算项目的导入如果不懂,也是可以在相应的模块点击查看视频教程。


因为我要补的账是4个年份的,我了解到我公司正在使用的财务软件不能导入多个期间的凭证,需要一个期间一个期间地进行导入,但是柠檬云财务软件可以。也就是说,柠檬云财务软件批量导入的功能,不受财务软件所在期间的影响,可以直接批量导入多个期间的凭证,把所有凭证导入后,再挨个期间进行结转损益和结账即可。这个功能助我快速导入凭证,这是可以加速的好软件。
在了解柠檬云财务软件过程中的同时,我大概也有整理资料以及批量导入凭证的思路了,接下来我为大家简单介绍一下:
1、导入现有财务软件的基础资料到柠檬云财务软件,比如科目、辅助核算项目等做账的基础资料。
由于导入成功的前提,导入凭证所用到的科目以及辅助核算项目,在账套中是必须要有的,这是每一款财务软件的底层逻辑。
2、分类整理4年的资金流水账,分类无需区分期间进行批量导入凭证。
我根据记录所有收支的同事给我的表格,全部分类汇总整理了一下,4年的流水账,总共有6个资金账户,共有2966条收支流水,共有33个收支类别,如下图所示:


当然,这里说明一下,这个汇总表格的分类整理非常重要,每一条资金流水必须对应唯一一个分类,分类完成后,按细分类分别进行批量生成凭证,也就是说33个分类,资金流水,我就需要批量导入33次。
(所幸,4年的资金账户汇总到一起共2966条收支流水的分类整理工作,我还能分配给做流水登记账或者其他的同事,但是分录必须准确,这是我对他们的完成这项工作的基本要求。)
3、生成结转凭证,每个期间进行结账,并导出各个期间的财务报表。
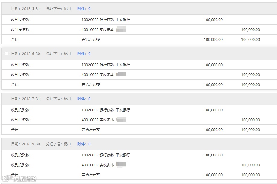
在分类完成后,我就开始批量导入凭证,我给大家举例“实收资本”吧。
第一步,在分类整理那里筛选输入“实收资本”:

第二步,把实收资本对应的条数,通过复制增加到凭证模板中,并且完善对应的借贷方科目,金额、每条凭证记录的日期、凭证号、科目编码等,并进行导入:


选择相关的文件,导入凭证后,即可按照月份生成多张凭证和手工录入的是一样的,真的非常智能。

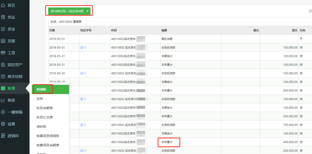
第三步,导入完成后,检查对应的科目余额表或者明细账的借贷方累计数,是否和汇总表“实收资本”的金额一致。

我检查后,是一致的,说实话,我当时非常兴奋。是不是经过我这样介绍后,你也知道怎么批量生成凭证了?
后面,其他32类,我也是这样的步骤,有些分类由于细分的原因,可能还分几次进行导入,这就是我快速把资金流水生成凭证的方法。
等等……
等我把所有的分类批量生成凭证后,最后核对6个资金流水的余额是否一致,所幸,每个账户余额与资金流水账的余额是一致的。我非常高兴,我知道资金流水账全部生成了凭证,我的工作已经完成了80%。最关键的是,我已经利用柠檬云财务软件找到了解决的办法。
剩下的20%的工作就是结转凭证生成的问题了,我向相关负责的人员收集4年完整的销售明细表、采购明细表、成本结转表、存货结存表、工资表、固定资产明细表、税款缴纳明细表、客户欠款余额表、供应商欠款余额表等,进行批量整理汇总数据,最终也是同样的方法,批量生成凭证。
但是在结转损益之前,必须要先整理凭证号码,这个必须每个月结转损益之前整理号以后,结转损益,并当期结账。如此类推,总共结账了60个期间。
最终,我是顺利在一个月内完成了公司成立4年(201805-202204共48个月)真实经营数据的建立工作。虽然,在收集和整理、沟通资料的过程中,并不是很顺利,最多的时间也花在了这里,但也幸好,数据都是完整的,最终结合我所拥有的财务知识,财务工作经验,和柠檬云财务软件,我成功了。
我把大概的时间总结分布了一下,最终我入账的时间其实分布的权重只有3天。如下图所示:
也就是说,这个事情如果要准确完成的话,本来就有很多时间花在收集、沟通、整理资料,如果我还要一边手工一笔一笔录入凭证一边收集沟通整理资料,真的是没有办法在1个月内完成。如果不是我找到了这个批量入账的方法,可能我还不知道怎么批量整理资料,更不用说快速完成任务了。
很高兴我可以和大家分享,如下我忙乎了一个月的成果:

最后,我顺利在一个月内成功交差,老板成功从投资者那里拿到天使轮融资,我得到了老板的认可,老板说我连试用期都没有了,直接转正,工资也从15000元加到16000元,我的内心因为这个事情长时间洋溢着愉悦。
我为自己在期限内顺利完成工作感到自豪,我非常感谢我自己,也非常感谢柠檬云财务软件帮我实现了逆风翻盘,让我不到3年的工作经验就当上了财务经理,并得到老板的认可。
如果你也有类似的烦恼,可以试一下让柠檬云财务软件帮你。
如上,是我亲身经历,真心向大家推荐柠檬云财务软件。
本文为财叔税课堂原创文章,作者财叔,欢迎大家分享朋友圈,如需转载到其他平台或公众号,请在下方留言授权,侵权必究!
【财叔强烈推荐 自用3年 告别加班神器】


超350万财务人信赖之选!

电脑、APP、小程序多端同步,随时随地记账查账
1分钟轻松查验999+张发票、工资条一键群发
银行流水一键生成凭证、自动存入电子档案
不再另外装订打印、让财务档案彻底电子化
......还有更多功能等您来解锁!

以上包含广告内容,为柠檬云官方自营广告,非第三方广告,本号为深圳易财信息技术有限公司所有,所有内容和服务均由深圳易财信息技术有限公司提供。