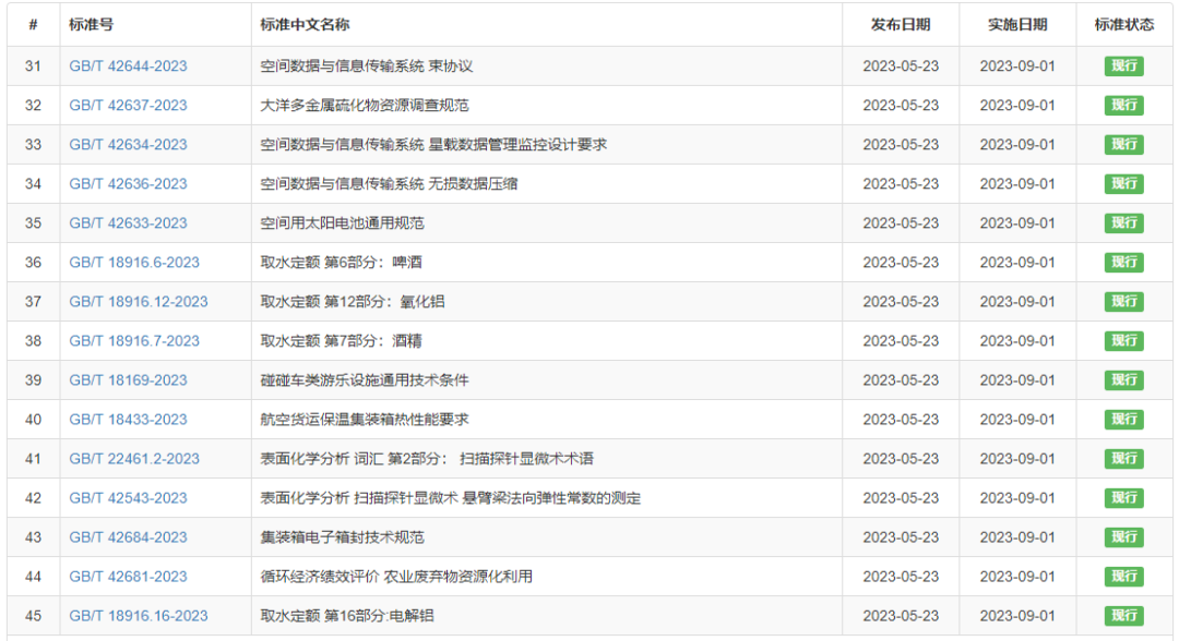
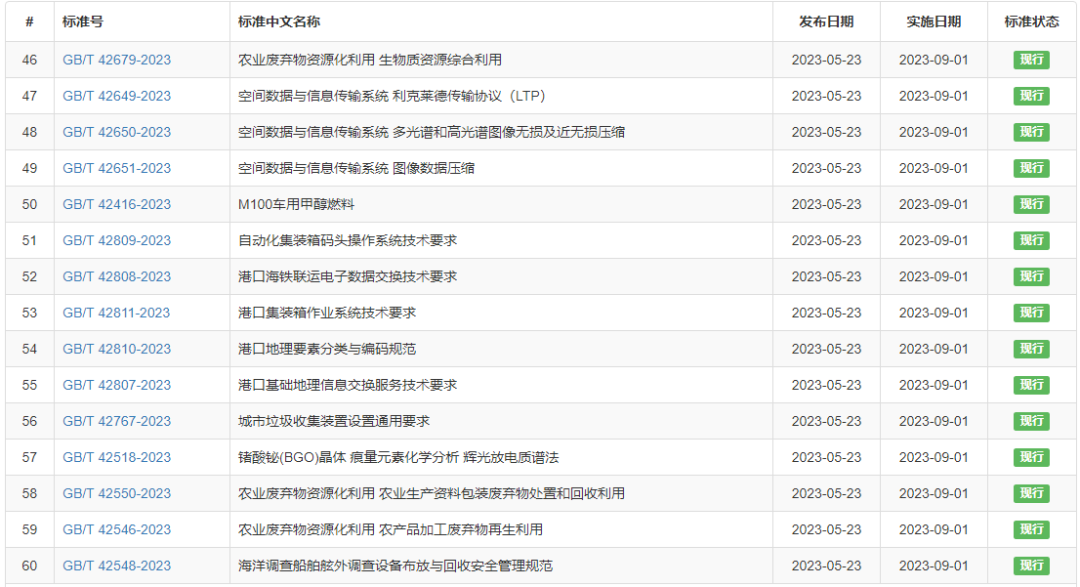
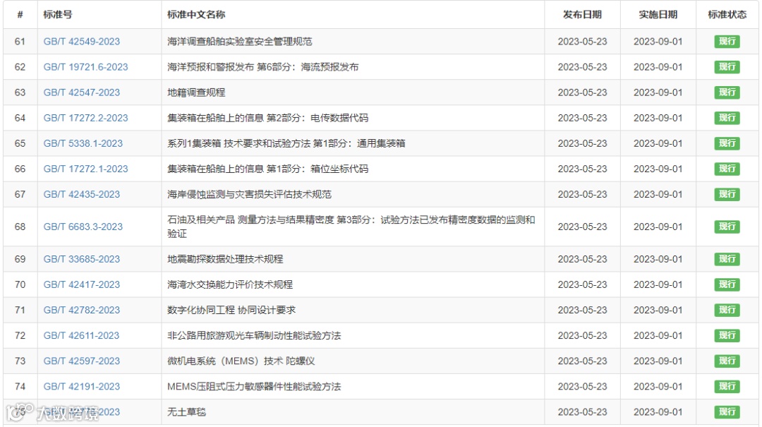
从全国标准信息公共服务平台了解到,2023年9月1日起,共有86项国家标准开始实施。其中包括1项强制性国家标准和85项推荐性国家标准。
强制性国家标准方面,今日开始实施的是《限制商品过度包装要求 食品和化妆品》(标准号GB 23350-2021),该强制性国家标准全部替代《限制商品过度包装要求 食品和化妆品》(GB 23350-2009), 归口部门为工业和信息化部。市场监管总局(国家标准委)还对标准实施中遇到的有关问题进行释疑解惑。例如,涉及标准适用范围、术语定义、包装层数计算、包装空隙率计算、包装成本计算等方面。在适用范围方面,进一步明确境内生产销售和境外进口的食品化妆品均适用于本标准,出口产品不适用本标准,赠品和非卖品也不适用本标准。在术语定义方面,进一步明确了标准中销售包装、综合商品、单件等的含义。
另外,从今日开始实施的85项推荐性国家标准中,值得注意的有《电力电容器 低压功率因数校正装置》(GB/T 22582-2023)、《空间用锂离子蓄电池通用规范》(GB/T 42635-2023)、《节水型企业 电解铝行业》(GB/T 33233-2023)、《标准样品工作导则 第3部分:标准样品 定值和均匀性与稳定性评估》(GB/T 15000.3-2023)、《空间数据与信息传输系统 无损数据压缩》(GB/T 42636-2023)等等。
以下为具体目录









