
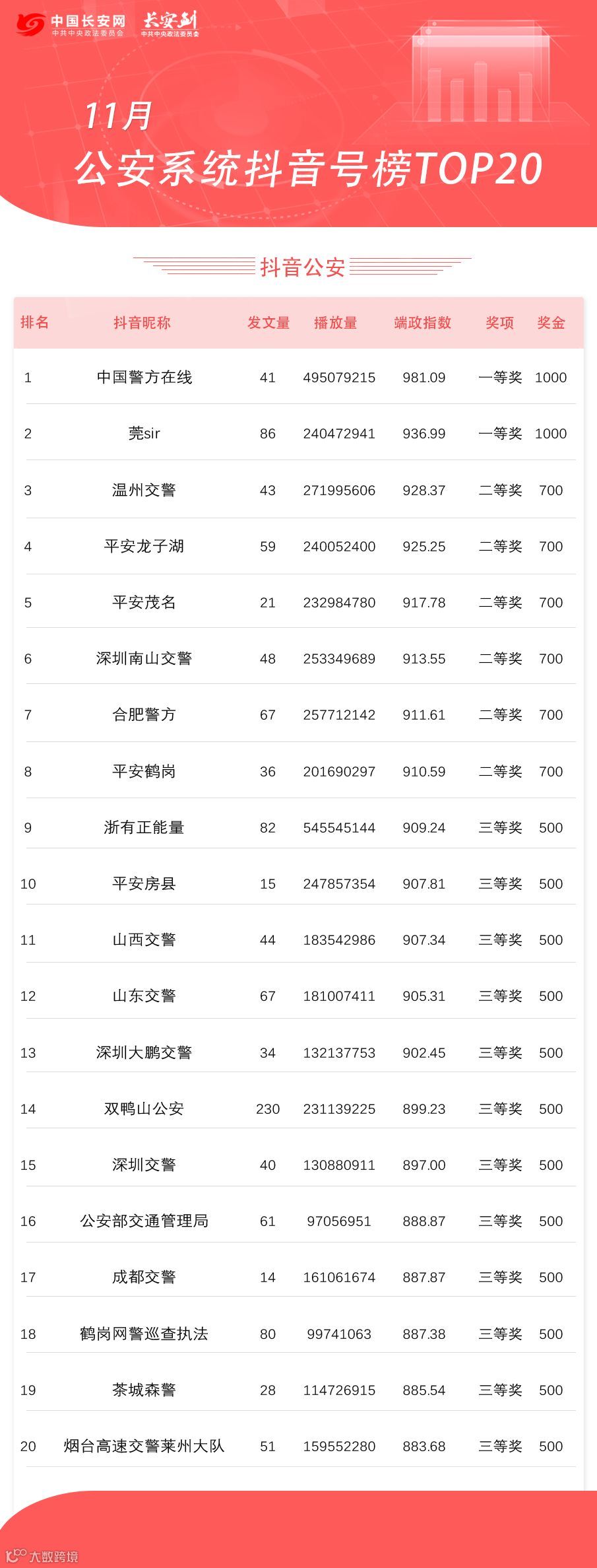
“端政指数”是综合考量单个政务头条号在一段时间内发表的图文、视频、直播、微头条、问答等内容的数量,结合每条信息的阅读量、收藏量、分享量、评论量等指标,并综合考虑平均阅读量、平均收藏转发量等十余项指标,同时使用原创度、千次阅读涨粉量进行修正后,加权计算得出的数值。可以较为客观地反映每个政务头条号在某段时间的整体质量。
2019年10月21日-11月20日

















【领奖Tips】
还不知道这些事?快戳蓝字

中央政法委长安剑
“端政指数”是综合考量单个政务头条号在一段时间内发表的图文、视频、直播、微头条、问答等内容的数量,结合每条信息的阅读量、收藏量、分享量、评论量等指标,并综合考虑平均阅读量、平均收藏转发量等十余项指标,同时使用原创度、千次阅读涨粉量进行修正后,加权计算得出的数值。可以较为客观地反映每个政务头条号在某段时间的整体质量。
2019年10月21日-11月20日

















【领奖Tips】
还不知道这些事?快戳蓝字
