全国主要流域重点断面水质自动监测周报由中国环境监测总站发布,已整理PDF周报为excel格式,方便直接使用,同时人工核对整理,除未发布周报的情况,已比较完整
全国主要流域重点断面水质自动监测周报 主要包含:
断面名称, 年, 周, 周一, 所在省份, 所在地市, 所属流域, 所属河流, 断面情况,pH值 PH, 溶解氧 DO, 高锰酸盐 CODMN, 氨氮 NH3N, 本周水质, 上周水质, 主要污染物
地表水水质评价指标为《地表水环境质量标准(GB3838-2002)》
全国主要流域重点断面水质自动监测周报 数据说明:
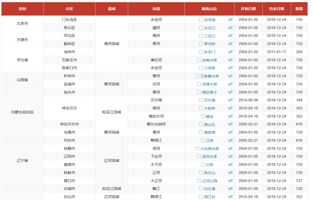
1. 全国主要流域重点断面水质自动监测周报包含2004年1月开始到2018年6月的周尺度数据,每个断面每周仅一条数据,总计160个站点数据
2. 购买国控日尺度水质数据可以获取相关周报数据,不需额外付费,有需要请联系
3. 全国日尺度水质数据集 地表水水质监测系统 中,断面名称可能有变化,周报中旧断面名称以括号形式备注在日尺度新断面名称中。周报数据除极个别断面外(2014年之前已下线),均可在日尺度(2014年开始)数据中找到对应的断面。
4. 周报取当周的周一做为开始时间
注:
1. 生态环境部发布了月度数据和日尺度数据、周报数据,另有一套生态环境部发布的全国日尺度水质数据集 地表水水质监测系统,
2. 更多水文水质相关数据集,参见中国水文数据相关资源
示例数据参见如下,完整统计信息参见网页
全国重点流域重点断面水质相关数据集说明
生态环境部发布了 4 套国控地表水水质相关数据集,
1. 日尺度水质,2014 - 今日(绝大部分2020.12月上线),地表水水质监测系统
2. 月尺度水质,2021.1月 - 本月,“十四五”融合地表水国控断面水质月度数据集
3. 水质周报,2004 - 2018,全国主要流域重点断面水质自动监测周报
4. 水质月报、年报, 因该数据集无固定的格式,且无具体的数据,仅做全国各流域整体描述,未收集整理,可参见环境部官网
常见问题
Q: 2014年之前是否有日尺度数据呢?
A: 2014年之前环境部只发布了周报数据,没有日尺度数据,可以通过简单操作使用断面名称映射表将两个数据集整合,购买日尺度水质数据赠送相关水质周报数据
Q: 这三个数据集水质指标是否相同?
A: 不尽相同,其中月尺度水质指标最丰富,周报指标较少,可以具体参见每个数据集简介
需要数据请联系我们

