923 商帮文化数据:十大商帮文化代理变量(数据+代码)
商帮是指以地缘、血缘和业缘为纽带形成的商人群体。一般认为,我国传统商帮诞生于宋朝。商帮的兴起不仅推动了经济的繁荣发展,还对当时的社会文化带来颠覆性影响。在长期的商业实践中,商帮逐渐形成了以“诚信真善、义利并举”为核心价值观的商帮文化。
商帮文化与企业融资行为:中国企业的发展普遍受到融资约束的制约,当企业无法通过正式部门获得足够的金融资源时,寻求非正式制度下关系网络的帮助便成为了其缓解融资约束的重要路径。
数据来源:皮皮侠社区分享
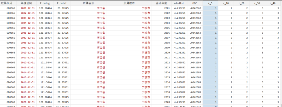
商帮文化的的代理变量定义为:
① 上市公司到商帮起源地的最近距离
②上市公司范围类5km\10km\20\30\40等km范围类的商帮起源地的数量
数据图例:

参考文献:
[1]王孝钰,高琪,邹汝康,何贤杰.商帮文化对企业融资行为的影响研究[J].会计研究,2022(04):168-178.
[2]修宗峰,周泽将.商帮文化情境下民营上市公司业绩对慈善捐赠的影响[J].管理学报,2018,15(09):1347-1358.
领取方式
皮皮侠公众号后台发送
数据编号 923
按照提示添加客服微信
发送保留2小时截图(要有10个点赞哦)和编号
会员可在网站上直接下载
扫码 或 点击阅读全文
可直接跳转至官网
注:
非会员限免费领取15份!每日限转发&领取一份,数据领取方式以最新推送为准。
本资源从网上下载,进行脱敏处理,限科研使用,请勿商用。
回复时间:周一至周五14:30-18:00
非会员转发推送时如发现P图、分组以及使用小号转发等,一律拉黑处理。
更多优质数据
262全网最新最全!EXCEL地级市面板数据!1990-2019年
270 保姆级整理!碳交易、碳排放(分行业、国家、省、市、县)最全数据集
274 产学研专题!区域、企业、地级市创新指标及研发、R&D投入
287 速度收藏!!DEA模型和使用方式大全&DEA与SFA测算全要素生产率数据
298 限时免费!最新年份SDC & Zephyr跨国并购数据库 & A股上市公司并购重组数据
299 全网最全EXCEL-各国/省/市/县区/企业-省界、港口、海岸线地理距离数据集
317 重磅!市场化指数数据集-市场分割、樊纲、赫芬达尔指数
323 保姆级整理!宏观面板数据!多层面多指标-各省/市/县多维面板数据
325 一带一路专题:人均GDP&经济自由度&地理距离&上百个指标面板数据&一带一路友好城市
362 Stata代码、命令-OLS、Heckman、多期DID、固定、中介效应、VAR程序代码、var、pvar
402 新能源汽车产销数据库、产业链数据、政策补贴梳理、充电桩数据


