
通用机场 全国在册管理 名单
字数:888 阅读:4分钟
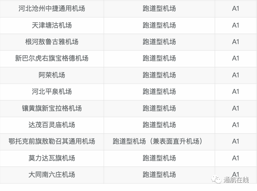
华北地区59个
(已取证21个,已备案38个)
已取证通用机场21个
已备案通用机场38个
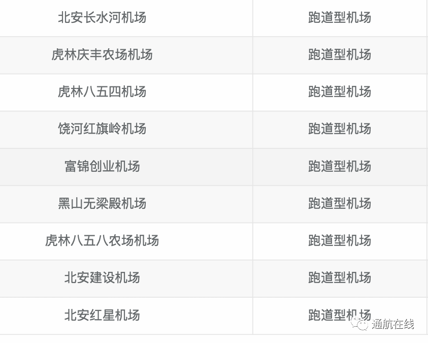
东北地区107个
(已取证11个,已备案96个)
已取证通用机场11个
已备案通用机场96个
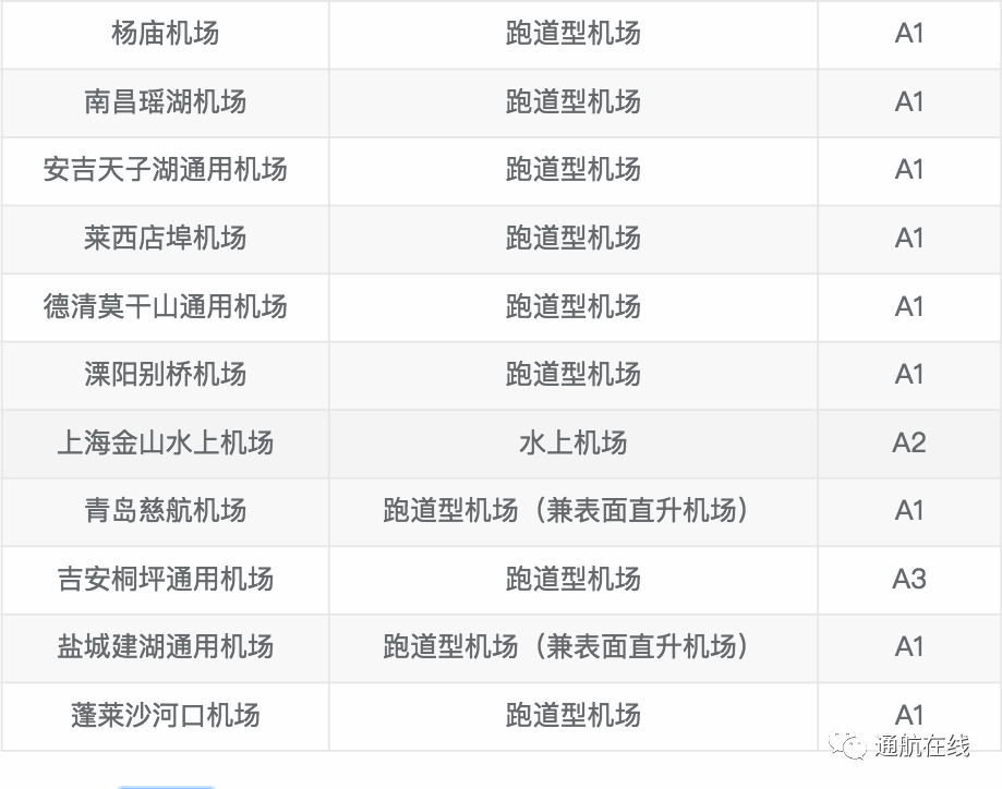
华东地区83个
(已取证22个,已备案59个,其他起降场地2个)
已取证通用机场22个
已备案通用机场59个
其他起降场地2个
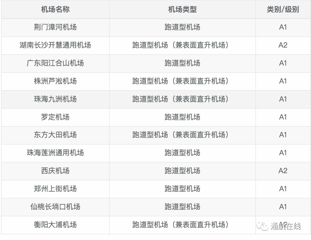
中南地区75个
(已取证12个,已备案57个,其他起降场地6个)
已取证通用机场12个
已备案通用机场57个

其他起降场地6个
西南地区28个
(已取证12个,已备案15个,其他起降场地1个)

-
已取证通航机场12个
已备案通用机场15个
其他起降场地1个
西北地区20个
(已取证10个,已备案10个)
已备案通用机场10个
已备案通用机场10个
新疆地区17个
(已取证1个,已备案16个)
已取证通用机场1个
已备案通用机场16个
投稿邮箱:zjhaika@zjhaika.com
声 明:转载文章,目的在于传递更多信息,并不代表平台赞同其观点和对其真实性负责。如涉及作品内容、版权和其它问题,请及时联系我们更正或删除。文章版权归原作者及原出处所有 ,本平台只提供参考并不构成任何投资及应用建议。

为了更好的传递海卡航空的服务内容、信息资讯、市场动态,请长按二维码进行识别关注海卡航空微信订阅号,共享通航的美好未来。


