
美国国家航空航天局(NASA)已与弗吉尼亚州的Advanced Air Company(AAC)公司签订合同,设计和建造一种新型的具有过渡能力的eVTOL无人机原型——这是一种倾转翼概念,使用空气动力而不是推力装置来倾转机翼和推进系统。
AAC公司创始人兼首席执行官比尔·弗雷德里克斯曾在弗吉尼亚州汉普顿的NASA兰利研究中心工作过一段时间,他在那里工作时曾研究过这些“空气动力学驱动的推力矢量装置”的早期概念。因此,虽然弗雷德里克斯是2016年提交的一项专利的三位发明人之一,但NASA拥有该专利知识产权,弗雷德里克斯将在授权下致力于设计和建造原型。
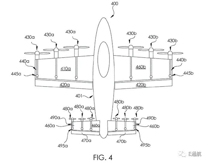
目前,无人机式VTOL飞机的推力矢量系统都有一个共同点:计算机决定其推进系统的方向,而某种执行器使之成为现实。
弗雷德里克斯认为过渡飞行不需要那么复杂。一架航空驱动的倾转翼飞机将有自由倾斜的机翼,并附有螺旋桨,以重量为基准,使机翼和螺旋桨在零空速下垂直指向上方。
它们会像普通的无人机一样起飞和盘旋,然后当它们开始在空中移动时,飞机机翼上的控制面会调整升力,利用周围的空气和通过螺旋桨移动的空气,使机翼完全向前倾转,进入巡航模式,实现高效飞行。
该专利为弹簧留下了空间,以便将机翼推回垂直方向,阻尼器控制旋转速度,以及在必要时将飞机保持在巡航或悬停方向的锁,以及其他功能。通过调整质量中心、升力中心、支点、弹簧和阻尼器的特性以及其他一些因素,AAC认为有可能创造出一种飞机,它将以一种完全被动的方式简单地处理过渡飞行,而不需要在飞行中进行复杂的计算。
“抛弃驱动装置可以消除一个潜在的故障点以及一些重量和复杂性。”弗雷德里克在一份新闻稿中说,“与传统配置相比,空气动力的倾转翼配置提供了好处,但也带来了重大的设计挑战。仔细设计翼身的质心位置、翼身的空气动力中心以及与机身的连接点对于建立一个稳定的平衡点以确保安全和可靠的运行至关重要。”
我们目前还不知道这架飞机将如何配置——专利勾勒出了一些不同的选项,但关于正在开发的原型机的细节却很少。人们期待着看到它的首飞。
投稿邮箱:zjhaika@zjhaika.com
声 明:转载文章,目的在于传递更多信息,并不代表平台赞同其观点和对其真实性负责。如涉及作品内容、版权和其它问题,请及时联系我们更正或删除。文章版权归原作者及原出处所有 ,本平台只提供参考并不构成任何投资及应用建议。

为了更好的传递海卡航空的服务内容、信息资讯、市场动态,请长按二维码进行识别关注海卡航空微信订阅号,共享通航的美好未来。


