每家公司都希望业务高速增长,最好能出几个爆款产品或者爆款业务,从而带动公司营收高速攀升。但站在数据库管理员的角度,这却是实实在在的压力,业务高速增长必然带来数据量的暴增。数据库系统的选型和设计是支撑整个业务系统的重要因素。
MySQL数据库是基于云原生的数据库产品之一,云原生为云数据库提供了重要动力,相比于传统自建数据库,云数据库比单个数据库具有更大的弹性和可扩展性。
数据库审计主要用于监视并记录对数据库服务器的各类操作行为,并记入审计日志或数据库中以便日后进行跟踪、查询、分析,以实现对用户操作的监控和审计。审计是一项非常重要的工作,也是企业数据安全体系的重要组成部分。
MySQL企业版自带审计功能,但是需要付费。MySQL社区版没有审计功能,基于成本的考虑,很多用户采用社区版MySQL作为业务系统数据库。采用社区版MySQL如何实现重要的审计功能,本文从自建和云服务两种情况来解答这个问题。
自建MySQL数据库的场景
本文自建数据库所有实验环境是基于window10下MySQL5.7这个版本。
方法一 Genreal Log
默认情况下,MySQL不开启General log; 开启General log后,MySQL将所有到达MySQL Server的SQL语句记录下来。
开启General log步骤:
1、查看General Log开启情况:执行SQL命令show variables like '%general_log%’ ;可以看到默认general_log是OFF的:

2、开启General Log: 执行SQL命令set global general_log=on 而后查看general_log打开了:

3、验证:general_log打开后,所有SQL的访问都会记录在general_log_file指向的日志文件。我们执行几个SQL语句测试:

而后查看ZB-PF11H2E3.log日志文件里面的内容,我们看到刚才做的操作都已经记录在日志里了:

开启General Log只要用户执行了操作,无论对错,MySQL就会记录日志,这样的话日志量会非常庞大,对数据库效率有影响。所以我们一般不建议开启开功能,个别情况下可能会临时的开一段时间以供排查故障等使用。
方法二 BinLog+Init_connect
BinLog是MySQL操作时留下的日志,BinLog一方面可以用在数据库的恢复与主从复制上,另外一方面可以用来做数据库的审计。
由于BinLog日志里面无法查询是谁在哪个时间段登录的等信息,缺少审计必要的信息。在MySQL中,每个连接都会先执行init_connect进行连接的初始化,我们可以在这里获取用户的登录名称和thread ID值。然后配合BinLog,就可以追踪到每个操作语句的操作时间,操作人等信息,再加上BinLog的日志信息实现审计。
配置和验证过程如下:
1、创建审计用的数据库和表:

2、创建具有操作auditdb数据权限的用户:

如果已经有用户,需要对现有用户添加操作auditdb的权限:
1MySQL> insert into mysql.db (Host,Db,User1,Insert_priv) values ('%','auditdb','','Y');
2Query OK, 1 row affected (0.03 sec)
3MySQL> flush privileges;
4Query OK, 0 rows affected (0.00 sec)
3、设置init_connect,并重启MySQL数据库在初始化参数文件[mysql]部分添加如下内容:
1log-bin=mysql-bin #开启Binlog
2init_connect='insert into auditdb.accesslog(connectionid, connectionuser,logintime) values(connection_id(),user(),now());' #设置初始化连接参数

4、用user1用户登录,执行一些写入和删除的操作;

5、用mysqlbinlog工具查看BinLog,根据delete操作找到相应的ThreadId,而后在前面创建的审计日志表auditdb.accesslog里面根据ThreadID找到用户登录信息:

查看当前binlog mysqlbin.000029的内容,并找到delete操作对应的ThreadID D:\mysql57\bin>mysqlbinlog ../data/mysql-bin.000029

从Binlog中可以得知删除Test2表对应的threadid是8,根据ThreadID在审计表里查看用户的登录信息,可以得知这个删除操作是user1用户在本机执行的操作。

说明:采用这种方式进行审计,由于init-connect只会在连接时执行,不会对数据库产生大的性能影响,但是init-connect不会记录拥有root权限的用户记录.
方法三 使用审计插件
除了商业版的审计插件外,常见的还有三类审计插件Percona Audit Log Plugin、MariaDB Audit Plugin、McAfee MySQL Audit Plugin。这几个插件功能上大同小异,只是展示的内容和格式略有不同。
我们以MariaDB Audit Plugin为例,给大家介绍如何采用插件的方式实现对Mysql数据的审计。
一、下载与安装
1、下载MariaDB Audit Plugin插件(下载地址:https://downloads.mariadb.org/mariadb/5.5.64/)

2、安装:把server_audit.dll复制到对应的mysql插件库中D:\mysql57\lib\plugin,执行install安装命令:

3、安装验证:Mysql>show variables like '%audit%'

二、关键审计参数说明
server_audit_logging:启动或关闭审计
server_audit_events:指定记录事件的类型,可以用逗号分隔的多个值(connect,query,table) ,默认为空代表审计所有事件。
server_audit_incl_users:指定哪些用户的活动将记录,默认审计所有用户,该变量比server_audit_excl_users优先级高
server_audit_excl_users:指定哪些用户行为不记录
server_audit_output_type:指定日志输出类型,可为SYSLOG或FILE,缺省输出至审计文件
三、审计过程示例
1、开启审计mysql>set global server_audit_logging=on

由于是验证测试,我们其余参数都按默认设置。
2、执行一些数据库操作:

3、查看审计记录日志,server_audit.log,默认在data目录下:

我们看见,刚才在Mysql数据库的操作都已经审计上了。
使用公有云RDS服务的场景
目前云计算的普及,云供应商都提供云数据库服务,当然Mysql是云数据库服务重要的一员。相比传统数据库,云数据库易于部署、管理和扩展,提供数据可靠性、安全性、运行状态监控等全套解决方案。
那么在云数据库Mysql上是如何实现对数据库的审计的呢?我们以京东云云数据库Mysql为例,京东云的Mysql审计功能是通过MariaDB Audit Plugin插件实现的。下面给大家介绍云数据库Mysql审计的开启、使用、关闭等功能。
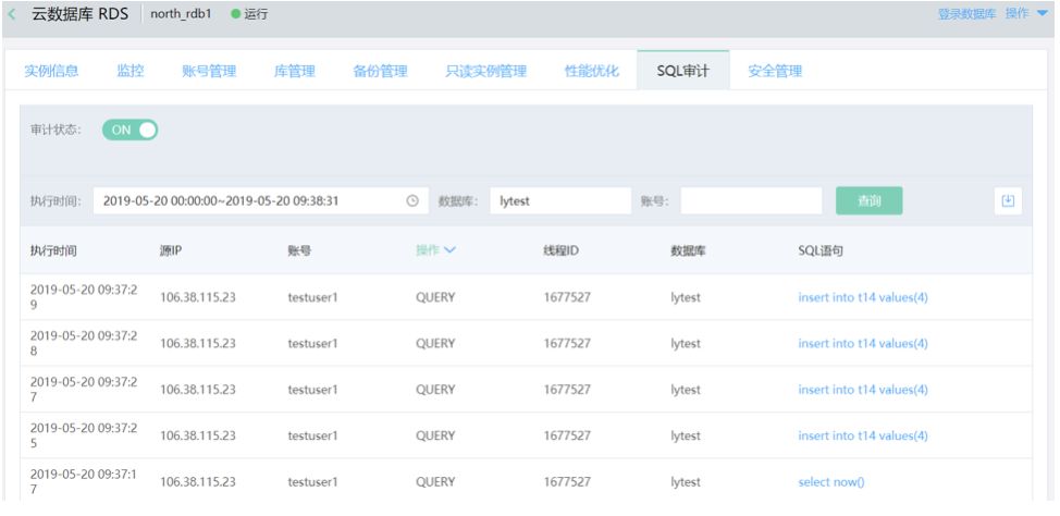
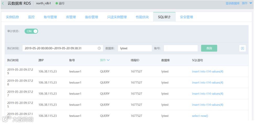
1、登录云数据库 RDS 管理控制台;
2、选择需要查询 SQL 审计的目标实例,点击目标实例, 进入实例详情页,切换至 SQL 审计 Tab 页;
3、点击审计状态开关就可以在线切换审计的开启与关闭;
4、执行一些数据库的操作,而后看审计数据。审计开启后,SQL 审计查询功能说明如下:
执行时间:可以选择从当前时间往前推 7 天的时间区间,作为 SQL 审计查询的时间段;
数据库:可以查看指定数据库的 SQL 语句;
账号:可以查看指定账号的 SQL 语句。
5、点击查询按钮,查看符合要求的SQL审计结果列表:

通过上面的例子,可以看见,云数据库的管理和运维比自建数据库确实要简单很多,用户不用关心审计的方式、审计数据的存储位置等等。只不过,云数据库由于是以云服务的形式提供给最终用户,用户就需要按照云服务的要求和使用说明进行操作。
重磅来袭
*618带你上云 *
云数据库-MySQL只需1折
点击“阅读原文”了解更多详情





