-
评审标准:采购用户发布采购需求时,同步发送可量化的评分细则。
-
专家小组组建:采购用户可组建专家评审小组并录入专家信息。
-
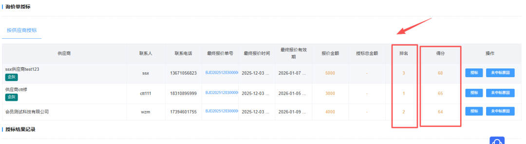
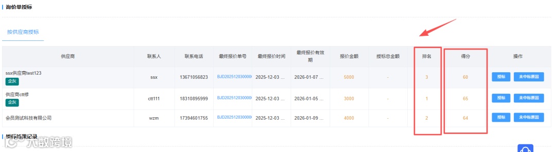
评分结果录入:评审结束后,采购用户需将专家评分在线录入保存,形成完整的评审结果记录。
-
发布询比单时,勾选 【综合评比法】 或 【最优技术法】。
-
设置“实质性要求”,一项不符合即否决。
-
可使用 【批量导入】 功能快速完成设置。


-
原则上应在开标前录入专家信息,若在开标后录入,系统将标注“开标后录入”。

-
在正式授标前需进行评审小组锁定,锁定后不支持专家小组变更!







