以下是截止2025年月12月5日最新获得美国专利局授权的部分外观设计专利。在美国专利局(USPTO)检索时,请注意将专利号首部的 “US” 及尾部的 “S1” 去掉。
⚠️ 特别提醒:目前正值跨境电商旺季,同时也是外观专利维权的高发期。如有需要,可获取专业的专利监测、维权应对与侵权规避方案。
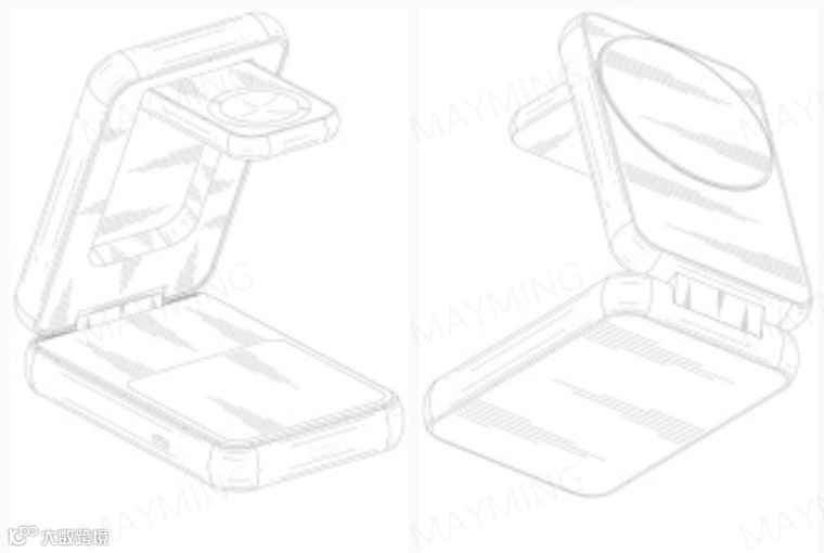
专利编号:D1103673
专利名称:Barbecue / 烧烤炉
申请时间:2025-01-24
下证时间:2025-12-02
专利编号:D1103746
专利名称:Bracket / 支架
申请时间:2024-08-12
下证时间:2025-12-02
专利编号:D1103728
专利名称:Scissors / 剪刀
申请时间:2024-09-23
下证时间:2025-12-02
专利编号:D1104351
专利名称:Facial Hair Trimmer / 面部剃毛器
申请时间:2024-08-02
下证时间:2025-12-02
专利编号:D1103581
专利名称:Footwear / 鞋类
申请时间:2024-06-10
下证时间:2025-12-02
专利编号:D1104137
专利名称:Payment Terminal / 支付终端
申请时间:2023-12-22
下证时间:2025-12-02
专利编号:D1103788
专利名称:Watch / 手表
申请时间:2024-05-08
下证时间:2025-12-02
专利编号:D1103972
专利名称:Earphone / 耳机
申请时间:2023-03-15
下证时间:2025-12-02
专利编号:D1103678
专利名称:Pan / 平底锅
申请时间:2024-02-27
下证时间:2025-12-02
专利编号:D1104360
专利名称:Combination Face Mask and Beard Net / 组合式口罩与胡须网
申请时间:2025-07-01
下证时间:2025-12-02
专利编号:D1103708
专利名称:Dish / 餐盘
申请时间:2025-06-03
下证时间:2025-12-02
专利编号:D1103662
专利名称:Cosmetic Organizer / 化妆品收纳盒
申请时间:2025-04-16
下证时间:2025-12-02
专利编号:D1104230
专利名称:Baby Bath Seat / 婴儿沐浴座椅
申请时间:2025-04-16
下证时间:2025-12-02
专利编号:D1104220
专利名称:Valve / 阀门
申请时间:2025-04-03
下证时间:2025-12-02
专利编号:D1104162
专利名称:Fidget toy / 减压玩具
申请时间:2025-03-26
下证时间:2025-12-02
专利编号:D1104308
专利名称:Night light / 小夜灯
申请时间:2025-03-13
下证时间:2025-12-02
专利编号:D1103618
专利名称:Card holder case / 卡夹保护壳
申请时间:2025-03-07
下证时间:2025-12-02
专利编号:D1103839
专利名称:Flowerpot / 花盆
申请时间:2025-03-01
下证时间:2025-12-02
专利编号:D1103558
专利名称:Fingernail-accommodating glove / 指甲可容纳手套
申请时间:2025-02-27
下证时间:2025-12-02
专利编号:D1103822
专利名称:Wearable chain / 可穿戴链条
申请时间:2025-02-25
下证时间:2025-12-02
专利编号:D1104396
专利名称:Foldable wagon / 可折叠手推车
申请时间:2025-02-10
下证时间:2025-12-02
专利编号:D1104290
专利名称:Facial massager / 面部按摩器
申请时间:2025-01-31
下证时间:2025-12-02
专利编号:D1103633
专利名称:Stool / 凳子
申请时间:2025-01-17
下证时间:2025-12-02
专利编号:D1104394
专利名称:Mop bucket / 拖把桶
申请时间:2025-01-10
下证时间:2025-12-02
专利编号:D1103781
专利名称:Bottle / 瓶子
申请时间:2025-01-06
下证时间:2025-12-02
专利编号:D1103919
专利名称:Wireless charger / 无线充电器
申请时间:2024-12-25
下证时间:2025-12-02
专利编号:D1103979
专利名称:Mobile phone holder / 手机支架
申请时间:2024-11-19
下证时间:2025-12-02
✦
•
✦

