前 言
山东省
2022年1月19日,山东省地方金融监管局发布公告,正式将35家融资租赁公司纳入监管名单。
关于将35家融资租赁公司纳入监管名单的公告
根据《中国银保监会关于印发融资租赁公司监督管理暂行办法的通知》(银保监发〔2020〕22号)及名单制管理要求,现将第二批纳入监管名单的35家融资租赁公司公告如下:
济南市(5家)
国泰租赁有限公司
海晟国际融资租赁有限公司
山钢国际融资租赁(山东)有限公司
飞碟融资租赁(山东)有限公司
山东融越融资租赁有限公司
青岛市(20家)
山东儒兴创盈融资租赁有限公司
青岛聚量融资租赁有限公司
阳光新天地(青岛)融资租赁有限公司
青岛海容汇通融资租赁有限公司
山东通汇嘉泰融资租赁有限公司
青岛城汇融资租赁有限公司
青岛海信融资租赁有限公司
青岛宝利来融资租赁有限公司
青岛海发融资租赁有限公司
青岛国晟融资租赁有限公司
青岛荣庆融资租赁有限公司
青岛澳柯玛融资租赁有限公司
青岛华通融资租赁有限责任公司
青岛乾硕融资租赁有限公司
山东华宸融资租赁股份有限公司
青岛海西融资租赁有限公司
芯鑫融资租赁(山东)有限责任公司
青岛港国际融资租赁有限公司
山东铁投融资租赁有限公司
久实融资租赁有限公司
淄博市(2家)
山东裕丰融资租赁有限公司
山东维邦融资租赁有限公司
烟台市(1家)
烟台国源融资租赁有限公司
潍坊市(3家)
山东中辰融资租赁有限公司
山东国坤融资租赁有限公司
山东捷信融资租赁有限公司(山东捷信设备租赁有限公司)
泰安市(1家)
中垠(泰安)融资租赁有限公司
日照市(1家)
日照市财金融资租赁有限公司
德州市(1家)
德州市德融融资租赁有限公司
聊城市(1家)
山东鲁西融资租赁有限公司
山东省地方金融监督管理局
2022年1月19日
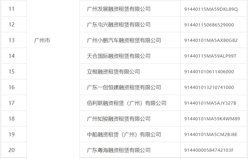
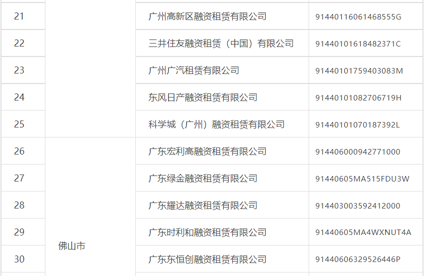
广东省
2022年2月21日,广东省地方金融监督管理局印发《关于广东省(不含深圳市)第一批拟纳入监管融资租赁公司名单的公示》,名单一共36家融资租赁公司。




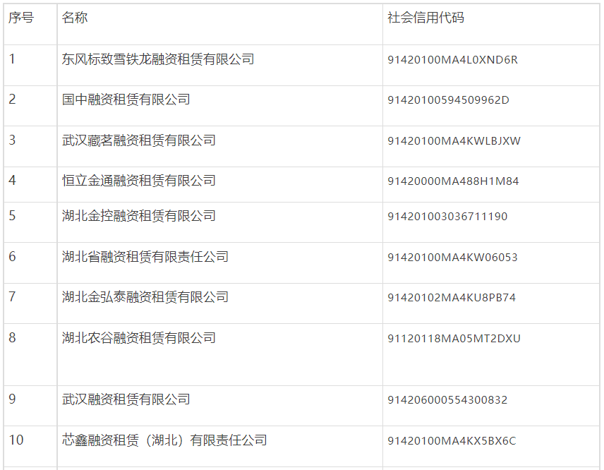
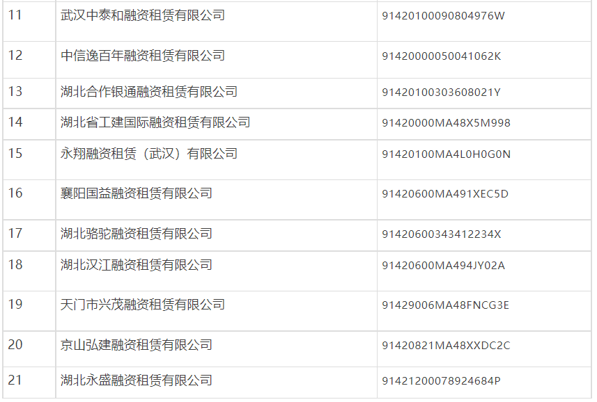
湖北省





2022年6月24日, 大连市金融发展局发布关于大连市第一批纳入监管融资租赁公司名单的公告,共计2家融资租赁公司纳入第一批监管名单。

湖南省
2022年6月27日,湖南省地方金融监督管理局公布湖南省第二批融资租赁公司监管名单,共有1家企业进入该名单(湖南中宏融资租赁有限公司(社会信用代码91430000694033375Y))。
在2021年3月,湖南省省地方金融监督管理局关于公布纳入湖南省第一批融资租赁公司监管名单的公告,

融资租赁监管名单的出现,能督促非正常经营融资租赁企业整改或出清,而被纳入正常监管的融资租赁公司将不断增多,融资租赁行业将进一步得到净化,有利于促进行业合规发展,进而进一步发挥融资租赁行业对经济的赋能作用。

长期坚持提供干货不易,如文章引起大家共鸣、对大家有帮助,请大家点赞并转发,以支持我们提供更多干货,谢谢。
商务合作\内容撰写\软文推广:18501955840(备注合作事由或电联)
需求发布\业务对接\投融资需求:18600329996(电话联系)


