一直以来,iPhone上的刘海屏都是苹果用户的心病,随着全面屏时代的到来,众多手机品牌纷纷取消了刘海屏设计,不仅屏占比越来越高,颜值方面也各有千秋。唯独苹果始终坚持保留正面的刘海,影响美观的同时,还会遮挡更多屏幕内容。

当然,苹果官方也在探索缩小刘海的新方案,近日就有消息称,美国专利和商标局授予了苹果一项名为“可调节显示窗口的电子设备 ”的专利,专利解释了前置摄像头和其他光学组件如何显示和隐藏。业界普遍认为,该项专利就是苹果彻底消除iPhone屏幕刘海的最新方案,并且有望在短时间内大范围商用。

早些时候,就有消息称最新一代iPhone 13的正面刘海面积会比12小很多,因此不少网友好奇,这项新专利会不会直接用在iPhone 13上?事实上,新专利的获得,只是说明技术上有所突破,想要马上投入量产却是有一定难度的。不出意外的情况下,距离苹果秋季发布会召开不到两个月的时间,苹果官方使用新技术大范围生产的概率微乎其微。

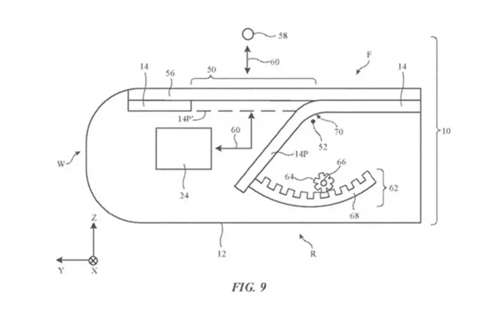
据悉,该技术可以为iPhone创造一个没有任何刘海、开孔的全屏显示器,当需要拍照时移动显示面板,为摄像头打开一个拍摄窗口,从而实现屏幕的完整性和自拍需要。听上去有点类似弹出摄像头和滑盖方案,不过该技术是直接弯曲屏幕本身,想要达到这一目的,屏幕就必须具备更好的柔韧性和显示过渡。

大家可以参考折叠屏手机的外翻和内折方案,通过褶皱或铰链模块,来实现显示屏的小范围弯曲,从而达到隐藏屏幕下摄像头的作用。如果该技术大范围应用,将彻底改变iPhone的屏幕设计,甚至推动行业的又一次屏幕改革。毕竟这种方法的可行性很高,有望和屏下摄像头一同成为全面屏发展的新方向。对比这两种屏幕方案,朋友们更喜欢哪一种呢?不妨留言讨论一下吧。




