搜索
首页
大数快讯
大数活动
服务超市
文章专题
出海平台
流量密码
出海蓝图
产业赛道
物流仓储
跨境支付
选品策略
实操手册
报告
跨企查
百科
导航
知识体系
工具箱
更多
找货源
跨境招聘
DeepSeek
首页
>
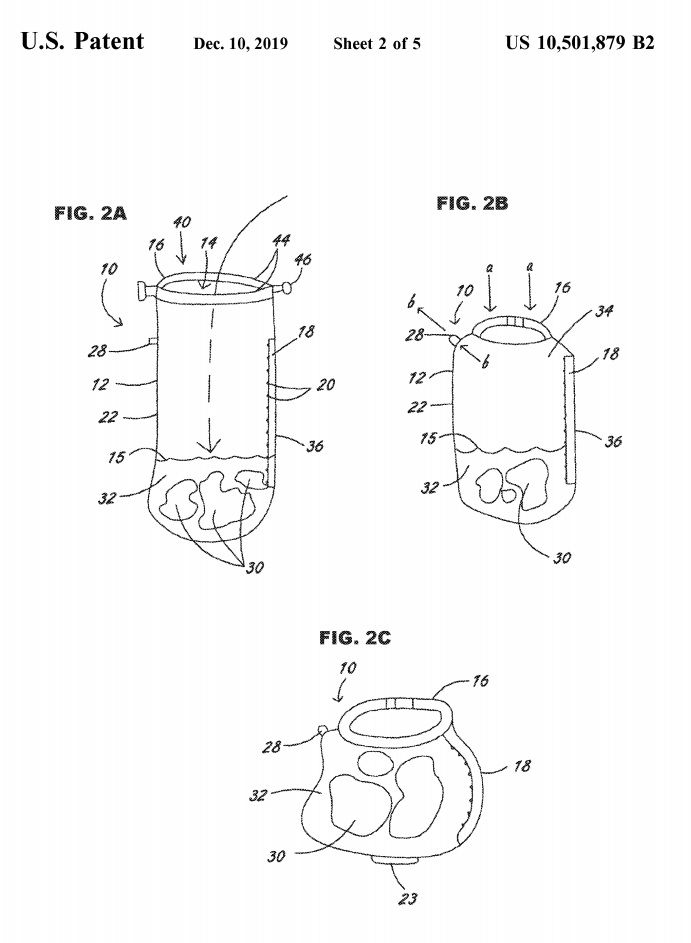
亚马逊爆款案例—美国品牌Scrubba洗衣袋,小产品大创新有2个美国发明专利守住细分市场红利;已有改款方案,感兴趣可以对接交流
>
0
0
亚马逊爆款案例—美国品牌Scrubba洗衣袋,小产品大创新有2个美国发明专利守住细分市场红利;已有改款方案,感兴趣可以对接交流
跨知易知识产权
2025-05-30
0
导读:亚马逊爆款案例—美国品牌Scrubba洗衣袋,小产品大创新有2个美国发明专利守住细分市场红利;已有改款方案,感兴趣可以对接交流
#Scrubba便携式洗衣袋
,适用于旅行、露营、洗衣、婴儿衣物 - 旅行必需品,礼品 - 配合洗衣粉/床单使用;
#小产品大创新
,低成本、高客单价55$,旺季月销2000+
有2个美国发明专利:
启示:创新本质是只要解决未被满足的需求,切入细分市场,都有可能申请并授权发明专利哦;
如果你有不错的想法或者对痛点问题有不同解决方案,也许下一个爆款就你在身边,及时找我们咨询评估,申请专利守护你身边爆款机会。
【声明】内容源于网络
0
0
跨知易知识产权
跨境电商知识产权侵权风险交流
内容
82
粉丝
0
立即咨询
关注
跨知易知识产权
跨境电商知识产权侵权风险交流
总阅读
34
粉丝
0
内容
82
立即咨询
关注