搜索
首页
大数快讯
大数活动
服务超市
文章专题
出海平台
流量密码
出海蓝图
产业赛道
物流仓储
跨境支付
选品策略
实操手册
报告
跨企查
百科
导航
知识体系
工具箱
更多
找货源
跨境招聘
DeepSeek
首页
>
跨境电商爆款案例:磁吸帽夹,低成本高售价、旺季月销7K+,排查到美国发明专利,亚马逊上发现不少改款仿品,注意发明专利侵权可能性?
>
0
0
跨境电商爆款案例:磁吸帽夹,低成本高售价、旺季月销7K+,排查到美国发明专利,亚马逊上发现不少改款仿品,注意发明专利侵权可能性?
跨知易知识产权
2025-07-19
0
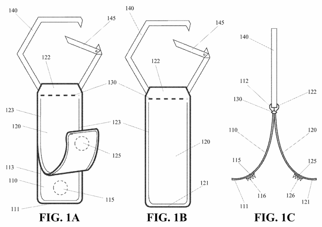
导读:跨境电商爆款案例:磁吸帽夹,低成本高售价、旺季月销7K+,排查到有1个美国发明专利,亚马逊上有不少改款仿品,请注意发明专利侵权
#跨境电商
#亚马逊爆款 专利产品交流群
欢迎卖家/工厂进群交流专利产品
#跨知易
#跨境电商
#亚马逊爆款
#
磁吸帽夹
#细分市场 的刚需产品
#磁吸帽夹
#旅行包
#单肩包
#磁性帽夹
低成本、高售价25$、
旺季月销7000+
经过
#专利排查
,发现竞品的1个美国发明专利,部分内容如下:
#亚马逊
上存在很多
#改款仿品
,销量都在增长中,从外观和结构上,跟上述
#美国发明专利
相比,
从外观上存在明显区别、但是结构上是否存在区别呢?
上述改款仿品是否存在发明专利侵权风险呢?
下面
我们
#跨知易
逐一做下专利侵权分析以及破解交流
【声明】内容源于网络
0
0
跨知易知识产权
跨境电商知识产权侵权风险交流
内容
82
粉丝
0
立即咨询
关注
跨知易知识产权
跨境电商知识产权侵权风险交流
总阅读
33
粉丝
0
内容
82
立即咨询
关注