大数跨境
0
0

亚马逊爆款案例—美国品牌床单固定夹具,目前公开了5个发明专利,近期已有1个美国发明授权!即将发起TRO !卖家速速排查下架!

亚马逊爆款案例—美国品牌床单固定夹具,目前公开了5个发明专利,近期已有1个美国发明授权!即将发起TRO !卖家速速排查下架! 跨知易知识产权
2025-08-13
0
导读:亚马逊爆款案例—美国品牌床单固定夹具,目前公开了5个发明专利,近期已有1个美国发明授权!即将发起TRO !卖家速速排查下架!

#床单固定夹具可防止床单滑落和卷成一团,无需反复调整床单,也不用担心醒来时床单缠结

目前亚马逊畅销榜上有很多改款新品,部分改款新品上架2个月 竟月销2000+

部分新品如下:


原创款#美国品牌Zlumber  #美国发明专利款

高客单价69.99$       旺季月销13000+

#Zlumber 已公开专利如下:
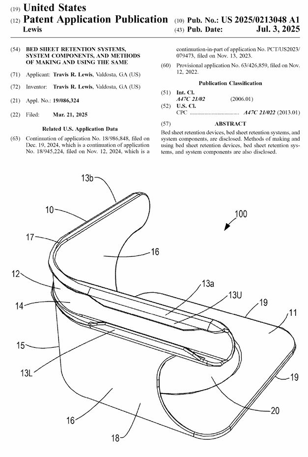
专利美国专利商标局官网公布的US20250213048A1信息如下:
译文如下:
(目前US20250213048A1的授权文件还未公开,如果需要授权文件内容请关注我们后续更新的内容~)
#Zlumber 已公开的美国发明专利部分内容如下:
#Zlumber 已公开的美国外观专利部分内容如下:
上述热销的改款产品是否还存在专利侵权风险?
我们下面就上述改款新品做下专利侵权分析以及破解交流

注意:
1、由于排版有限,上述#侵权比对 只是摘取了#专利侵权分析报告 中一小部分,后续卖家朋友如有其他产品专利侵权详细报告需求可以私信对接;

2、很多卖家朋友只会注意竞品专利图纸的外观是光滑且连续的曲面,然后就改款为镂空或两个独立的面,就以为不侵权了;

3、发明专利侵权比对区别于外观设计专利侵权比对,要以发明专利的权利要求内容为准,而不能以图纸作为判断依据
4、发明专利规避/发明专利破解的重点在于做减法或者寻找替代结构,比如把现在市面上已经有了“锁定条”的结构去掉,但同时也会面临新的问题,去掉锁定条可能就达不到竞品的功能效果;所以如何有效破解专利改款设计,是需要不断试错、反复验证产品功能效果的产品开发过程。
如对上述有任何疑问,可以关注我们,欢迎扫码加微信交流

【声明】内容源于网络
0
0
跨知易知识产权
跨境电商知识产权侵权风险交流
内容 82
粉丝 0
跨知易知识产权 跨境电商知识产权侵权风险交流
总阅读17
粉丝0
内容82