深圳金融局发布238家疑似空壳保理公司,按要求自查可以移出
贸易金融联盟
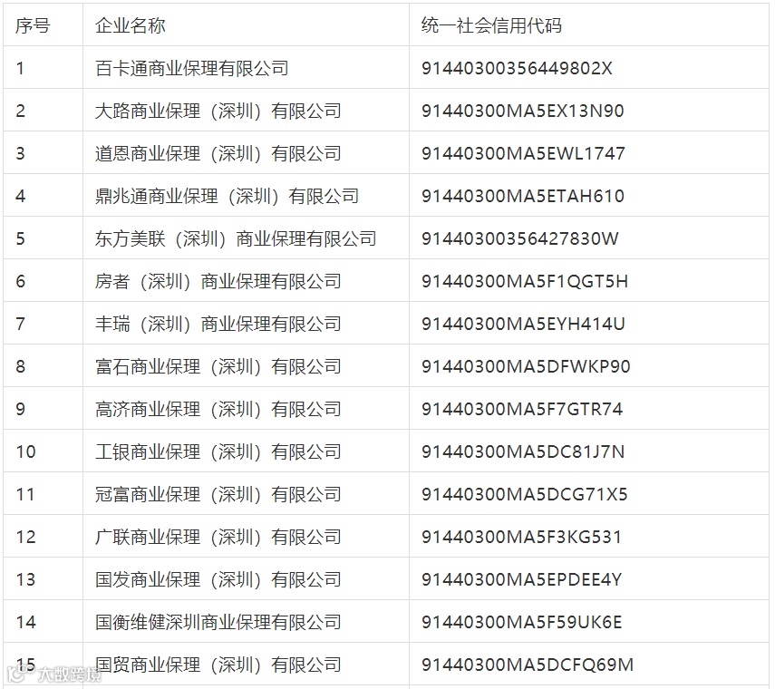
深圳市地方金融监督管理局关于深圳市第一批疑似空壳商业保理企业名录的公告
根据《中国银保监会办公厅关于加强商业保理企业监督管理的通知》(银保监办发〔2019〕205号,以下简称205号文)以及深圳市商业保理行业清理规范工作部署,现将第一批疑似空壳商业保理企业名录(详见附件)予以公示。
一、本次名录所列企业不含疑似失联、失联企业,即未被列入疑似失联、失联商业保理企业名录;或虽被列入疑似失联、失联商业保理企业名录,但已公示移出。
二、本次名录所列企业符合205号文第十五条“空壳企业”的认定标准,即满足以下任一条件即可认定为“空壳企业”:上一年度市场监管部门年度报告显示无经营;近6个月监管月报显示无经营;近6个月无纳税记录或“零申报”;近6个月无社保缴纳记录。
三、如对此公告有异议,请按照《市地方金融监管局前海管理局关于开展商业保理行业清理规范工作的通告》要求,完成自查填报工作。对于自查审核通过的企业,将批量公示移出,无需企业另行申请。
四、我市商业保理企业应按照有关监管要求规范经营,若无法达到监管要求的,应主动向市场监管部门申请变更企业名称和业务范围或注销营业执照。

















奖项申报、咨询 郭女士 18501955840
奖项申报、咨询 刘先生 15601009440
长期坚持提供干货不易,如文章引起大家共鸣、对大家有帮助,请大家赞并转发,以支持我们提供更多干货,谢谢。
商务合作微信:18501955840(备注合作事由)
研报定制/公众号代运营/内容撰写服务:18600329996
贸易金融联盟
各类跨境出海行业相关资讯