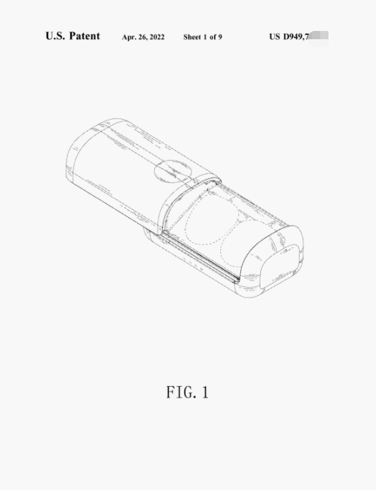
之前我们查询了今年已经公开并下证的宠物用品,风扇的美国外观专利,今天我们查询的是比较普遍的产品:耳机
2022年这些耳机在美国被申请外观专利被公开并下证,截止今天2022年5月19日,有以下美国外观专利被公开并下证;
做耳机的老板们注意了,一定要看完,可能其中就有你在卖的产品被人申请了美国外观专利。
如果你有什么产品需要检索专利,可以在下方留言给小编,小编针对性的去查询。
或者可以私信小编,提供(产品名称,关键词,产品图片以及最早在当地销售的时间)同时小编会不定期的查询各类产品的专利发表出来,防止卖家们采坑。
早在2004年,温家宝总理就曾指出,“世界未来的竞争,就是知识产权的竞争”,一个企业的决策者,若至今没有知识产权意识,企业的未来发展之路将会越走越窄。









































































美国外观
1、提交回执:5 ~7工作日;
2、受理通知书:1个月~3个月左右;
3、普通申请:从申请至授权需要18-24个月;
4、加急申请:从申请至授权8-12个月。
美国外观保护15年,重点是15年不需要交年费.(这个确实不错)
欧盟外观
1、受理通知书:1-2个工作日
2、从申请至授权需要1-4周(欧盟效率高)
保护期限:欧盟外观设计保护期为自申请日起 5年,期满后可续展四次,每次5年,最长保护期为25年。

