
临猗商会陪同王效芝、王伟夫妇参访会员单位志宽食品红色徽章展览馆
10月19日下午,西安市临猗商会陪同王效芝、王伟夫妇一行,莅临副会长单位——西安志宽食品有限公司红色徽章展览馆进行参访交流。商会会长马骥、党支部副书记姚增海、监事长郭万里、副会长国安稳、王桂林等全程陪同,共同见证这场融合了企业文化与红色传承的深度交流。

在西安志宽食品有限公司总经理聂志宽的陪同下,参访团先后参观了食品生产基地、红色徽章展览馆。在毛主席雕像前,王效芝、王伟夫妇神情庄重地敬献鲜花,表达对一代伟人的深切缅怀。交流座谈会上,商会马骥会长代表商会对王效芝夫妇的到来表示热烈欢迎,他强调此次交流不仅加深了商会与企业间的联系,更是一次宝贵的学习机会。
党建引领强根基 产业兴企展风采丨延安市委党校观摩团莅临延安圆方(集团)公司考察指导
10月21日下午,延安市委党校观摩团一行莅临延安圆方(集团)公司,以“党建引领助推企业高质量发展”为主题,开展实地观摩与深度交流考察。集团公司董事长赵志强全程陪同考察,并结合企业发展实际,详细汇报了党建引领下产业布局、项目建设及品牌培育的系列成果。

观摩团一行先后深入吴起县富丽纺织有限责任公司产品展厅、地毯编织车间、服装车间、地毯成品库,以及集团年产1万吨荞麦米/粉生产线、荞麦香醋生产线及产品综合展示中心,通过实地察看生产流程、近距离观摩产品矩阵、细致听取情况介绍,全面了解企业运营发展情况。交流研讨环节,延安市委党校观摩团对延安圆方(集团)公司将党建工作与生产经营、产业发展、社会责任深度融合的实践路径给予高度评价。
10月23日,西安市光彩事业促进会理事会暨“万企兴万村”行动推进会召开。会议传达学习了中省有关会议精神,审议通过了理事会工作报告、《市光彩会章程》(修改草案)和相关工作办法,选举成立了市光彩会监事会和临时党支部,增补了副会长、理事,陕西奥达投资控股有限公司副总经理程晓舟增选为理事;会议通报了光彩事业优秀案例,8家企业的优秀案例现场作了发言交流或材料交流,陕西奥达投资控股有限公司的“奥达农业——新农业的探索者”获优秀案例,受到通报进行材料交流。
2025中国酒业发展研讨会暨西凤酒新品上市发布会召开
10月23日,以“秦岭论道 共鉴新程”为主题的2025中国酒业发展研讨会暨西凤酒新品上市发布会在宝鸡召开。中国轻工业联合会副会长李玉中,中国酒类流通协会会长秦书尧,中国酒类流通协会副会长兼秘书长邢春雷,宝鸡市人大常委会党组成员、副主任宁怀彬,宝鸡市人民政府党组成员、副市长李武发,广元市市政府副秘书长许登海,西凤集团公司党委书记、董事长,股份公司董事长张正,股份公司总经理张周虎,集团公司党委副书记、工会主席郭拴新,集团公司副总裁杨会军等领导与全国各地省市酒类行业协会领导、全国酒类超商及大商代表、西凤酒全国经销商伙伴、新闻媒体等200余人参加会议。
西部云谷比亚迪海洋网华鹰智途4S店正式开业
10月25日,比亚迪海洋网陕西华鹰智途新能源汽车销售有限公司4S店在西部云谷二期隆重开业。沣西集团党委书记、董事长杨建柱出席开业仪式并致辞。

华鹰智途的开业,既标志着西部云谷在聚集新兴产业、推动绿色发展上迈出了新步伐,也是沣西集团在助力区域构建现代产业体系、践行“双碳”战略上取得了新成效的有力证明。华鹰智途是陕西悍鹰汽车集团依托比亚迪海洋网品牌资源,在西部云谷落户的首个标准化品牌4S店,集品牌展示、整车销售、售后维修、零配件供应等为一体,致力于为消费者提供全方位、高品质的一站式服务体验。
大唐西市
梁振英率港区全国政协委员考察团赴陕西考察 16日来到大唐西市博物馆考察
10月13日至17日,全国政协副主席梁振英率港区全国政协委员考察团赴陕西,围绕“完善陕港交流机制,赋能陕西高质量发展”开展考察。在陕西期间,考察团一行先后抵达西安、宝鸡、杨凌示范区等地,深入西安科技企业、文旅项目、高校和宝鸡蔬菜种植基地、杨凌智慧农业示范园等14个考察点了解情况、互动交流,并和陕西省有关部门负责人座谈、建言献策。10月16日,考察团一行莅临大唐西市博物馆考察调研。梁振英实地察看了唐代西市遗址保护、建设和展示利用情况,深入了解了这座建立在唐代丝绸之路起点遗址上的博物馆。
荧幕硬汉于震来大唐西市博物馆“打卡”啦
10月22日下午,大唐西市博物馆迎来“明星访客”——国家一级演员、“荧幕硬汉”“英雄专业户”于震老师。全国人大代表、丝绸之路国际总商会主席、大唐西市集团董事局主席、大唐西市博物馆理事长吕建中热情接待,大唐西市博物馆馆长董文强陪同参观。
薪火相传二十载青春启航续华章。为进一步夯实院校共青团基层组织建设工作成果,全方位推动共青团工作高质量发展,凝聚学生组织新力量,10月22日,西安科技大学高新学院顺利召开了第二十届团属学生组织成立大会,新一届学生干部正式接过使命,开启团学工作新篇章。

会议宣读了共青团西安科技大学高新学院委员会第二十届学生干部名单公示,明确了新一届组织的架构与人员组成。在庄重的团旗交接环节,第十九届与第二十届学生干部完成旗帜传递,寓意着使命传承与精神延续。全体学生干部重温入团誓词,铿锵誓言回荡会场,进一步强化了思想引领与组织凝聚力。
第九届高校网络与新媒体专业建设研讨会在西安科技大学高新学院圆满闭幕
10月18-19日,“新文科·新媒体·新传播”AIGC时代第九届高校网络与新媒体专业建设研讨会在西安科技大学高新学院顺利召开。来自全国各地100多所高校的200余名专家学者,齐聚古城西安,共探专业建设新方向,共商新媒体人才新未来。

本届会议由西安科技大学高新学院联合人民邮电出版社等单位主办。会议紧扣AIGC等新兴技术驱动媒体行业深度变革的时代脉搏,以深度交流研讨为纽带,聚焦网络与新媒体专业人才培养的核心命题,透视高校专业建设升级、课程体系优化的关键路径,推动专业发展与行业需求精准对接、同频共振,最终为社会培育更多契合市场需求、能引领行业发展的高素质应用复合型传媒人才。西安科技大学高新学院院长汪仁致欢迎辞并宣布会议开幕。
旭峰会展
2025西安市会展业创新发展大会隆重召开
2025西安市会展业创新发展大会于10月23日在西安国际会展中心会议楼召开。本届大会由西安市商务局、中国会展经济研究会主办。商务部原国际谈判副代表、中国世界贸易组织研究会前会长崇泉莅临并讲话;中国会展经济研究会会长曲维玺、陕西省商务厅二级巡视员王红学、西安市商务局副局长吴慧娟等领导致辞;中国会展经济研究会首席研究员储祥银作《中国会展发展新态势新范式》主旨演讲;西安市商务局会展业发展处处长铁红兵发布省市会展业政策及票根大礼包措施;黄河流域会展联盟副理事长、陕西省会展行业协会会长张锁良发布《协同发展宣言》。

大会以“会聚长安·展望未来”为主题锚定“一带一路”国际会展名城建设目标,聚焦会展业稳增长、会展经济促消费、展产融合等重点问题,开展深入的交流研讨与合作对接,着力打造了一场集对接交流、招展引会、区域合作为一体的行业盛会。
兰海锦泰
风紧雾重情更暖,兰海锦泰各项目服务升温进行时
秋深风紧,寒意渐浓。为保障物业环境安全舒适,陕西兰海锦泰物业服务有限公司各项目团队迅速响应,加强安保巡防,夯实安全基础;优化保洁标准,营造洁净环境;强化供热保障,精准排查隐患;完善后勤保障,温暖由身入心;聚焦民生细节,提升居住体验,全方面多措并举开展冬季服务“升温”行动以应对寒潮。
至正律所
双向培养 党建育人丨至正党总支专题会议研究党员发展工作
为夯实律所党建“双向培养”工作,充分发挥党建引领、育人工作成效,全面落实“两个覆盖”的要求,10月16日,陕西至正律师事务所党总支召开专题会议研究2025年党员发展的有关工作,进一步加强律所党员队伍建设。

会议对3个党支部按研究推荐的6名同志列入律所2025年度入党积极分子,这些律师中既有合伙人律师,也有即将成为业务骨干的青年律师,是律所两级党组织实施“双向培养”,推动党建与业务同频共振、深度融合的一项重要举措。
丝路牵线 校所携手!陕西至正律师事务所与新疆科技学院共建实习实训基地
10月24日上午,陕西至正律师事务所与新疆科技学院实习实训基地合作协议签订暨揭牌仪式在律所会议室圆满举行。这是至正律所首次与省外高校达成合作,标志着校所合作版图的进一步拓展,跨区域法治人才共育迈出的坚实一步。

在全体与会人员的共同见证下,双方代表郑重签订《实习实训基地协议》,并共同为“实习实训基地”揭牌,正式拉开了双方携手共育法律人才的序幕。未来,双方将以此次合作为重要契机,深化资源共享、聚力优势互补,携手为西部高校法学学科高质量发展、“一带一路” 法治建设添砖加瓦,共献智慧与力量。
华威科技
陕西华威科技股份有限公司顺利通过陕西省专精特新“小巨人”企业复核
10月20日,陕西省工业和信息化厅正式发布《关于陕西省第七批专精特新“小巨人”企业和2025年专精特新“小巨人”复核通过企业名单的公示》。陕西华威科技股份有限公司凭借在技术创新、产品实力、市场表现及管理体系等方面的综合优势,顺利通过2025年专精特新“小巨人”企业复核,持续获评这一荣誉称号。
梹蛋子×永辉线上超市:活力五谷鲜鸡蛋,守护您的餐桌安全
今天,有一个特别的好消息要告诉大家——陕西兵者戎创实业有限公司团队,一群曾身着戎装、捍卫国家尊严的退伍军人,带着和广西科学院联合研发打造的“梹蛋子”活力五谷鲜鸡蛋,正式登陆永辉线上超市了。
昔日他们站岗戍边,守护家国安宁;今日他们以匠人精神严控饲料与饮水,杜绝有害添加,并将与广西科学院联合研发的独家应用的生物纳米活性复合菌液全面融入养殖环节,最终打造出兼具卓越营养、纯净安全与风味绝佳的鲜食蛋品。以科技守护食品安全新高度,每一枚活力五谷鲜鸡蛋,都源自科学喂养,满满谷物营养,口感鲜嫩不腥,不管是给孩子做早餐,还是给家人补营养,都是安心之选。“退伍军人品质” 的新鲜鸡蛋带回家。昔日守国,今日守家,兵者戎创用军人的严谨,为大家的餐桌安全保驾护航。
太阳升
关黄母颗粒亮相中医妇科年会 助力更年期中西医结合诊疗实践
近日,由中华中医药学会妇科分会主办的第二十四次学术年会在深圳隆重开幕。本次会议汇聚了全国中医妇科领域的专家、学者与临床医生,围绕多名老中医经验传承、中西医融合实践、妇科健康热点科普等议题展开深入交流。

太阳升药业以“线下体验+线上传播”的协同模式,实现了关黄母颗粒品牌影响力与专业辐射力的同步提升。太阳升药业携其核心产品——用于治疗女性更年期综合征的创新中药关黄母颗粒亮相本次盛会,受到参会专家的广泛关注。展台通过互动环节设计与服务升级,吸引了近400位参会医生驻足交流,成为现场最具人气的展台之一,有效提升了品牌与产品的专业影响力。
宇腾科技
宇腾科技走进坡头街道办华原村 重阳敬老送温暖
为弘扬中华民族尊老、敬老、爱老的传统美德,九九重阳节即将到来之际,宇腾科技爱心小分队于10月23日走进坡头街道办华原村,开展“重阳送温暖”慰问活动,为村中老人送上羽绒马甲等慰问物资,并提前致以节日的诚挚问候与暖心祝福。宇腾科技始终积极践行企业社会责任,坚持回馈社会的文化理念,持续投身于爱心公益事业。此次慰问不仅是物质的传递,更是一次温暖的陪伴。
摩美得
陕西摩美得气血和制药公司通过ISO56005年度确认评审
10月23日,摩美得气血和制药顺利通过ISO56005《创新管理—知识产权管理指南》创新与知识产权管理能力评价年度确认评审,获评价组一致推荐维持评价等级。作为咸阳市首家通过ISO56005评价的企业,此次年度确认不仅是对公司在知识产权与创新融合管理领域规范化水平、持续改进能力的肯定,更为中医药行业创新发展树立了可借鉴的标杆范本。评审期间,公司人资中心、财务中心、技术中心、知识产权中心等体系关联部门积极参与,各方围绕国际标准指引下企业创新与知识产权管理的精准路径深入探讨,凝聚发展共识。
蒂诗丽生物科技
同心9载 共创百年丨蒂诗丽9周年庆典暨新品发布会召开
10月18日,新加坡蒂诗丽控股迎来九载荣光诞辰。恰逢品牌产品迭代升级与新品重磅问世的关键节点,蒂诗丽以 “同心 9 载・共创百年” 为核心主题,于中国深圳市宝安区宝立方中心盛大启幕蒂诗丽 9 周年庆典暨新品发布会。活动汇聚全球事业伙伴、肛肠领域权威专家、健康精选商城优质供应商等核心力量,共溯九载峥嵘征程,共绘百年品牌发展新蓝图。
银桥乳业第一期企业文化大讲堂圆满举办
为深入贯彻落实集团企业文化理念,推动全体员工从“理解文化”向“践行文化”转变,助力公司业务高质量发展,10月21日上午,银桥乳业第一期“企业文化大讲堂”圆满举办。公司副总经理邱海港担任主讲,各部门261名员工通过线上线下相结合的方式共同参与,开启了一场文化浸润的思想盛宴。本期培训旨在通过系统讲解与案例分享,强化企业文化对员工思想的引领作用,推动管理者与员工将文化理念内化于心、外化于行,提升团队凝聚力和执行力,为公司持续健康发展注入文化动能。
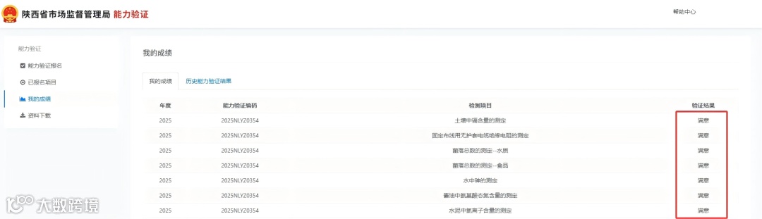
国联质检在2025年省级能力验证中再获佳绩
近日,在陕西省市场监督管理局组织的2025年度检验检测机构能力验证中,国联质检参与的7个项目均获得“满意”结果,涵盖材料、能化、环境、食品等多个检测领域。
“安仔”商标撤三答辩成功
近日,韦家安依据《中华人民共和国商标法》第四十九条的规定,以无正当理由连续三年不使用为由,要求撤销安镇宁第19519933号第43类“安仔”商标在“咖啡馆”等全部核定使用服务上的注册。安镇宁委托赛博纳知识产权公司代理该商标的撤三答辩事宜,公司法律部撤三答辩专业小组积极同安镇宁进行沟通,认真准备理由书及实际使用证据,在指定期限内及时向国家知识产权局提交了答辩理由及相关实际使用证据。
经审理,国家知识产权局商标局根据《中华人民共和国商标法》第四十九条及《中华人民共和国商标法实施条例》第六十六条、第六十七条的规定,决定:第19519933号第43类“安仔”商标在“1.咖啡馆;2.自助餐馆;3.餐厅;4.餐馆;5.饭店;6.茶馆;7.快餐馆;8.流动饮食供应”服务上的注册予以维持,在“1.烹饪设备出租”服务上的注册予以撤销,原第19519933号《商标注册证》作废,由我局重新核发《商标注册证》,并予公告。
百余名师生到进清渭楼美术博物馆参观研学
10月26日,由共青团咸阳市渭城区委联合区文旅局、中山街道办事处、区老街文化旅游发展中心共同主办的“青春遇见咸阳老街”研学活动顺利开展,来自陕西能源职业技术学院的110余名师生走进清渭楼美术博物馆,沉浸式感受这座历史名楼的深厚的文化底蕴和中华传统书画艺术的魅力,开启了一场别开生面的文化之旅。
2025年饲料质量安全与法规培训会在泰和泰律所成功召开
10月21日,由陕西省饲料协会主办、泰和泰(西安)律师事务所协办的“2025年饲料质量安全与法规培训会”在泰和泰(西安)律师事务所25层多功能会议厅召开。会议以“聚焦饲料质量安全、解读法规标准、赋能行业规范发展”为核心主题,汇聚了行业权威专家、协会会员代表及法律实务精英,共同探讨饲料行业在质量安全与合规管理方面的关键议题,为促进行业健康、可持续发展注入专业动能。
策捷律所圆满完成年度团建工作计划
10月19日,陕西策捷律师事务所举办了全方位的有组织、有纪律团建活动。律师们一大早准时来到律所会议室,首先举行了本年度第五次疑难案件研讨会。研讨会结束后,大家参加了由律所高级合伙人、劳动和社会保障专业委员会主任、西安市劳动和人事争议仲裁委员会仲裁员周金律师讲授的《劳动争议案件司法解释二》的培训。培训结束后,律师们驱车赶往某法院,在审判庭举行了逼真形象的模拟法庭实操训练活动。之后大家又来到了兴平市《魏野畴事迹展馆》,向革命先烈魏野畴雕塑敬献了鲜花,并聆听了魏野畴的革命事迹。参观完后,大家又赶到了马嵬驿文化广场,积极开展起“送法进景点,惠及老百姓”活动,共提供法律服务150人/次。最后,全体律师又马不停蹄地来到了茂陵博物馆开展祭拜民族英雄霍去病活动并参观了茂陵博物馆。
银杏为证承初心 校企同心铸华章丨大方集团与西北工业大学签署捐赠协议
10月22日,大方集团与西北工业大学教育基金会捐赠签约仪式在西工大友谊校区举行。大方集团董事长、西北工业大学校友王方胜,西北工业大学党委副书记杨晓,校长助理、教育基金会理事长王宇波,大方集团和学校有关单位负责同志出席仪式。

此次捐赠的核心载体兼具情感厚度与文化深意。四十棵银杏树,代表了原建工系85级全体同学入校四十周年,也代表了工民建专业从设立到撤并使命圆满的四十年,每一棵树苗都承载着校友对母校的感恩之情,更象征着西工大精神将根深叶茂、代代相传。而文化建设基金将重点支持学校三航博物馆等建设,深度助力“总师育人文化”的研究与传承,为培养“专业精、系统强、重实践、能担当”的总师型人才注入动力。
10月24日,彬煤公司召开第三季度经济运行分析会,回顾总结前三季度经济运行情况,分析当前形势与存在问题,研究部署四季度重点工作,动员各单位、全体员工进一步锚定目标任务、坚定发展信心、狠抓工作落实,全力以赴完成年度目标任务,为公司实现“十四五”圆满收官和“十五五”良好开局奠定坚实基础。公司各部门负责人,各控股公司负责人及财务负责同志,各矿井负责人,公司派出的参股公司高管及财务人员参加会议。
10月23日,陕西省体育场燃情启幕的碑林区长安路街道大南门商圈第二届职工运动会上,21位华春选手奋勇拼搏,征战四大项目,用汗水诠释了“健康、快乐、和谐、友谊”的赛事宗旨,用“三金一银”的优异成绩书写了属于华春人的热血与精神。

从工程咨询的精益求精到赛场上的奋勇争先,华春人始终以“拼搏”为人生注脚。此次运动会不仅是竞技赛场的实力比拼,更是企业文化的生动展现。
柳林酒业党委书记付小铜组织传达学习党的二十届四中全会精神
10月25日上午,柳林集团党委召开扩大会议,集中传达学习贯彻党的二十届四中全会精神,党委书记付小铜主持会议并作领学解读。会议通过“原文学习+重点解读+交流研讨”的形式,系统学习会议精神,全集团97名党员干部参加学习。

付小铜书记强调,全会对今后五年的发展作了总动员,柳林酒将从自身实际出发,加速推进科技创新和产业创新的深度融合,持续强化科技支撑和赋能,全面推动绿色转型,全力推动柳林酒的发展建设向更高质量迈进!
为更好集中展示会员企业形象,提升陕商知名度和影响力,搭建互动交流平台。“陕商公众号特开设会员周报栏目,关注陕商企业发展动态、企业重要事件新闻等。文稿要求:100至300文字+1-3张照片;资料发至秘书处邮箱seda98@163.com或陕商会员群及秘书处工作人员处。

