随着商标市场的进一步发展,商标蕴含的市场潜在价值,也暴露在大众眼前,为了快速获利,一些商家会采取“蹭大牌”、“搭便车”等一系列注册近似商标行为。这种行为会使被蹭的知名品牌陷入“打假”风波,损害品牌形象。为了预防被山寨,一些知名品牌逐渐有了保护自己商标的意识,今天小编就带大家对“农夫山泉”的商标保护力度一探究竟。
农夫山泉股份有限公司成立于1996年,中国饮料20强之一,是在中国市场上同时具备规模性、成长性和盈利能力的饮料龙头企业。截至2024年,农夫山泉股份有限公司递交的商标申请有1226个。由此可见农夫山泉对商标注册的重视程度。
2009年,农夫山泉注册“东方树叶”商标,2011年,农夫山泉正式推出主打零糖、健康理念的茶饮料“东方树叶”,但当时因口感超前无法得到消费者认可,甚至一度被认为是中国最难喝饮品top5,近两年才重新迎来春天,成为了零糖茶第一品牌。
之后申请了茶π、尖叫、维他命水、农夫山泉、水溶C100、NFC、17.5°等商标,布局茶饮料、功能饮料、果汁饮料等多个赛道。
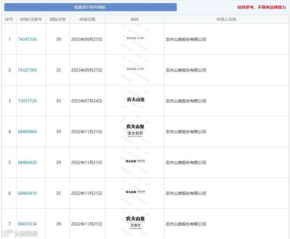
随着农夫山泉的做大做强,越来越多的跟风模仿品牌出现,为了预防被别人“蹭热度”,农夫山泉一口气申请注册了198个“农夫山泉”相关的商标,注册类别几乎覆盖了商标所有的类型。
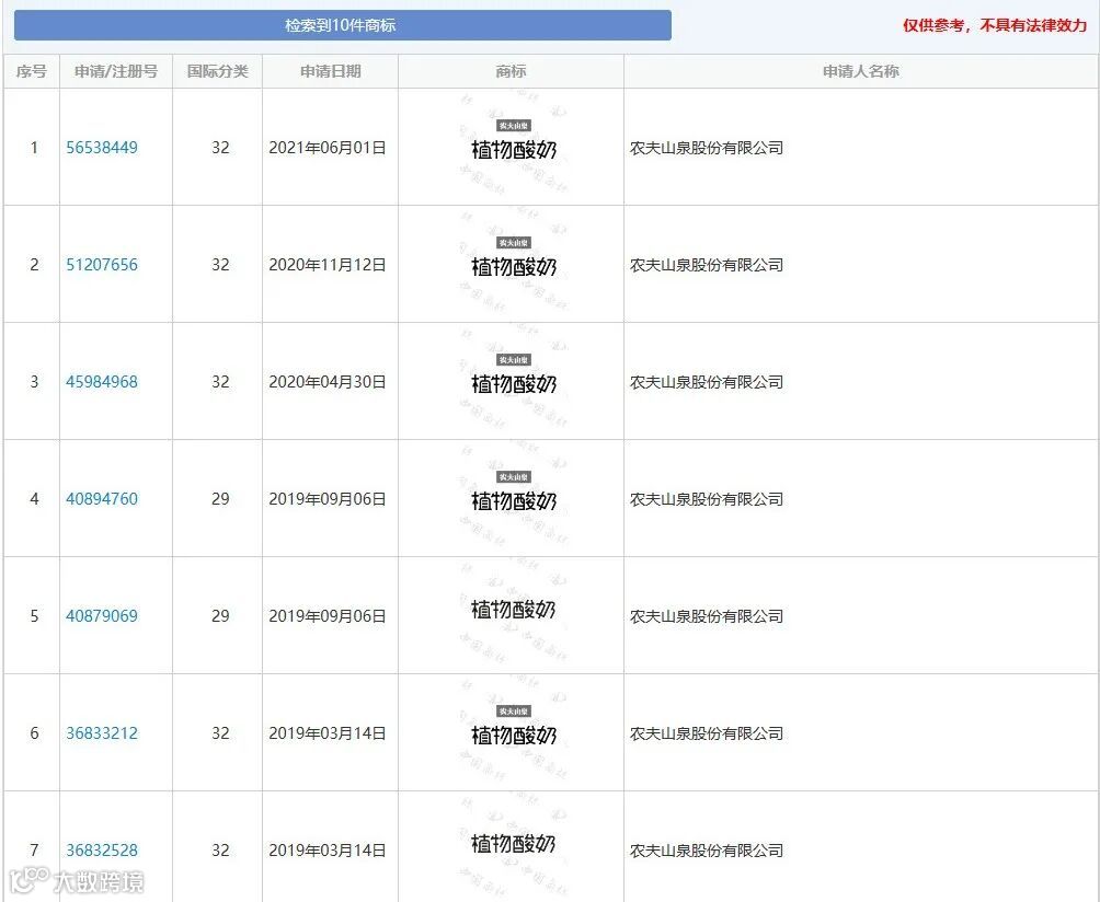
小编发现,农夫山泉申请频率最高的是植物系列。近年来随着人们注重养生的热潮上升,以植物健康为主打的饮品层出不穷,酸奶市场大热,农夫山泉及时申请了“植物酸奶60”系列10个商标,为了后续的市场倾向做准备。
农夫山泉大量地商标注册,看似且大费周章,其实大有裨益。说明农夫山泉能够为自己的商品建立强大的防御系统,以应对各种商标侵权风险的袭击,想要维持品牌持续发展,商标保护就必须得到重视。
旗下微信公众号
(我们的技能)
商标注册、商标变更、商标异议、商标复审、商标转让、专利申请、专利异议、专利转让、版权代理、软件著作权登记、科技型中小企业、高新技术企业、创新型中小企业、专精特新中小企业、专精特新“小巨人”企业申报等相关荣誉资质申请
(赶紧联系我们吧)
负责人:刘经理15807003837
官方网站:www.jxnayun.com
地址:南康区金融中心10栋6004室

