大数跨境
0
0

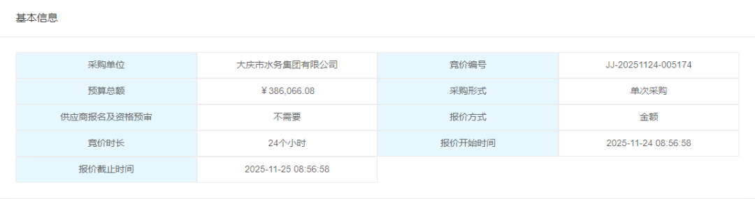
大庆市水务集团高新运行公司污水泵房平改坡项目(二次)

大庆市水务集团高新运行公司污水泵房平改坡项目(二次) 大庆高新资产管理有限公司
2025-11-25
8

公告内容

来源:大庆市社会资源公共交易服务中心

网站:http://www.dqbidding.cn/

编辑:技术部

咨询热线:0459-8990667-3

近期热门视


更多精彩视频

关注视频号查看


【声明】内容源于网络
0
0
大庆高新资产管理有限公司
1234
内容 659
粉丝 0
大庆高新资产管理有限公司 1234
总阅读3.3k
粉丝0
内容659