CISAW—信息安全保障人员认证
由中国网络安全审查认证和市场监管大数据中心历经六年,集业界专家、企业精英、高校及研究机构学者参与打磨的针对信息安全保障不同专业技术方向、应用领域和保障岗位,依据国际标准ISO/IEC 17024《人员认证机构通用要求》所建立的、不同层次的信息安全保障人员认证体系。
CISAW经过全新改版,针对技术专业和应用领域,建立了20余个认证方向,针对不同层次,不同专业的信息安全岗位,为信息安全从业人员提供了较为完整的一套认证体系。
为了节省考生宝贵的时间和降低异地考试带来的诸多不便与成本,中国网络安全审查认证和市场监管大数据中心自2020年起针对CISAW部分系列的认证定期推出线上考试,最近一期线上考试于11月份举行。
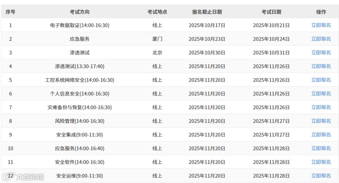
今天,信息安全保障人员认证(CISAW)2025年11月线上考试安排已经开启报名:
根据上面考试时间,大家可以看出来,线上考试都集中在11月26日和27、28日,如果您计划参加11月份的线上考试,我们诚挚地建议您尽早安排时间报名参加相关的培训课程。这是因为,根据考试的规定,您必须完成两个阶段的培训后,方有资格报名参加线上考试。
|
认证方向 |
线上课程 |
线上 考试时间 |
|
安全集成 |
11月17日、18日、19日、20日、21日 |
11月27日 9:00-11:30 |
|
风险管理 |
10月22日、23日、24日、25日、26日 |
11月27日 14:00-16:30 |
|
安全运维 |
11月15日、16日、21日、22日、23日 |
11月28日 9:00-11:30 |
|
安全软件 |
11月8日、9日、14日、16日 |
11月28日 14:00-16:30 |
|
个人信息安全 |
10月25日、26日、27日、11月1日、2日 |
11月26日 14:00-16:30 |
|
灾难备份与恢复 |
10月23日、24日、25日、26日 |
11月26日 14:00-16:30 |
|
工控系统网络安全 |
11月15日、16日、17日、22日、23日 |
11月26日 14:00-16:30 |
|
应急服务-理论部分 |
10月17日、18日、19日、20日、21日 |
11月28日 14:00-15:00 |
|
应急服务-实操部分 |
11月28日 15:10-16:40 |
|
|
渗透测试-理论部分 |
10月27日、28日、29日、30日、31号(北京线下班) |
11月26日 13:30-15:00 |
|
渗透测试-实操部分 |
11月26日 15:10-17:40 |
为了确保您能够顺利参加考试,避免错过机会,我们强烈建议您立即采取行动,尽早完成报名和培训流程。我们期待您在考试中取得优异的成绩。
往期推荐

