“ 神秘的“付款”版块。”
每天打开亚马逊后台,你是不是和我一样:
✅ 第一时间查看销量
✅ 再看广告数据
✅ 然后再看库存Listing状况
❌ 点开“付款”版块也只点“回款”,不怎么看其它!
一、亚马逊的结算系统也有BUG:
这是10.24系统结算收取的10.7-10.8参加秋促的专享折扣费用。事实上,我因为重复提报,有个活动很早就取消了,但依然收了费用。
为此,开了CASE,但客服只回复上报了,截止目前付款-交易一览页面没有更新,说明问题还没解决,估计下周还得确认一下。
二、付款页面,重点监控这几项,以便发现问题及时解决:
1️⃣ FBA费用明细:每月8号和15日,重点核对长期仓储费
2️⃣ 广告花费对账
3️⃣ 退货相关费用
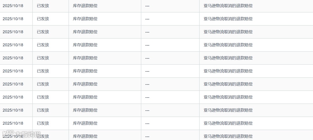
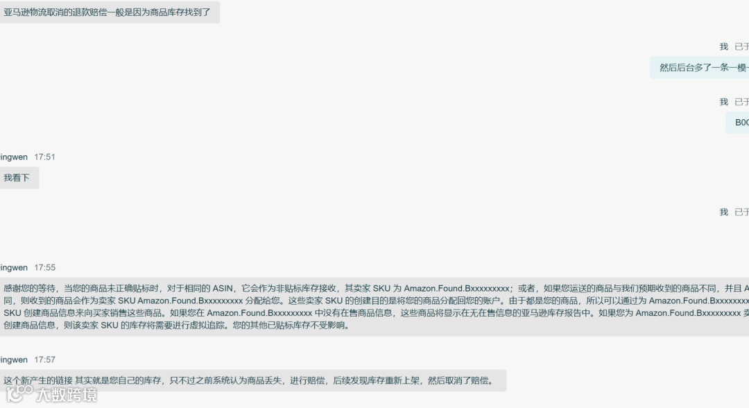
4️⃣ 其他隐藏成本,这个账户余额突然变成负数,然后一看两眼一黑,后台还多了一条一模一样的Listing:
具体原因客服也给得很详细:
你的每一分利润,都值得被认真守护。
全文完,感谢阅读,祝您大麦!欢迎用您发财的手一键四连(关注、点赞、转发、留言)
若有问题,可加我微信,可能回复稍慢~~(非诚勿扰哈~)

