本文概述了ADI T1/E1/J1收发器的环回功能。T1和E1是术语,用来描述通过任意介质进行的1.544Mbps和2.048Mbps传输。环回模式有助于器件或设备的诊断测试。在环回模式下,收发器将经过网络或一段特定链路传送的信号由收发器的一端返送回发送设备的另外一端。将来自两端的信号进行比较。两者之间的差异有助于故障的跟踪。
ADI T1/E1/J1收发器支持六类环回。
远端环回(RLB)
本地环回(LLB)
成帧器环回(FLB)
诊断环回(DLB)
净荷环回(PLB)
按通道环回(PCLB)
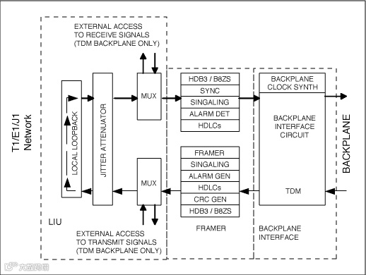
这类环回便于用户测试设备链路的远端。在远端设备中,信号穿过LIU和抖动衰减器。 控制寄存器的RLB位设置为低时,禁用远端环回。
控制寄存器的RLB位设置为低时,禁用远端环回。
控制寄存器的RLB位设置为高时,启用远端环回。
在远端环回中,通过RTIP和RRING输入的数据经过抖动衰减器后被发送回TTIP和TRING。数据照常通过器件接收端的成帧器。来自发送端格式器的数据被忽略。
详细情况见图1。
图1. 典型的远端环回工作模式
本地环回允许用户将数据从TSER传送到RSER,时钟从TCLK传送到RCLK。本地环回也被称为数字环回,这是因为器件通过其数字电路回送数据。
控制寄存器的LLB位设置为低时,禁用本地环回。
控制寄存器的LLB位设置为高时,启用本地环回。
在本地环回中,发送数据照常通过收发器的发送部分传送。RTIP和RRING上接收到的数据被发送数据替换。本地环回的数据通过抖动衰减器。
详细情况见图2所示。
图2. 典型的本地环回工作模式
这类环回有助于对应用进行测试与调试。在成帧器环回(FLB)中,ADI器件将数据从背板的发送端回送到接收端。数据从TSER传输到RSER,时钟从TCLK传输到RCLK。
控制寄存器的FLB位设置为低时,禁用成帧器环回。
控制寄存器的FLB位设置为高时,启用成帧器环回。
启用成帧器环回时,来自TSER的信号经过成帧器回到RSER。这类环回用来检验成帧器的功能。T1模式下的成帧器环回中,从TPOSO和TNEGO发送未成帧的全1代码。在E1模式下,从TPOSO和TNEGO发送标准数据。
在成帧器环回模式下,所有接收端信号都与TCLK同步,而不是RCLK。使用成帧器环回时,在该环回过程中,RCLK不能连接到TCLK,因为这样将引起不工作状态。
详细情况见图3所示。
图3. 典型的成帧器环回工作模式
诊断环回仅使用器件的UTOPIA部分。诊断环回旁路了器件的LIU和成帧器部分。
诊断环回使发送数据包回送到UTOPIA总线的接收端。这种模式适用于ADI的诸如DS2156之类的电信器件。
在诊断模式下,SCT发送部分产生的数据、时钟和帧脉冲指示取代了来自物理层器件的相应信号。应当将物理接收接口模式配置为与物理发送接口模式相同的数值。接收有效沿选择位应当配置为与同一SCT发送部分相反的沿。
详细情况如图4所示。
图4. 典型的诊断环回工作模式
净荷环回有助于验证用户是否接收到正确格式化的数据模式。该环回将数据再成帧、再格式化。
控制寄存器的PLB位设置为低时,禁用净荷环回。
控制寄存器的PLB位设置为高时,启用净荷环回。
启用净荷环回时,来自RTIP/RRING的信号通过LIU和成帧器,回送到TTIP/TRING。在这类环回模式下,发送数据与RCLK同步,而不是TCLK。所有接收端信号照常工作。TSER、TDATA和TSIG引脚的数据被忽略。
在T1模式下,净荷环回可以在D4和ESF成帧模式下执行。启用PLB时,SCT将192位的净荷数据(经BPV修正)从接收端回送到发送端。FPS帧模式、CRC6校验码和FDL位不参加环回,它们由SCT重新插入。
在E1模式下,净荷环回将248位净荷数据(经BPV修正的)从接收端回送到发送端。发送端对净荷加以调整,就如同它是由TSER输入的一样。FAS字、Si、Sa和E位,以及CRC4不参加环回。它们由SCT再插入。
详细情况如图5所示。
图5. 典型的净荷环回工作模式
按通道环回是净荷环回的子集。数据模式通过用户选定的通道回送。按通道环回寄存器(PCLR)决定了背板上哪个通道(如果有的话)应当被来自接收端或是来自T1或E1线路的数据替代。按通道环回需要发送时钟、接收时钟与帧同步信号同步。实现同步的一种方法是将RCLK连接到TCLK,RSYNC连接到TSYNC。对于哪个通道或多少个通道进行环回没有限制。
按通道环回寄存器(PCLR1/PCLR2/PCLR3/PCLR4)中每一位都代表了输出帧中的一个DS0通道。当这些位被置1时,来自相应接收通道的数据将替换该通道TSER上的数据。
ADI收发器提供的各种环回模式有助于在线路侧和系统侧对用户数据传送错误进行诊断。应当根据用户应用板的需要决定使用何种环回。
👇点击探索ADI“芯”世界

