项目名称:快递100拉新
快递100这个平台出来好久了,官方前不久才开通了推广渠道,这就给了我们以此赚钱的机会。
下面来说说这个项目的具体玩法
邀请100个新用户注册即可获得300元奖励,邀请1000个则可得3000元,邀请10000个则能获得3万元,收入无限制!
具体用户通过我们的渠道线上寄快递来赚取差价,例如平台报价是5元,你在后台设置利润是1元,用户下单页面显示的就是6元,别看利润是小小的1元,寄快递的用户很有粘性,复购率高,
尤其是一些刚开始做电商的商家,单量少,快递站点是不会给优惠价格的,我们就是把散户和小微企业汇聚在一起。
中国拥有14亿人口,快递100的新用户资源极为丰富,市场几乎不会饱和。只要掌握有效的推广方法,并具备一定的执行力,赚钱将变得顺理成章。
这是个需要前期累积的项目,熬得过前期粉丝慢慢积累的阶段,后期就是源源不断的被动收入!
从2022年12月5日正式启动快递项目,到今年2024年6月12日,一共赚了有100多W了,后台数据,一共2个账号:
甚至很多人都没有比较过不同渠道寄件的价格差异,都以为同一个快递公司的价格都是一样的。
推广寄件怎么样赚钱?
开通账户后,就可以自己设置佣金价格。
我建议每单快递首重利润保证在8毛左右即可,不建议超过1元,续重的利润我建议设置在5毛-8毛之间,这样最终用户支付的金额,会低于在快递公司官方金额的2-3元(首重),如果货物重量越大,利润空间也就是越高。
利润=首重利润+续重利润,例如一件货物是20KG,首重设置的利润是8毛,续重利润设置的是6毛,那么最终的利润是:1*0.8+19*0.6=12.2元。
注:用户下单后,快递员取件称重将快递发出后,平台才进行扣费,也就是说快递发出后运单状态为(运输中)自己的后台才能看到结算佣金。超过30KG用户下单物流价格更低,但是佣金也很低!
这是个需要前期累积的项目,熬得过前期粉丝慢慢积累的阶段,后期就是源源不断的被动收入!
这个寄件小程序能省钱吗


如何注册及后台设置
注册链接
轻松易推,单单躺赚,自用也省钱!>>> 扫描下方二维码开通

着重说一下平台规则
锁粉机制(永久锁粉)
用户通过推广二维码进入小程序后,自动锁定成为粉丝,一但锁定后即成为永久粉丝,不管这个用户以后再通过其他人的推广二维码下单,佣金都在你这里结算!全国通用!
间接锁粉:当你的用户把小程序分享给他人使用,他人点击进入后自动成为你的粉丝,没有层级限制,用户无限分享,你无限锁定间接粉丝!
快递100品牌优势
大品牌,有品牌效应,成单率高,能达到80%,复购率也高!
无需自己对接用户售后,省心省力,专心推广即可。
小件采用微信信用付,大件采用线下支付给快递员,获得返佣的模式,不担心超重不补的问题。
可开发票,发票服务名称为‘快递服务费’,这是其他平台都没有的!
个人提现没有手续费和税费,余额多少到手多少!
最多可设置200个寄件页,可分渠道推广,可看单个渠道的数据,适合多渠道推广用户。
注册链接👇:
http://ckd.im/bQaoFL
(可以复制链接在微信或者浏览器中打开注册)
扫码注册也是一样的👇
2.2.1注册后登录后台
注册后用注册的微信扫码登陆后台
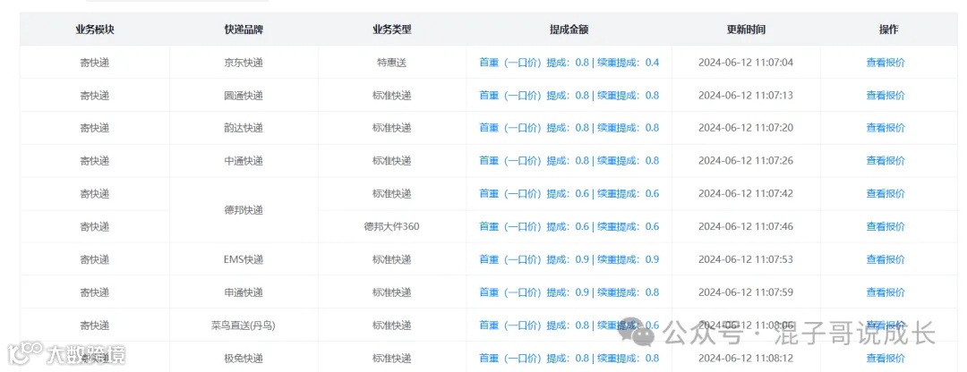
2.2.3设置后台价格
后台价格建议按照下图设置
2.2.4生成对应的寄件页
不同的推广渠道设置成不同的寄件页,这样渠道的推广数据就可以区分开,对应哪个渠道效果好,出单率高/复购率高,就可以着重推广!!
2.2.3 生成推广海报
将推广链接分享给客户寄件,客户点击后立即成为您的绑定好友,之后通过快递100特惠寄下单,你都可以享受收益。
手机端示例:

好了,项目的整个搭建流程就结束了。下面的案例是给你做参考的,你可以选择性阅读,目的就只有一个,想办法让别人用你的二维码下单寄快递即可。
如何推广赚钱(干货)
最最最最最重要的干货来了,代理也开通了,后台也设置好了,不知道怎么推广就是白费,下面讲一下我的推广经验。
我刚开始接触快递的时候也是特别迷茫,不知道如何推广,也自己试过好多方法,浪费了很多毛爷爷,例如:去百度贴吧各类快递公司的贴吧发帖,然后用机器人挂上VPS自动回复,时刻保证自己的帖子在第一的位置上,这就需要自己买的VPS、贴吧顶贴账号、顶贴软件,结果就是亏。下面我就讲一些无需任何成本的推广方式,亲测有效,月入几千到上万是没有问题的!
可以通过小红书或咸鱼推广,这两个渠道是测试过最好用的。
先说小红书。
一、笔记发布
小红书发布笔记可以直接发布快递小程序的推广二维码,这样效果最直接,本人其中一个账号就是用这种方法。(小红书号:6767405918)你们可以按照我这个账号的方式进行发布笔记,笔记积累到20篇会有置顶功能,可以选择流量最大的一篇置顶一下。
(不要第一天新注册的小红书账号,就马上去修改头像及简介,等两天再去修改即可,没事的时候多刷刷别人的笔记,对自己的账号都有帮助,不会被官方识别成异常账号)。
此方法最暴力,我曾经一篇笔记爆了2000多点赞,上了1000多用户,当天利润1000+,如果感觉自己一个账号不够用,也可以使用多个手机多个账号发布,我自己就有15部手机,账号都是找不玩小红书的朋友要的,直接用他们手机号登录即可。
这种营销笔记发出去会有很大几率被判定违规,笔记违规不要害怕,小红书咱们发布的程度是不封账号的!
如果你运气不好,发出去就违规,你可以置顶一个带二维码的笔记,通过别人账号关注你,看看置顶笔记是否被隐藏,没被隐藏的话,其余笔记发正规的运费对比文案,或者其他正规的快递优惠文案,在文案评论区引导用户看你置顶笔记!
二、笔记评论区回复(此推广方式一定要把自己的账号资料完善,大家可以看看我的账号)
小红书有个规则就是当你主动搜索一个行业后,他会在主页的发现页不停的推送同行业的信息,例如你今天不停的搜索寄快递,你就会在发现页里看到很多寄快递的笔记。这个时候你就可以不停的刷新发现页即可,发现有寄快递需求的用户直接在笔记里留言,不建议留言太直接,会被系统自动隐藏。在用户的笔记评论后,在关注他,最后用另一个小红书账号搜索你评论用户的账号,通过账号搜索找到那篇笔记,核对自己评论的内容是否被隐藏!
咸鱼推广内容较多,也是核心玩法,需要的朋友在公众号后台回复关键词“快递 ”免费获取
最后再说一下注册链接👇:
http://ckd.im/bQaoFL
(可以复制链接在微信或者浏览器中打开注册)
扫码注册也是一样的👇

