文章作者
刘恺,汤治国,孔方亮,王银浩
许昌烟草机械有限责任公司,河南省许昌市永昌路6号 461000
文章摘要
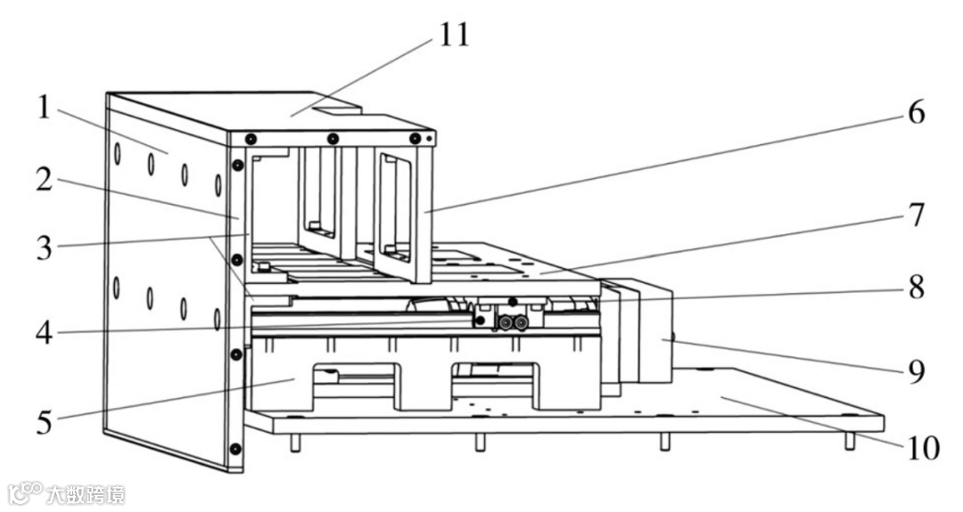
为减少滤棒、烟支等棒形制品(以下简称棒料)在装盘/盒过程中出现的质量缺陷问题,设计一种新型装盘/盒装置。该装置主要由第一填装机构、第二填装机构、盘/盒升降机构和满盘/盒推出机构组成。两个填装机构的推板相互配合实现填装功能;盘/盒升降机构中的U型动态料库(三面带平行槽)可以上下往复运动,上升至最高位时被排列整齐、堆叠规则的棒料填满,下降至填装位时由填装机构的推板将料库内的棒料推送至空盘/盒,下降至最低位时由推出机构将满盘/盒推出。
以直径为5.4 mm、长度为120 mm的滤棒为对象进行装盒测试,结果表明:所设计的装盘/盒装置在YJ36B型装盘机中运行稳定;装盒速度为16000支/min时,滤棒在盒中排列整齐、规则,无掉棒、乱棒、夹棒等现象发生,盒内平均空棒数量为3.5支/盒,满足棒料填装需求。该装置可为提高卷烟生产过程的自动化水平提供技术支持。
文章背景
随着国内烟草机械的飞速发展,滤棒成型设备以及卷接包生产线逐步向超高速和自动化方向发展,滤棒、烟支等棒形制品(以下简称棒料)的装盘、装盒装置[以下简称装盘/盒装置,盘(塑料材质)内棒料一般直接送至生产线下游用于生产,盒(纸板材质)内棒料一般在车间暂存或需要运输]成为卷烟生产线中重要的辅联设备之一,可以为棒料的储存输送提供一种高效可靠的周转方式。近年来,针对棒料的装盘/盒装置已有较多研究。现有研究通过单一改进下料库导板的形状、增加分流块等方式,减缓下料库底部棒料的压力,从而优化供料流程,但无法彻底解决掉棒、乱棒、夹棒等问题。
为此,根据棒料堆叠规则设计一种采用推送式滑移填装方式的新型装盘/盒装置,通过增加动态料库使填装机构与下料库柔性配合以实现预填装,并将装盘/盒过程由多次填装改为一次填装。将该装置应用于YJ36B型装盘机(以下简称YJ36B,许昌烟草机械有限责任公司)中,以期提高棒料装盘/盒质量和卷烟生产线的自动化水平。
文章概述
如图1所示,动态料库在上下往复运行时有最高位、填装位和满盘/盒推出位(即最低位)3个关键位置:①最高位是动态料库与下料库连通的位置,动态料库上升至最高位时,填装机构Ⅰ的推板缩回至初始零位,此时下料库中的棒料进入动态料库,在YJ36B中摊平整理机构(位于下料库下方)的作用下,动态料库中底层的棒料进入底板上的平行槽,根据槽的排列规则堆叠。②动态料库下降至填装位时,两个填装机构的推板同时推出,将动态料库中排列整齐、堆叠规则的棒料一次填装至空盘/盒。③动态料库下降至满盘/盒推出位时,推出机构将装满棒料的盘/盒推送至输出机构,同时填装机构Ⅱ的推板缩回至初始零位;然后推出机构缩回至初始零位,待动态料库返回至最高位并开始下一批棒料的装盘/盒流程。
1. 填装机构Ⅰ 2. 填装机构Ⅱ 3. 满盘/盒推出机构 4. 动态料库 5. 盘/盒夹持机构 6. 驱动机构
图1 棒料装盘/盒装置结构示意图
Fig. 1 Structure diagram of tray/box filling device for rod-shaped products
如图2所示,填装机构Ⅰ由上安装板、推板Ⅰ、侧板、底板、直线导轨、伺服电机和电动模组组成。上安装板固定在YJ36B的机架上,底板通过两侧板与上安装板连接。推板Ⅰ可以在电动模组(固定安装在底板上,由伺服电机驱动)中滑块的带动下沿直线导轨(安装于推板Ⅰ和安装板之间)往复滑动。
1. 上安装板 2. 推板Ⅰ 3. 侧板 4. 底板 5. 直线导轨 6. 辅板 7. 伺服电机 8. 电动模组
图2 填装机构Ⅰ结构示意图
Fig. 2 Structure diagram of filling mechanismⅠ
如图3所示,填装机构Ⅱ由推板Ⅱ、定位板、直线导轨、支座、立板、驱动连接板、伺服电机、电动模组、底板和水平支撑板等组成。底板固定在YJ36B的机架上,推板Ⅱ通过定位板、立板和水平支撑板固定安装在驱动连接板上,驱动连接板可以在电动模组(固定安装在底板上,由伺服电机驱动)中滑块的带动下沿直线导轨(安装于支座)往复运动,使推板Ⅱ和水平支撑板配合填装机构Ⅰ中的推板Ⅰ共同完成填装任务。
1. 推板Ⅱ 2. 填装辅板 3. 定位板 4. 直线导轨 5. 支座 6. 立板 7. 驱动连接板 8. 伺服电机 9. 电动模组 10. 底板 11. 水平支撑板
图3 填装机构Ⅱ结构示意图
Fig. 3 Structure diagram of filling mechanismⅡ
如图4所示,升降机构由背板、电动模组、盘/盒夹持机构、伺服电机、动态料库、连接板、连接轴等组成。两电动模组通过连接轴连接并安装在左右两个竖直平行放置的背板上,背板固定在机架上。将两电动模组的滑块调整平齐后紧固连接轴两端的联轴器,由伺服电机驱动连接轴,实现两电动模组滑块的同步运动,从而带动动态料库和盘/盒夹持机构同步上下往复运动。
1. 背板 2. 电动模组 3. 盘/盒夹持机构 4. 伺服电机 5. 动态料库 6. 连接板 7. 连接轴
图4 盘/盒升降机构结构示意图
Fig. 4 Structure diagram of tray/box elevator
如图5所示,盘/盒夹持机构由外框架、左夹持板组件、右夹持板组件和水平夹持板组件组成。外框架由4块厚15 mm的7075铝板首尾相接组合而成,每个夹持板组件均由不锈钢材质的固定板和活动板(厚度1.5 mm)组成。外框架通过两侧连接板固定在两电动模组的滑块上,3个夹持板组件安装在外框架上,且左、右两夹持板组件的距离可根据盘/盒宽度进行调整。
1. 外框架 2. 左夹持板组件 3. 右夹持板组件 4. 水平夹持板组件
图5 盘/盒夹持机构结构示意图
Fig. 5 Structure diagram of tray/box holding mechanism
如图6所示,动态料库分为外框架和槽板体,外框架由左右支撑板、底座、底座连接板构成,左右支撑板固定在底座上;槽板体由左侧槽板、调整轴、滑动轴承座、右侧槽板、底槽板组成,位于底座连接板上方的底槽板上设计有与棒料直径相关的平行槽(板宽140 mm,槽长90 mm,槽底与底槽板两侧平面平齐),用于动态料库底层棒料的规则排列和定位;底槽板的槽底高于水平夹持板1~2 mm,方便动态料库内棒料滑移至空盘/盒。
1. 左侧槽板 2. 调整轴 3. 滑动轴承座 4. 右侧槽板 5. 左右支撑板 6. 底槽板 7. 底座 8. 底座连接板
图6 动态料库结构示意图
Fig. 6 Structure diagram of moving container
填装完成的满盒滤棒如图7所示。可见,滤棒在盒中呈蜂窝状规则堆叠,存在少量的孔洞(表示该位置存在空棒现象)但无乱棒、皱棒等损伤滤棒的情况。如表1所示,在16000支/min的装盒速度下,盒内滤棒未出现乱棒、皱棒现象,纸盒中平均空棒数量为3.5支/盒,解决了传统装盘机的掉棒、乱棒和夹棒等问题,避免装盒过程对棒料的外观质量造成损伤。
图7 满盒滤棒填装实物图
Fig. 7 Image of carton filled with filter rods
表1 滤棒装盒实验结果①
Tab. 1 Results of filter rod filling test
注:①装盘机装盒速度设定为16000支/min。
引用本文
刘恺,汤治国,孔方亮,等. 一种棒形制品装盘/盒装置的设计[J]. 烟草科技,2025,58(9):93-98.
LIU Kai, TANG Zhiguo, KONG Fangliang, et al. Design of a tray/box filling device for rod-shaped products[J]. Tobacco Science & Technology,2025,58(9):93-98.
DOI: 10.16135/j.issn1002-0861.2024.0703
本文节选自《烟草科技》2025年第9期《一种棒形制品装盘/盒装置的设计》一文。
原文链接:
https://www.tobst.cn/cn/article/doi/10.16135/j.issn1002-0861.2024.0703
编辑|褚美洁
审核|魏 攀
终审|胡 斌
点击阅读原文,可免费下载、浏览全文

