
10月末,SHEIN在美国推出了在线二手转售平台SHEIN Exchange,允许用户交易二手服饰。据悉,目前这一功能仅在美国试运营,预计明年将面向全球更多市场开放。
短短几年,SHEIN从低成本中国时尚服装电商迅速崛起成为时尚巨头。据媒体报道,快时尚巨头SHEIN今年收入有望达到240亿美元,GMV(总成交额)预计将增长50%,达到300亿美元,如果能达到预期,意味着SHEIN的销售额与传统快时尚品牌Zara和H&M的距离进一步缩小。此前,SHEIN的估值已经超过了两位时尚界前辈。
随着规模不断壮大,SHEIN越来越注重品牌价值的经营。在供应链上不断追求极致“快”的SHEIN似乎要“慢”下来,做一些“无意义”的事。

“把吃螃蟹的人吃了”
在大众眼中,SHEIN的崛起似乎是一夜之间的事情。无论是外界还是在跨境电商圈,SHEIN都显得低调和神秘,在网络信息如此发达的今天,甚至很难找到创始人许仰天的照片。
在跨境电商圈摸爬滚打多年的老刘告诉霞光社,许仰天可以算是跨境电商的先驱。最早许仰天在南京一家公司做SEO(搜索引擎优化),算是头一批跨境营销服务提供商,也是在那儿他钻研技术和市场,发现了跨境电商的机会。后来许仰天和人合伙成立了公司,其中一块业务也是做SEO。
根据公开信息,2008年10月,许仰天出资4.5万元和两位合伙人成立了南京点唯信息技术有限公司,占股45%。“发不了大财,但做得早也是能赚到钱的,不过那时候很多SEO是有侵犯知识产权嫌疑的。”晚点曾报道,点唯公司用很多手段提高网站在 Google 的搜索关键词排名,被处理后就换个域名继续刷。
老刘说:“后来几个合伙人意见不合,许仰天就另起炉灶了。也许就是早年发生的这些事情,造就了许仰天后来低调的行事风格。”
依靠SEO掘得第一桶金后,许仰天又做了几年婚纱跨境电商,“就是到广州周边制衣厂拿货,放在网上卖到国外。这种货很难说有什么设计,多是山寨大牌款式。不过婚纱是女装里最特殊的一个品类,只要好看,多少钱消费者都愿意花,而且婚礼准备时间长,物流慢客户也愿意等,简直是天然为跨境电商而生的。”老刘说。
但后来,越来越多的人盯上这块市场,竞争变得激烈。许仰天意识到婚纱市场红利期所剩不多,因此决心进入女装这一赛道。
这个决定在当时看来有点难以理解,服装生意面临的是一片红海。券商分析师李梦分析,放眼整个服装产业,无外乎就是两种盈利模式:类似Gucci这样高溢价、款式少的奢侈品模式;类似Zara这样的溢价低、款式多的快时尚模式。
前者通过品牌影响力产生高溢价、制造稀缺性精准定位高收入人群,后者通过庞大的设计团队捕捉流行元素,定位价格敏感、消费能力不强但人数众多的青年时尚群体。
而在许仰天眼里,这些模式都太“传统”,互联网的逐渐普及让SHEIN看到了第三条路——网红带货。
几乎是一开始,SHEIN就确定了网红的方式带货,SHEIN移动总经理裴暘在一次论坛上曾经透露,“2010年,只要花30美金,网红就可以帮你做宣传,到了2016年,一线网红带货价格已经涨到了5万美元。”
2011年,SHEIN的流量100%来自网红,当时的ROI可以做到惊人的1:3,裴暘都感叹“那是个非常暴利的时代”。

早期Sheinside网站页面。图源:eBay中国官方博客
经过初期的摸索,2012年,许仰天固定了域名,SHEIN前身Sheinside正式上线,目标定位为专做女装的跨境电商独立站。依靠低价策略,简洁明快的网站风格,短短一年时间,Sheinside就累计了超过25万的注册用户。
虽然SHEIN不是最早利用网红带货的跨境电商,但SHEIN做网红带货的模式有多坚决,从一个细节就可以看出,用裴暘的话说:“SHEIN把吃螃蟹的人吃了,全行业第一家做网红的不是SHEIN,是另外一家公司,后来SHEIN把它收购了。”
除了利用网红营销站稳脚跟,起步期的SHEIN展现出对营销深刻而独到的见解。裴暘说:“现在做推广大家都讲竞价、排名、账户操作,大部分人做广告都是先上图,然后测试、优化,把钱花在表现最好的广告商,这是错误的广告做法。”
前述营销业内人士也认为,效果类广告按点击转化付费,但广告代理商可能存在刷量、偷换计费名、流量劫持等数据造假问题,如果客户基于这样的结果反馈数据去优化投放策略可能是无意义的。
在SHEIN看来,广告转化率低,90%都是图片本身的问题,而图片不行,则一定是选款和拍摄本身存在问题。
最早,SHEIN采取低价爆款引流的方式获取用户,比如标价1美元的爆款服装,但流行款式变化很快,这样的广告会在很短时间内时效。从2014年开始,SHEIN花了大量的时间在广告图片本身上。SHEIN研究了大量欧美当地时尚行业广告照片的拍摄风格,2016年,SHEIN在广州寻找国外模特拍摄照片的价格就达到了1200元每小时。
价格成本是最直观的,但很多成本无法用花钱多少去直接衡量。为了贴近当地流行风格,针对不同国家,模特的妆容、发型、发色、配饰、姿态都会有所不同,甚至是拍摄背景用白底、木板还是实景,SHEIN都做了大量尝试,分析每个不同的组合的点击转化率,跟踪消费者的最终评价和反馈,得到广告图片风格的最优解。“花了两年时间才达到想要的效果。”裴暘说。

“确实SHEIN的服装是比较便宜的,尤其在北美和欧洲这样的发达国家市场,所以很多人说SHEIN的崛起是依靠中国式的网红种草+传统外贸的低成本模式,这种观点只说对了一部分。最初起量阶段流量红利确实是一个很关键的因素。” SHEIN前员工Rebecca说。
Rebecca对霞光社说,早期一些国家只需要给KOL寄几件衣服,或发一些优惠券就可以让他们帮助SHEIN进行产品推广,成本几乎为零,后来SHEIN也逐渐引入了销售分成这样的机制。除了大家比较熟知的Facebook、instagram、Youtube这样的主流平台,SHEIN会时刻留意新兴的社交媒体和平台,比如国内不太知名的Pinterest,年轻女孩非常喜欢用,SHEIN利用它获取了大量用户。
Rebecca曾负责过SHEIN在欧洲某国的市场,她在SHEIN的两年时间,销售额猛增了9倍。

Rebecca说,SHEIN非常注重内容本身和社群的营销转化,尤其在最近两年,SHEIN社交媒体粉丝数量连续保持了30%以上的增长,Pinterest粉丝量甚至增幅超过了100%。
除了官方品牌账号,SHEIN还分品类、分地区设有不同的子账号,比如仅Instagram子账号就超过20个,更加有效地触达细分市场的消费者。
从SHEIN网站的访问数据可以看出,公司擅长通过优质内容及营销手段获取消费者关注。根据中泰证券的一份研究报告,2021年5月,其网站平均访问时长为8分37秒,远高于ZARA的6分25秒和H&M的5分55秒。

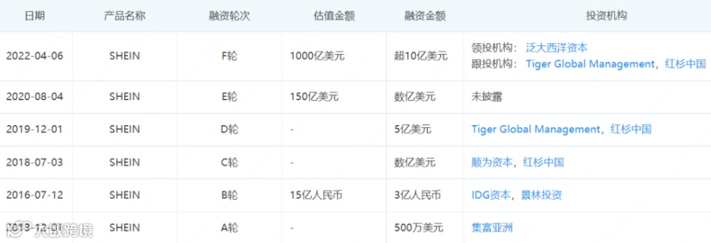
一位美元基金投资人表示,最近几年的疫情导致了SHEIN爆炸式的增长,SHEIN因此逐渐进入大众视野,但其实,SHEIN的崛起可以说与疫情无关,只是宏观环境加速催化了这个过程。投资圈很早就有机构注意到了这家公司,2015年SHEIN就拿到了上亿融资。
前述投资人坦陈:“最开始我们没有介入SHEIN的项目有些遗憾。这两年我们出手的次数比较少,在全球央行放水的背景下,像SHEIN这样好的项目估值又涨得太快,所以后续也就没有参与。”

2021年5月17日,SHEIN取代亚马逊成为美国iOS和Android平台下载量最高的购物APP,在54个国家或地区的iOS购物应用中排第一位,在13个国家或地区的Android购物应用中排第一位。一个来自中国的快时尚APP下载量超过了人们熟知的亚马逊等本土大平台,随着媒体争相报道,这个庞然大物的神秘面纱才被逐渐揭开。
“SHEIN内部其实很早就意识到流浪红利很难长久持续。”Rebecca说,SHEIN非常注重供应链体系的搭建。
连续不断地高速增长背后,是SHEIN“小单快返”的供应链模式。小单快返在快时尚领域并不新鲜,先小批量的生产不同款式产品测试市场反应,根据反馈确定有爆款潜质的产品大批量生产。
“一开始SHEIN就是买手到处找货采购,看到好的版型就在十三行批发市场或者直接找工厂拿货,卖得好再追单。”李志和SHEIN合作了几年时间,“大家一开始都不愿意接单生产,主要是货要得急,量还小,就像100件这样的小单,平均到每个建议生产的尺码也就二三十件,工厂都收不回成本。”
2014年之前,SHEIN还没有完整的供应链体系,找到了爆款却供不上货,价格也没办法有效控制。
中泰证券研报认为,产品的高性价比、极快的上新和库存灵活是服装行业的“不可能三角”。极快的上新需要较高成本投入到生产环节进行多批次生产,在高成本、低毛利的情况下,服装企业可能会面临产品短缺或库存过剩,最终这都会导致利润下降,如果企业要盈利,就必须要有灵活库存,在供不应求和降价促销之间保持平衡。
早期SHEIN会给工厂贴点钱,保证生产不会亏。Rebecca说,通常拿到样衣或少量备货后,就会联系拍摄团队,上传图片,通过消费者的点击、浏览时间、购买数据分析预测哪些可能成为爆款,然后再联系制衣厂大批量生产。但在SHEIN快速起量的阶段,产能成为制约销量的核心因素。
2014年,许仰天亲自带队,在广州番禺建立了一个包含服装设计师和买手的设计打板团队,并逐渐沉淀下来一个服装生产供应商池。番禺是珠三角的几何中心,这里和一江之隔的东莞有大量中小型制衣厂和面料供应市场,距离佛山仓储基地和广州白云机场也只有一小时车程,是服装外贸产业的前沿阵地。
其实在2014年之前,许仰天就有稳定供应商的想法,他甚至很早就在服装厂入股。从公开报道中可以看出,2013年,SHEIN就启动了外部设计师招募计划。
“SHEIN越做越大,早年跟着公司的供应商都赚到钱了,但像我们这样后来加入的,就比较尴尬,主要是SHEIN对供应商的要求越来越高,利润也越来越小。”李志说。
李志告诉霞光社,最初货要得急,出点小错SHEIN也会要,但现在不行了,对于衣服尺码、数量、款式都有非常严格的要求。最麻烦的是制作样衣,经常要来来回回修改几次,SHEIN有一套专门的数据系统,每次修改了什么地方,比如袖长短了多少,版型发生了什么变化,以及下单时间、收发货都有详细的记录。“很多数据都需要我们自己录入,无形中多了很多工作。”
为了确保供应链体系中原材料备货的稳定可控,SHEIN自建了仅供内部使用的线上B2B供应商平台“淘料网”。券商研报称,截至2020年初,该系统已经有超过300家原材料供应商,公司面料年采购量已超过16亿米,金额超过50亿元。
另外,公司生产部门通过生产时效、品质、产能、配合度等多个维度对供应商进行月度、季度和年度考核,将供应商分为从S、A到D五个级别,S和A级供应商半月结款,其他供应商月结。李志说,结算爽快是SHEIN非常厚道的地方,服装厂被拖欠货款在业内十分常见,回款快的代价是如果生产没有按期完成或质量不达标会被扣钱,最终,末位的30%供应商将会被淘汰。
从原料端到生产端再到消费端,所有的数据都会汇集到SHEIN,针对不同国家和地区的消费者,SHEIN都会有针对性的版型、面料优化,依靠累积的数据不断优化算法系统,提高对市场需求预测的准确度,动态调整库存,用市场反馈指导生产和销售。在这套系统里,生产成本几乎是完全透明的。
“现在做首单试产肯定是亏的,只有后续大量追单返单,才能有利润。但是这么多供应商一起竞争,你价格报的高一点,SHEIN就去找别人了,一件成本10元的衣服,利润基本在2元左右,最低1元利润我们也做过。”
李志无奈地表示:“现在服装行业越来越难做,广东这边成本已经很高了,听说SHEIN正在把供应链搬到成本更低的江西。”今年初,李志结束了和SHEIN的合作,“我年纪大了,孩子已经在城市工作,无意接手家里的生意。”

2016年,裴暘参加论坛时,还谦虚地说SHEIN是一家“小而美”的公司,“小是指做的东西足够专注,美是在专注的领域里做到极致。”当年,SHEIN的定位还是只做女装。“两三万SKU只有女装”还是让裴暘颇为骄傲的事情。

但目前,从公司官网来看,除了女装,SHEIN的品类已经涵盖男装、童装、鞋履、美妆和家居。
“最初在SHEIN买衣服就是因为便宜好看,而且SHEIN的物流比其他电商快,特别像逛十年前的淘宝,很上头,不知不觉就买了不少。”在加拿大生活多年的Phoebe说。有研究显示,SHEIN的客单价达到了70美元,而多数服装售价在20美元以下,最便宜的只有2美元。

身穿SHEIN的宠物狗。图源:受访者
一位运动品牌市场人士说,从女装到全品类,是品牌做大的基本思路,像亚马逊,最初也是从网上书店开始的。基于供应链基础,SHEIN不断扩展子品牌,触达不同消费者的需求。但如果SHEIN停留在低价这个标签上,是很难形成高品牌溢价的。而要提升品牌力,则需要做一些看上去“无意义”的事。
10月17日,SHEIN在美国推出了在线二手转售平台SHEIN Exchange,允许客户交易来自SHEIN的二手服饰。该项目与二手转售平台Treet合作创建,功能试用版目前嵌入在SHEIN应用程序内,仅在美国试运营,预计明年将面向全球更多的市场开放。
美国留学生Amy说,因为SHEIN的衣服便宜好看,所以穿坏了也不心疼,有的衣服属于冲动消费,买回来穿了一两次就不再穿了,闲置下来也会觉得浪费。
事实上,SHEIN为了减少浪费,降低成本已有过不少动作。比如在美国设有海外仓,但海外仓主要功能除了备货,主要是为了处理退货,快时尚行业退货率可能会高达25%。退货的商品经过二次熨烫、包装、消毒等整备操作后,可以二次销售,从而降低货损成本。
一位海外仓负责人则表示,SHEIN非常低调,在和SHEIN的接触中能感受到他们的专业和细致,虽然公司和SHEIN有合作业务,但SHEIN要求细节不对外公开。
此外,去年SHEIN就推出了EvoluSHEIN计划,利用可回收塑料瓶制成的聚酯材料,其供应商均具有全球回收标准(GRS)认证;发起一项5000万美元的基金,用以解决纺织废料管理问题。
北美创讯CEO彭家荣分析,现在SHEIN的规模已经很大了,所以推出二手平台是个很聪明的做法。一方面能帮助SHEIN留住更多用户,在美国,很多人尤其是有孩子的妈妈们,会在Facebook上发布二手信息,SHEIN这个新业务对这部分用户无疑是有吸引力的。另一方面,除了经济效益,开展二手回收也有品牌塑造方面的考量,在欧美民众眼里,纺织服装是高污染行业,回收显然对消费者展示了SHEIN对于塑造品牌环保理念的重视。
“品牌价值的塑造需要做一些看上去投入产出比很低的事情,这几乎是每一个品牌赢得消费者口碑,占领他们心智的必经之路。”上述运动品牌市场部负责人这样说。
SHEIN正在品牌化战略的路上四处出击。SHEIN已经从去年开始尝试开放平台,从女装到整个服装品类再到多种品类的平台型电商,SHEIN正在探索更多可能。
一位在巴西经商多年的人士告诉霞光社,目前SHEIN已经开始招募巴西本土供应商和平台入驻商家,品类包括女装、男装、大码时装、时尚配饰、鞋类、电子产品和家居装饰品。
另外,11月13日,SHEIN全球首个长期线下实体店铺将在日本开业,值得注意的是,店内不直接销售商品,而是供顾客试穿和查看商品,并可扫描二维码在线上购买。
这些动作并不意味着SHEIN会在其他国家市场批量复制。可能的原因是,巴西因为税务问题,市场壁垒比较高,所以供应链基于本地能够获得比较好的政策优惠。而日本受到便利店文化影响,一直以来都是线下经济主导。
显然,打造中高端品牌也是SHEIN正在探索的方向之一,去年4月,SHEIN通过旗下供应链公司的微信公众号宣布,旗下高端品牌SHEIN Premium更名为MOTF,进军快时尚服饰的中高端消费市场;2021年,有消息称,SHEIN在英国高街时尚品牌Topshop母公司竞购的最后阶段临时加入竞标,尽管SHEIN发布声明否认了相关竞标,但从目前情况来看,SHEIN可能意识到性价比路线所剩增长空间已经不多,子品牌的高端化可能是扩展商业版图的合理途径。
2015年,SHEIN提出要做“线上”ZARA,踩着流浪红利,背靠中国成熟高效的供应链,SHEIN仅用了十年就达到了快时尚前辈ZARA和H&M几十年达到的高度。但在销量和规模之外,品牌的塑造似乎更需要慢慢依靠时间沉淀。
从性价比之王到品牌王者,在消费者心中占据一定位置,品牌的价值不可忽视,中国是世界最大的服装生产国和消费国,但中国世界知名的服装品牌寥寥无几,品牌的建设除了产品本身,也需要沉下心来做一些短期看上去“无意义”、不赚钱的事情,SHEIN无疑正走在这条路上。
来源:霞光社
作者|金鄞
编辑|宋函






联系电话:13311666428 / 18938965312