引言:近日,少林寺官网发布通报,称住持释永信涉嫌刑事犯罪,涉及挪用侵占寺院资产和违反佛教戒律,正在接受调查。自1987年起执掌少林寺,释永信多次面临桃色和经济丑闻,少林寺更是在释永信的领导下走向商业化,包括门票收入、武术表演、文创产品等多元化经营,年收入过亿。
释永信,原少林寺住持。其在执掌少林寺期间,力推少林寺商业化。据悉,自1997年释永信成立河南少林寺实业发展有限公司后,少林寺的商业版图便不断扩张,同时横跨文旅、影视、餐饮、药品、服饰等多产业。

1.少林寺商业化的背后——全球知产运营布局
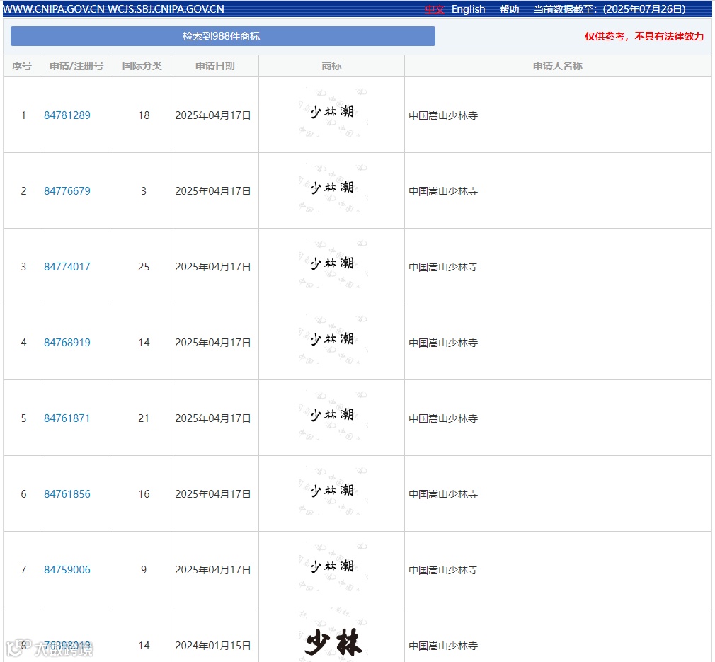
少林寺商业化飞速扩张的背后,离不开其对自身知识产权的认知和保护。在知识产权运营方面,根据国家知识产权商标局中国商标网的数据,截至2022年,中国嵩山少林寺申请商标已达706个。

(数据来源:国家商标局官网)
目前少林寺仅国内商标申请就高达近千件,少林系列商标更是涵盖了商标国际分类45个类别。专利方面,少林寺还有少数专利分布在河南少林寺实业发展有限公司,目前该公司已注销,专利已终止。版权方面,成立少林书局并先后出版了《少林功夫》、《少林功夫文集》、《易筋经》、《洗髓经》等著作。

(数据来源:企查查)
国际方面,除了在重点国家完成商标布局,少林寺还在全球各国建立了分院,在柏林、伦敦等地设立50多个"少林文化中心",采用"会员制+分级收费"模式,仅美国洛杉矶中心年会员收入就超300万美元。
2.什么是知识产权?
知识产权(简称IP)是指人们对其创造性智力成果依法享有的专有权利。这种权利允许权利人在一定期限内独占使用、转让或许可他人使用其智力成果,从而获得经济利益和认可。知识产权主要包括:著作权(主要包括著作权及与著作权有关的邻接权)、专利权、商标权、商业秘密、地理标志等。少林寺大量注册商标的原因,其目的就是要对其自身文化、知识产权进行集中保护,防止 “少林”品牌被滥用。
3.知产合规对跨境卖家的重要性
对跨境卖家而言,知识产权合规是开拓海外市场的前提,也是企业长期布局全球化的必然。全球各国知产法规各有不同,面对当前较为复杂的国际市场环境,各国对商标、专利、版权的保护也越来越严格。如在欧美等发达国家,一旦被判定卖家侵权,卖家可能遭遇高额罚款、产品被扣押销毁、店铺被封,甚至面临刑事指控。

因此,小编在这里提醒各位跨境卖家:及时关注政策变化,在目标市场尽早注册核心商标,防止被恶意抢注,陷入商标纠纷,以免造成巨额损失。对自身产品专利、版权保护也应当高度重视,及时申请,避免产品被仿冒,保护自身创新成果。 如您有商标专利业务等需求,欢迎随时与我们联系。


