昔日风光无两的“华南城四少”之一有棵树,时至今日,却因背负百万债务而被法院判定进行重整,再次引起业内关注。
01有棵树被法院裁定重整
近日,业内消息称,深圳市有棵树科技股份有限公司(以下简称“有棵树”)被长沙市中级人民法院(以下简称“长沙中院”)裁定受理重整申请,正式步入重整程序。

事件的起因是深圳市圆漾电子商务有限公司(以下简称“深圳圆漾”)向有棵树发出的《告知函》。深圳圆漾指出,有棵树因无法清偿到期债务,且已严重资不抵债,同时明显缺乏清偿能力,但考虑到其仍具有重整价值,因此向长沙中院提出了对有棵树的重整申请,并请求先行启动预重整程序。
据悉,有棵树欠深圳圆漾的债务金额为125万元。根据双方早前签署的《和解协议》,有棵树应在2023年10月30日前还清这笔欠款,但直至逾期近一年后,该笔债务仍未得到清偿,迫使深圳圆漾不得不采取法律手段。

在《告知函》送达一周后,有棵树收到了长沙中院的通知书,要求其若对该重整申请有异议,需在规定期限内提出。但对于已经深陷财务泥潭、债台高筑的有棵树而言,或许正期待这样一个重整的机会。
重整对于有棵树而言,意味着可以暂时中止其他诉讼程序下的债务偿还,同时担保债权人对担保物的执行也将被暂停。这将为公司争取到宝贵的调整财务状况的时间,避免立即清偿债务的压力。
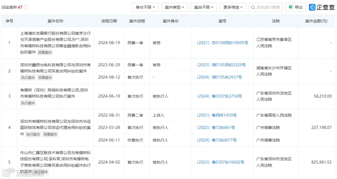
财报数据显示,截至今年上半年,有棵树的总负债高达7.56亿元,其中流动负债达到7.44亿元。此外,有棵树还面临多项因未能偿清而正在诉讼和执行中的巨额债务,如与浦发银行南京分行的4600万元债务、与光大银行南京分行的2640万元债务等。仅今年上半年,有棵树的逾期银行贷款罚息就达到了365万元。

截至今年第一季度,有棵树的银行贷款(含担保)本金余额为3.06亿元,且均已全部逾期。至今年6月,有棵树的所有者权益为-4.37亿元,流动负债高于流动资产5.46亿元,银行借款存在大量逾期。此外,今年上半年,有棵树的实控人还涉及民间借贷纠纷和与广发证券的借款合同纠纷,涉案金额分别达到2.11亿元和1.13亿元。
在如此沉重的债务压力下,有棵树的经营状况也受到了严重影响。今年1-6月,其跨境电商业务复苏不及预期,电商主业的营收较上年仍有所下滑,且整体经营业绩未能实现扭亏为盈,净亏损达到3088万元。
面对困境,有棵树积极配合法院及管理人开展破产预重整工作。通过破产重整,有棵树或可延期偿还或减免部分债务,从而化解逾期债务问题,减轻债务负担。同时,重整还可能让有棵树通过转让营业、资产,核减或增加公司注册资本等措施,改善资产负债结构,提升持续经营能力。
02昔日巨头境遇各异,转型改变才有未来
有棵树,成立于2008年,曾抓住国内人工成本优势和外贸政策机遇,迅速崛起为跨境电商领域的佼佼者。通过快速扩张,成立四年内累计盈利超1.5亿元,并成功吸引资本关注,累计融资达10亿,于2016年挂牌新三板,后转入创业板。
2017年,主营车联网IT服务的A股天泽信息以34亿收购有棵树,借此华丽转身,跨境电商出口业务成为其主营业务。
到2022年,天泽信息更名为有棵树,业绩占比超9成,但市值已大幅萎缩至25亿元。目前,有棵树股价为3.95元,总市值16.67亿,面临重整挑战,若重整不到位,前景堪忧。
回顾昔日华南城大卖也遭遇困境。
环球易购作为曾经的“跨境电商第一股”,在亚马逊风波后连年亏损,宣布破产重组;
赛维时代虽成功上市,但发展势头放缓;
傲基因亚马逊封号影响一度陷入困境,经内部整顿后,2023年营收回升至86.8亿元;
通拓则被华凯易佰收购;
这些行业巨头大卖曾通过铺货模式扩大交易规模,但亚马逊封号事件暴露了该模式的弱点。未来,跨境电商行业将更加标准化和规范化,简单粗暴的规模化铺货模式难以持久。借助国内供应链优势,打造自有品牌,通过独立站等方式摆脱平台制约,才是跨境电商的长久之道。
总而言之,行业正面临深刻变革,昔日巨头需适应新环境,调整战略,才能在激烈竞争中立足。


