

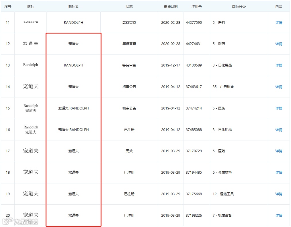
据企查查数据显示,该公司从2016年12月-2020年3月先后注册有109个商标。其中,宠道夫、夫宠到、宠夫道、宠首夫之类40个商标、蒙田大道3个、盼斯兔5个、两条鱼11个、两只鱼8个、两条小鱼3个等,此外,还有瓜皮的ID酱、回忆专用小马甲、郭斯特、酥饼大人、王可可、吾皇的白茶、瓜皮猫、贝多芬等相关词条的商标。
国内外宠物品牌被抢注,主要集中在洗护产品品牌


除了宠道夫,小编还注意到该公司还注册了3个盼斯兔的商标,而petstwo盼斯兔也是宠物行业的一家公司,从宠物服饰进入宠物行业,曾在2002年推出宠物沐浴液。

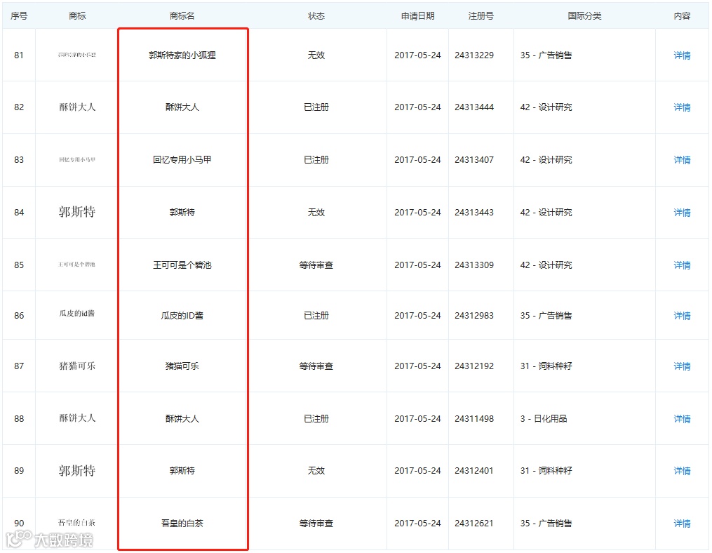
除了宠物行业的企业,还有一些各大平台上的宠物kol的名字也被该公司注册,比如微博宠物KOL、知名大V的回忆专用小马甲,在微博上拥有4092万粉丝;但是“回忆专用小马甲”这个商标已被皇家控股(法國)有限公司在2017年注册,商标分类为设计研究。
除了回忆专用小马甲之外,还有很多微博大V也难逃该公司的商标注册,比如该公司注册的“酥饼大人”是一个在微博上有585万粉丝的萌宠视频博主、“瓜皮的ID酱”是在微博上有712万粉丝的瓜皮猫舍主理人,同样也是一位萌宠博主、“吾皇的白茶”是在微博上拥有460万粉丝的漫画家,其创作的卡通形象吾皇在互联网上倍受热捧。而狗生赢家的“王可可”也没有逃过该公司的注册,2017年5月该公司申请的“王可可”商标在企查查上显示为已注册。

除了这些或已注册或等待审查的商标外,该公司还有一些显示为无效的商标,比如该公司注册的郭斯特商标以及郭斯特家的小狐狸等都显示为无效。不得不说,这家皇家控股(法國)有限公司对于微博上的萌宠KOL们还是有一定的关注和了解的。
对于恶意抢注商标这一事件,我国在近日曾发布规定,要求形成打击非正常专利申请和商标恶意注册、囤积行为的长效机制;推动地方全面取消实用新型、外观设计和商标申请注册环节的资助与奖励。
结语:知识产权目前一直是各个企业的无形资产,大家都要重视起来,不然付出的就是高昂的代价。最后,小编给大家分享一个宠业家群友分享给小编的宠物商标分类,感兴趣的可以收藏一下哦。


